TOP
|
特許
|
意匠
|
商標
特許ウォッチ
Twitter
他の特許を見る
10個以上の画像は省略されています。
公開番号
2025144708
公報種別
公開特許公報(A)
公開日
2025-10-03
出願番号
2024044519
出願日
2024-03-21
発明の名称
コネクタ
出願人
住友電装株式会社
代理人
弁理士法人グランダム特許事務所
主分類
H01R
13/64 20060101AFI20250926BHJP(基本的電気素子)
要約
【課題】フードに切り欠きがあっても第1コネクタ及び第2コネクタを嵌合させる際の作業性を向上させる技術を提供する。
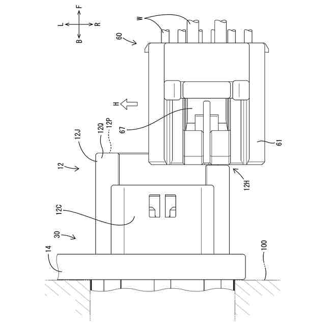
【解決手段】第1コネクタ30は、フード部12を有している。第2コネクタ60は、フード部12に嵌合可能なハウジング61を有している。フード部12は、第1側壁12A及び第2側壁12Bと、第1側壁12A及び第2側壁12Bと直交する方向で互いに対向する上壁12C及び下壁12Dと、を有する。上壁12Cと第1側壁12Aの各前端は、第2側壁12Bの前端よりも後方に位置している。フード部12は、上壁12Cの前端より前方に位置する切り欠き部12Lと、第1側壁12Aの前端より前方に位置する受入部12Hと、を有している。受入部12Hと切り欠き部12Lとは、互いに隣接して連なる。第2側壁12Bは、受入部12Hと対向する位置に、ハウジング61を前後方向の嵌合開始位置に一旦停止させる突当部12Jを有する。
【選択図】図2
特許請求の範囲
【請求項1】
第1コネクタと、第2コネクタと、を備え、
前記第1コネクタは、筒状をなして前方に開放されたフード部を有し、
前記第2コネクタは、前記フード部の内部に嵌合可能なハウジングを有し、
前記フード部は、互いに対向する第1側壁及び第2側壁と、前記第1側壁及び前記第2側壁と直交する方向で互いに対向する上壁及び下壁と、を有し、
前記上壁と前記第1側壁の各々の前端は、前記第2側壁の前端よりも後方に位置し、
前記フード部は、前記上壁の前端よりも前方に位置する切り欠き部と、前記第1側壁の前端よりも前方に位置する受入部と、を有し、
前記受入部と前記切り欠き部とは、互いに隣接して連なり、
前記第2側壁は、前記受入部と対向する位置に、前記ハウジングを嵌合開始位置に停止させる突当部を有している、コネクタ。
続きを表示(約 490 文字)
【請求項2】
前後方向において、前記下壁の前端は、前記第2側壁の前端と同じ位置に配置され、
前記下壁は、前記下壁の前端を含む前端部に、嵌合開始位置で前記ハウジングを支持する支持部を有している、請求項1に記載のコネクタ。
【請求項3】
前記突当部は、嵌合開始位置で前記ハウジングと対向する内面に、前後方向に延びるガイド部を有し、
前記ハウジングは、嵌合開始位置で前記突当部と対向する側面に、前記ガイド部に嵌合可能なガイド受け部を有している、請求項1又は請求項2に記載のコネクタ。
【請求項4】
前記突当部と前記下壁との間には、曲面状の下側角部が形成され、
前記突当部と前記切り欠き部との間にも、曲面状の上側角部が形成されている、請求項1又は請求項2に記載のコネクタ。
【請求項5】
前記ハウジングは、前記フード部にロックするロックアームを有し、前記ロックアームが配置された一面と交差して連なる側面を前記受入部から前記突当部に向かう受入方向において前記突当部に当接させる、請求項1又は請求項2に記載のコネクタ。
発明の詳細な説明
【技術分野】
【0001】
本開示は、コネクタに関する。
続きを表示(約 2,000 文字)
【背景技術】
【0002】
特許文献1には、一方及び他方のコネクタ同士(第1コネクタ及び第2コネクタ同士)を嵌合させるコネクタが開示されている。コネクタに相当する構成物同士を嵌合させる技術は、特許文献2から4にも開示されている。
【先行技術文献】
【特許文献】
【0003】
特開2000-311747号公報
特開平7-282904号公報
特開2002-141145号公報
特開2006-179265号公報
【発明の概要】
【発明が解決しようとする課題】
【0004】
コネクタを嵌合させる場合、フード部の内部にコネクタを嵌合させる作業を行う際に、フード部内に収容された端子を目視しながらフード部に対するコネクタの位置合わせを行うと、嵌合させ易くなると考えられる。この場合、フード部の一部を切り欠く等して、端子の目視を行い易くすることが考えられる。しかし、このようにフード部を切り欠くと、フード部の開口端に対してコネクタを正対させ難くなり、フード部の内部にコネクタを嵌合させる作業の難易度が高まる懸念がある。
【0005】
そこで、本開示は、フードに切り欠きがあっても第1コネクタ及び第2コネクタを嵌合させる際の作業性を向上させる技術を提供することを目的とする。
【課題を解決するための手段】
【0006】
本開示のコネクタは、
第1コネクタと、第2コネクタと、を備え、
前記第1コネクタは、筒状をなして前方に開放されたフード部を有し、
前記第2コネクタは、前記フード部の内部に嵌合可能なハウジングを有し、
前記フード部は、互いに対向する第1側壁及び第2側壁と、前記第1側壁及び前記第2側壁と直交する方向で互いに対向する上壁及び下壁と、を有し、
前記上壁と前記第1側壁の各々の前端は、前記第2側壁の前端よりも後方に位置し、
前記フード部は、前記上壁の前端よりも前方に位置する切り欠き部と、前記第1側壁の前端よりも前方に位置する受入部と、を有し、
前記受入部と前記切り欠き部とは、互いに隣接して連なり、
前記第2側壁は、前記受入部と対向する位置に、前記ハウジングを嵌合開始位置に停止させる突当部を有している。
【発明の効果】
【0007】
本開示によれば、フードに切り欠きがあっても第1コネクタ及び第2コネクタを嵌合させる際の作業性を向上させることができる。
【図面の簡単な説明】
【0008】
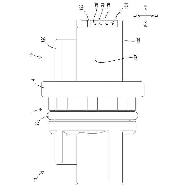
図1は、本実施形態に係るコネクタを示す分解斜視図である。
図2は、第1コネクタを示す斜視図である。
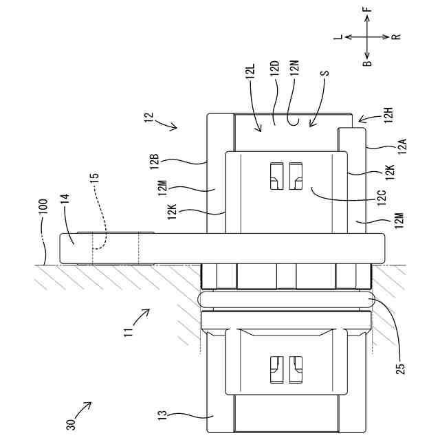
図3は、第1コネクタを示す平面図である。
図4は、第1コネクタを示す側面図である。
図5は、第2コネクタを示す斜視図である。
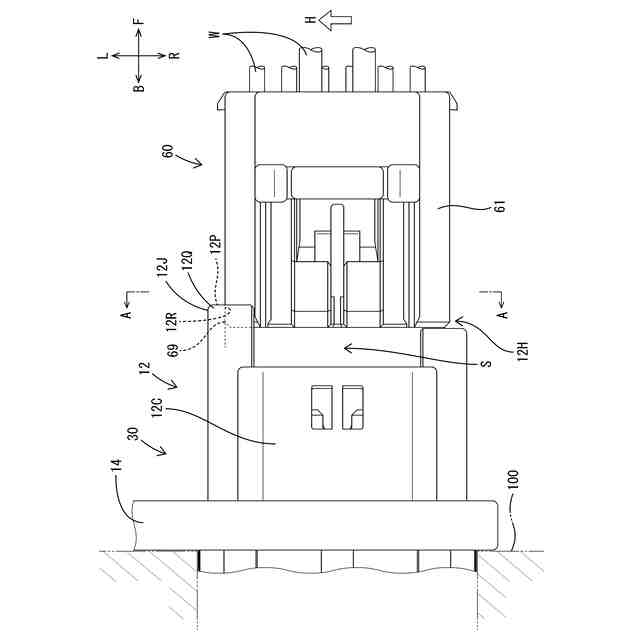
図6は、第2コネクタのハウジングを第1コネクタの受入部から進入させるスライド動作を行う途中を示す平面図である。
図7は、スライド動作が完了し第1コネクタ及び第2コネクタが嵌合開始位置に配置された状態を示す平面図である。
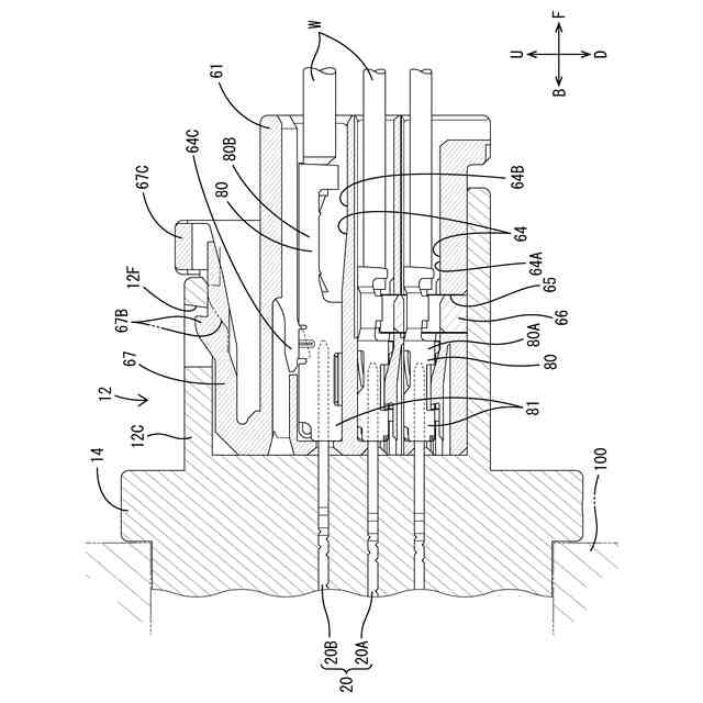
図8は、図7におけるA-A断面図である。
図9は、第1コネクタ及び第2コネクタにおける嵌合動作が完了した状態を示す側断面図である。
【発明を実施するための形態】
【0009】
[本開示の実施形態の説明]
最初に本開示の実施態様を列記して説明する。
(1)第1コネクタと、第2コネクタと、を備え、
前記第1コネクタは、筒状をなして前方に開放されたフード部を有し、
前記第2コネクタは、前記フード部の内部に嵌合可能なハウジングを有し、
前記フード部は、互いに対向する第1側壁及び第2側壁と、前記第1側壁及び前記第2側壁と直交する方向で互いに対向する上壁及び下壁と、を有し、
前記上壁と前記第1側壁の各々の前端は、前記第2側壁の前端よりも後方に位置し、
前記フード部は、前記上壁の前端よりも前方に位置する切り欠き部と、前記第1側壁の前端よりも前方に位置する受入部と、を有し、
前記受入部と前記切り欠き部とは、互いに隣接して連なり、
前記第2側壁は、前記受入部と対向する位置に、前記ハウジングを嵌合開始位置に停止させる突当部を有している、コネクタ。
【0010】
(1)のコネクタは、第2コネクタのハウジングを第1コネクタの受入部から突当部に向けて進入させて、ハウジングの側面を突当部に突き当てて嵌合開始位置にハウジングを一旦停止させることによって、第1コネクタ及び第2コネクタを正対させ易い。
(【0011】以降は省略されています)
この特許をJ-PlatPat(特許庁公式サイト)で参照する
関連特許
住友電装株式会社
端子台
6日前
住友電装株式会社
コネクタ
1か月前
住友電装株式会社
コネクタ
16日前
住友電装株式会社
コネクタ
6日前
住友電装株式会社
コネクタ
6日前
住友電装株式会社
コネクタ
6日前
住友電装株式会社
コネクタ
6日前
住友電装株式会社
コネクタ
9日前
住友電装株式会社
コネクタ
1か月前
住友電装株式会社
コネクタ
2日前
住友電装株式会社
コネクタ
6日前
住友電装株式会社
コネクタ
2日前
住友電装株式会社
コネクタ
17日前
住友電装株式会社
コネクタ
1か月前
住友電装株式会社
コネクタ
26日前
住友電装株式会社
コネクタ
1か月前
住友電装株式会社
コネクタ
1か月前
住友電装株式会社
端子金具
1か月前
住友電装株式会社
コネクタ
6日前
住友電装株式会社
電気接続箱
1か月前
住友電装株式会社
中継コネクタ
1か月前
住友電装株式会社
中継コネクタ
1か月前
住友電装株式会社
中継コネクタ
27日前
住友電装株式会社
充電コネクタ
25日前
住友電装株式会社
ワイヤハーネス
9日前
住友電装株式会社
ワイヤハーネス
1か月前
住友電装株式会社
ワイヤハーネス
1か月前
住友電装株式会社
充電インレット
1か月前
住友電装株式会社
ワイヤハーネス
26日前
住友電装株式会社
コネクタユニット
17日前
住友電装株式会社
シールドコネクタ
1か月前
住友電装株式会社
コネクタユニット
27日前
住友電装株式会社
コネクタアセンブリ
4日前
住友電装株式会社
ダミー栓およびコネクタ
4日前
住友電装株式会社
コネクタ及びコネクタ装置
1か月前
住友電装株式会社
コネクタ及びコネクタ装置
1か月前
続きを見る
他の特許を見る