TOP
|
特許
|
意匠
|
商標
特許ウォッチ
Twitter
他の特許を見る
公開番号
2025142576
公報種別
公開特許公報(A)
公開日
2025-10-01
出願番号
2024042021
出願日
2024-03-18
発明の名称
ダミー栓およびコネクタ
出願人
住友電装株式会社
代理人
弁理士法人グランダム特許事務所
主分類
H01R
13/52 20060101AFI20250924BHJP(基本的電気素子)
要約
【課題】シール部材のシール性を低下させることなくシール孔からの抜け出しを抑制可能なダミー栓およびコネクタを提供する。
【解決手段】ダミー栓60は、前後方向に延びる栓本体部61と、栓本体部61の後方に連続して形成される挿入部62と、栓本体部61の前方に連続して形成される大径部64と、を備える。挿入部62は、シール部材50の後方に配置される後壁部23の貫通孔26に配置される。栓本体部61は、シール孔52に液密に配置される。大径部64は、シール孔52の内周リップ53の全周に前方から対向するように栓本体部61よりも大径に形成されている。
【選択図】図1
特許請求の範囲
【請求項1】
シール部材を前後方向に貫通するシール孔に対して前記前後方向に軸線を向けて配置されるダミー栓であって、
前記前後方向に延びる栓本体部と、
前記栓本体部の後方に連続して形成される挿入部と、
前記栓本体部の前方に連続して形成される大径部と、を備え、
前記挿入部は、前記シール部材の後方に配置される後壁部の貫通孔に配置され、
前記栓本体部は、前記シール孔に液密に配置され、
前記大径部は、前記シール孔に形成された内周リップの全周に前方から対向するように前記栓本体部よりも大径に形成されている、ダミー栓。
続きを表示(約 550 文字)
【請求項2】
前記大径部における前記内周リップと対向する面は、前記前後方向と直交する径方向に対し、径方向外側へ行くに従って前方に傾斜している、請求項1に記載のダミー栓。
【請求項3】
前記挿入部は、円周状の外周面を有する挿入本体部と、前記挿入本体部の前記外周面から突出して前記前後方向に延びる複数の圧入突部と、を有し、
複数の前記圧入突部は、前記挿入本体部の前記外周面に周方向に間隔をあけて配置されている、請求項1に記載のダミー栓。
【請求項4】
複数の前記圧入突部は、前記前後方向と直交する径方向に沿った断面形状が円弧形状をなしている、請求項3に記載のダミー栓。
【請求項5】
請求項4に記載のダミー栓と、前記シール部材と、前記後壁部と、を備え、
前記シール部材の前記シール孔の内部において、前記内周リップが前記大径部に密着し、
前記後壁部の前記貫通孔の内周面における前記周方向に間隔をあけた複数箇所に、前記圧入突部が接触している、コネクタ。
【請求項6】
前記後壁部の前記貫通孔の前記内周面は、前記前後方向と直交する径方向に沿った断面形状が上下非対称且つ左右非対称である、請求項5に記載のコネクタ。
発明の詳細な説明
【技術分野】
【0001】
本開示は、ダミー栓およびコネクタに関する。
続きを表示(約 1,800 文字)
【背景技術】
【0002】
特許文献1は記載されたダミーピン(以下、「ダミー栓」と称する)は、前後方向に軸線を向けて配置されるピン本体を備えている。ピン本体は、防水部と、防水部の前方に連続する抜け止め部と、を有している。防水部は、防水部材(以下、「シール部材」と称する)のシール孔に液密に配置される。抜け止め部は、上下一対の凹部を有している。特許文献1には、シール部材のリップ部(以下、「内周リップ」と称する)が抜け止め部の凹部に入り込むことにより、ダミー栓がシール部材に抜け止めされる旨、記載されている。ダミー栓は、特許文献2-4にも記載されている。
【先行技術文献】
【特許文献】
【0003】
特開2019-204602号公報
特開2012-190632号公報
特開2021-157949号公報
特開2023-28641号公報
【発明の概要】
【発明が解決しようとする課題】
【0004】
特許文献1の場合、内周リップの上下端部が対応する凹部に入り込むに過ぎないので、ダミー栓を抜け止めするのに十分な保持力を得にくいという事情がある。また、内周リップが凹部に入り込む分だけ内周リップの圧縮量が減少するので、シール性が低下する懸念もある。
【0005】
そこで、本開示は、シール部材のシール性を低下させることなくシール孔からの抜け出しを抑制可能なダミー栓およびコネクタを提供することを目的とする。
【課題を解決するための手段】
【0006】
本開示のダミー栓は、シール部材を前後方向に貫通するシール孔に対して前記前後方向に軸線を向けて配置されるダミー栓であって、前記前後方向に延びる栓本体部と、前記栓本体部の後方に連続して形成される挿入部と、前記栓本体部の前方に連続して形成される大径部と、を備え、前記挿入部は、前記シール部材の後方に配置される後壁部の貫通孔に配置され、前記栓本体部は、前記シール孔に液密に配置され、前記大径部は、前記シール孔に形成された内周リップの全周に前方から対向するように前記栓本体部よりも大径に形成されている、ダミー栓である。
【発明の効果】
【0007】
本開示によれば、シール部材のシール性を低下させることなくシール孔からの抜け出しを抑制可能なダミー栓およびコネクタを提供することが可能となる。
【図面の簡単な説明】
【0008】
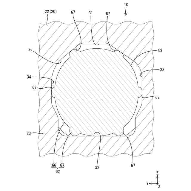
図1は、本実施形態1のコネクタにおいて、ダミー栓が後壁部の貫通孔とシール部材のシール孔とにわたって正規に配置された状態を拡大して示す側断面図である。
図2は、本実施形態1のコネクタにおいて、ダミー栓の挿入部が後壁部の貫通孔に配置された状態を拡大して示す横断面図である。
図3は、本実施形態1のダミー栓を斜め上前方から見た斜視図である。
図4は、本実施形態1のダミー栓を斜め上後方から見た斜視図である。
図5は、本実施形態1のダミー栓の正面図である。
【発明を実施するための形態】
【0009】
[本開示の実施形態の説明]
最初に本開示の実施態様を列記して説明する。
本開示のダミー栓は、
(1)シール部材を前後方向に貫通するシール孔に対して前記前後方向に軸線を向けて配置されるダミー栓であって、前記前後方向に延びる栓本体部と、前記栓本体部の後方に連続して形成される挿入部と、前記栓本体部の前方に連続して形成される大径部と、を備え、前記挿入部は、前記シール部材の後方に配置される後壁部の貫通孔に配置され、前記栓本体部は、前記シール孔に液密に配置され、前記大径部は、前記シール孔に形成された内周リップの全周に前方から対向するように前記栓本体部よりも大径に形成されている。
【0010】
大径部が内周リップの全周に前方から対向して接触可能(押圧可能)となることにより、ダミー栓の後方への抜け出しを確実性をもって抑制できる。特に、内周リップが栓本体部よりも大径の大径部に接触するので、内周リップの圧縮量が減少することもなく、シール部材のシール性が低下するのを防止できる。
(【0011】以降は省略されています)
この特許をJ-PlatPat(特許庁公式サイト)で参照する
関連特許
住友電装株式会社
端子
1か月前
住友電装株式会社
端子台
4日前
住友電装株式会社
コネクタ
7日前
住友電装株式会社
コネクタ
14日前
住友電装株式会社
コネクタ
15日前
住友電装株式会社
コネクタ
24日前
住友電装株式会社
コネクタ
28日前
住友電装株式会社
端子金具
1か月前
住友電装株式会社
コネクタ
4日前
住友電装株式会社
コネクタ
4日前
住友電装株式会社
コネクタ
4日前
住友電装株式会社
コネクタ
4日前
住友電装株式会社
コネクタ
4日前
住友電装株式会社
コネクタ
4日前
住友電装株式会社
コネクタ
1か月前
住友電装株式会社
コネクタ
1か月前
住友電装株式会社
コネクタ
1か月前
住友電装株式会社
コネクタ
1か月前
住友電装株式会社
電気接続箱
1か月前
住友電装株式会社
中継コネクタ
1か月前
住友電装株式会社
中継コネクタ
1か月前
住友電装株式会社
充電コネクタ
23日前
住友電装株式会社
中継コネクタ
25日前
住友電装株式会社
ワイヤハーネス
1か月前
住友電装株式会社
ワイヤハーネス
1か月前
住友電装株式会社
充電インレット
1か月前
住友電装株式会社
ワイヤハーネス
24日前
住友電装株式会社
ワイヤハーネス
1か月前
住友電装株式会社
ワイヤハーネス
7日前
住友電装株式会社
シールドコネクタ
1か月前
住友電装株式会社
コネクタユニット
25日前
住友電装株式会社
コネクタユニット
15日前
住友電装株式会社
コネクタアセンブリ
2日前
住友電装株式会社
ダミー栓およびコネクタ
2日前
住友電装株式会社
コネクタ及びコネクタ装置
1か月前
住友電装株式会社
コネクタ及びコネクタ装置
1か月前
続きを見る
他の特許を見る