TOP
|
特許
|
意匠
|
商標
特許ウォッチ
Twitter
他の特許を見る
公開番号
2025155152
公報種別
公開特許公報(A)
公開日
2025-10-14
出願番号
2024058739
出願日
2024-04-01
発明の名称
端子台
出願人
住友電装株式会社
代理人
弁理士法人暁合同特許事務所
主分類
H01R
13/44 20060101AFI20251006BHJP(基本的電気素子)
要約
【課題】別部品を使用せず、端子台のサイズが大きくなることを回避しつつ、触指対策を行う。
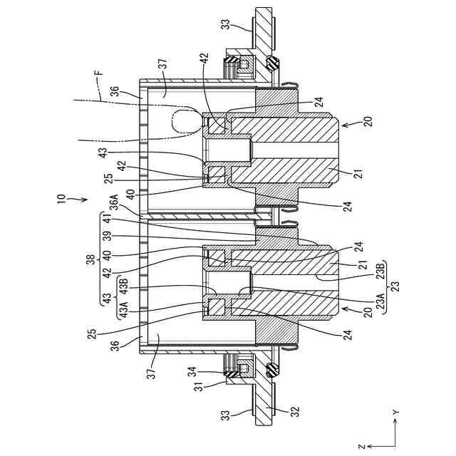
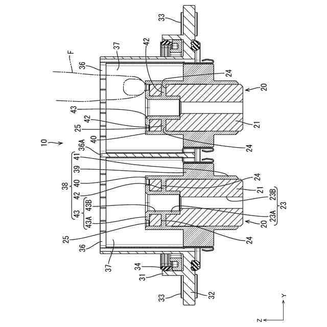
【解決手段】本開示の端子台10は、筒状端子20と、筒状端子20を保持するハウジング30と、を備えた端子台10であって、筒状端子20は、軸方向にのびる端子本体21と、端子本体21の軸方向AD一端において環状に形成された締結座面25と、を有し、ハウジング30は、締結座面25の内側に形成された内側絶縁壁43と、締結座面25の外側に形成された外側絶縁壁40と、内側絶縁壁43と外側絶縁壁40を連結する連結壁42と、を有する。
【選択図】図3
特許請求の範囲
【請求項1】
筒状端子と、
前記筒状端子を保持するハウジングと、を備えた端子台であって、
前記筒状端子は、軸方向にのびる端子本体と、前記端子本体の軸方向一端において環状に形成された締結座面と、を有し、
前記ハウジングは、前記締結座面の内側に形成された内側絶縁壁と、前記締結座面の外側に形成された外側絶縁壁と、前記内側絶縁壁と前記外側絶縁壁を連結する連結壁と、を有する、端子台。
続きを表示(約 380 文字)
【請求項2】
前記筒状端子は、前記内側絶縁壁と前記外側絶縁壁の間を貫通して形成された貫通孔をさらに有し、
前記連結壁は、前記貫通孔に形成される、請求項1に記載の端子台。
【請求項3】
前記締結座面は、筒状の接点部材を介して相手端子に接続されている、請求項1または請求項2に記載の端子台。
【請求項4】
前記筒状端子は、ボルトが締結されるボルト孔を有し、
前記内側絶縁壁は、前記ボルト孔の開口縁部に形成された第1内側絶縁壁と、前記ボルト孔の内面に形成された第2内側絶縁壁と、を有する、請求項1または請求項2に記載の端子台。
【請求項5】
前記ボルト孔は、前記ボルトに接触しない隙間を有する非接触部分を有し、
前記第2内側絶縁壁は、前記非接触部分に位置している、請求項4に記載の端子台。
発明の詳細な説明
【技術分野】
【0001】
本開示は、端子台に関する。
続きを表示(約 1,600 文字)
【背景技術】
【0002】
機器に取り付けられる端子台として、例えば特開2019-16448号公報(下記特許文献1)に記載のものが知られている。この端子台は、バスバーと、このバスバーを一体に保持する樹脂部と、を備える。バスバーは全体としてL字状に屈曲された帯板状をなしており、一端側が第1接続部とされ、他端側が第2接続部とされている。第1接続部と第2接続部との間は、上下方向にのびる中継部とされている。バスバーの中継部は、樹脂部によりモールドされている。
【先行技術文献】
【特許文献】
【0003】
特開2019-16448号公報
【発明の概要】
【発明が解決しようとする課題】
【0004】
上記の端子台において触指対策を実施しようとすると、第1接続部の周辺を樹脂で覆うか、別部品が必要となる。別部品を使用して触指対策を実施しようとすると、別部品を保持するための構造を端子に形成する必要があるため、構造が複雑化してコストが高くなる。また、第1接続部の周辺を樹脂で覆いつつ接触面積を確保するために全体構造を大きくする必要がある。
【課題を解決するための手段】
【0005】
本開示の端子台は、筒状端子と、前記筒状端子を保持するハウジングと、を備えた端子台であって、前記筒状端子は、軸方向にのびる端子本体と、前記端子本体の軸方向一端において環状に形成された締結座面と、を有し、前記ハウジングは、前記締結座面の内側に形成された内側絶縁壁と、前記締結座面の外側に形成された外側絶縁壁と、前記内側絶縁壁と前記外側絶縁壁を連結する連結壁と、を有する、端子台である。
【発明の効果】
【0006】
本開示によれば、別部品を使用せず、端子台のサイズが大きくなることを回避しつつ、触指対策を行うことができる。
【図面の簡単な説明】
【0007】
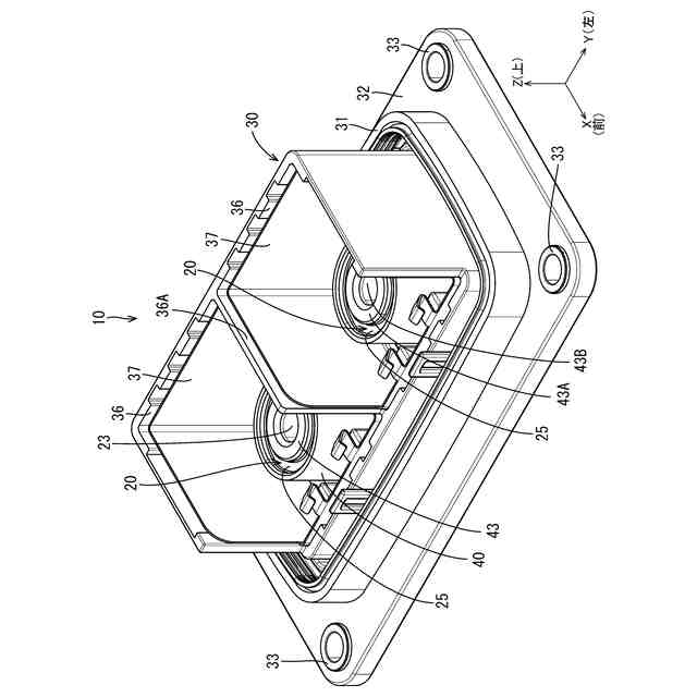
図1は、端子台の斜視図である。
図2は、端子台の平面図である。
図3は、図2のA-A断面図である。
図4は、端子台に電線側端子を締結した状態を示す断面図である。
図5は、端子台に指を近づけた様子を示す断面図である。
図6は、筒状端子の斜視図である。
図7は、筒状端子の正面図である。
図8は、図7のB-B断面図である。
【発明を実施するための形態】
【0008】
[本開示の実施形態の説明]
最初に本開示の実施態様を列挙して説明する。
[1]本開示の端子台は、筒状端子と、前記筒状端子を保持するハウジングと、を備えた端子台であって、前記筒状端子は、軸方向にのびる端子本体と、前記端子本体の軸方向一端において環状に形成された締結座面と、を有し、前記ハウジングは、前記締結座面の内側に形成された内側絶縁壁と、前記締結座面の外側に形成された外側絶縁壁と、前記内側絶縁壁と前記外側絶縁壁を連結する連結壁と、を有する。
【0009】
締結座面の内側と外側にそれぞれ絶縁壁が形成されているから、これらの絶縁壁によって触指対策を行うことができる。内側絶縁壁と外側絶縁壁は連結壁によって連結されているから、これらをハウジングの一部として一体に構成できる。このようにすれば、別部品を使用せず、端子台のサイズが大きくなることを回避しつつ、触指対策を行うことができる。
【0010】
[2]上記[1]において、前記筒状端子は、前記内側絶縁壁と前記外側絶縁壁の間を貫通して形成された貫通孔をさらに有し、前記連結壁は、前記貫通孔に形成されることが好ましい。
連結壁が貫通孔に形成されているから、連結壁が筒状端子に対して強固に保持され、内側絶縁壁と外側絶縁壁を筒状端子に対して強固に保持できる。
(【0011】以降は省略されています)
この特許をJ-PlatPat(特許庁公式サイト)で参照する
関連特許
住友電装株式会社
端子台
7日前
住友電装株式会社
コネクタ
18日前
住友電装株式会社
コネクタ
18日前
住友電装株式会社
コネクタ
11日前
住友電装株式会社
プロテクタ
12日前
住友電装株式会社
コネクタアセンブリ
20日前
住友電装株式会社
ダミー栓およびコネクタ
20日前
住友電装株式会社
ブラケット付きコネクタ
14日前
住友電装株式会社
電気接続箱および制御ユニット
13日前
住友電装株式会社
端子台、及び端子台の製造方法
13日前
住友電装株式会社
コネクタ及びコネクタアセンブリ
20日前
住友電装株式会社
プロテクタ、及びワイヤハーネス
18日前
住友電装株式会社
絶縁構造体、及びワイヤハーネス
18日前
トヨタ自動車株式会社
車両の制御装置
19日前
株式会社オートネットワーク技術研究所
コネクタ
14日前
株式会社オートネットワーク技術研究所
コネクタ
14日前
株式会社オートネットワーク技術研究所
コネクタ
14日前
株式会社オートネットワーク技術研究所
車載装置
12日前
株式会社オートネットワーク技術研究所
コネクタ
12日前
株式会社オートネットワーク技術研究所
接続構造体
12日前
株式会社オートネットワーク技術研究所
コネクタ装置
12日前
株式会社オートネットワーク技術研究所
コネクタ装置
12日前
株式会社オートネットワーク技術研究所
コネクタ装置
14日前
株式会社オートネットワーク技術研究所
コネクタ装置
14日前
株式会社オートネットワーク技術研究所
ワイヤハーネス
18日前
株式会社オートネットワーク技術研究所
車載用制御装置
5日前
株式会社オートネットワーク技術研究所
バスバー締結構造
18日前
株式会社オートネットワーク技術研究所
バスバー締結構造
18日前
住友電装株式会社
電気接続箱
4日前
株式会社オートネットワーク技術研究所
ジョイントコネクタ
18日前
株式会社オートネットワーク技術研究所
コネクタのガイド構造
12日前
住友電装株式会社
ワイヤハーネス
18日前
株式会社オートネットワーク技術研究所
機器モジュールの取付構造
13日前
住友電気工業株式会社
センサシステム、座席、及びセンサユニット
14日前
株式会社オートネットワーク技術研究所
端子材料および電気接続端子
7日前
株式会社オートネットワーク技術研究所
端子材料および電気接続端子
7日前
続きを見る
他の特許を見る