TOP
|
特許
|
意匠
|
商標
特許ウォッチ
Twitter
他の特許を見る
10個以上の画像は省略されています。
公開番号
2025147224
公報種別
公開特許公報(A)
公開日
2025-10-06
出願番号
2025132459,2023529527
出願日
2025-08-07,2022-03-04
発明の名称
変倍光学系、光学機器、および変倍光学系の製造方法
出願人
株式会社ニコン
代理人
個人
,
個人
,
個人
,
個人
主分類
G02B
15/20 20060101AFI20250926BHJP(光学)
要約
【課題】 小型軽量化を実現しつつ良好な光学性能を有する変倍光学系を提供する。
【解決手段】 変倍光学系(ZL)は、光軸に沿って物体側から順に並んだ、正の屈折力を有する第1レンズ群(G1)と、負の屈折力を有する第2レンズ群(G2)と、正の屈折力を有する第3レンズ群(G3)と、負の屈折力を有する第4レンズ群(G4)と、負の屈折力を有する第5レンズ群(G5)とを有し、変倍の際に、隣り合う各レンズ群の間隔が変化し、第4レンズ群(G4)は、合焦の際に光軸に沿って移動する合焦レンズ群であり、以下の条件式を満足する。
0.11<f4/f5<0.70
但し、f4:第4レンズ群(G4)の焦点距離
f5:第5レンズ群(G5)の焦点距離
【選択図】 図1
特許請求の範囲
【請求項1】
光軸に沿って物体側から順に並んだ、正の屈折力を有する第1レンズ群と、負の屈折力を有する第2レンズ群と、正の屈折力を有する第3レンズ群と、負の屈折力を有する第4レンズ群と、負の屈折力を有する第5レンズ群とを有し、
変倍の際に、隣り合う各レンズ群の間隔が変化し、
前記第4レンズ群は、合焦の際に光軸に沿って移動する合焦レンズ群であり、
以下の条件式を満足する変倍光学系。
0.11<f4/f5<0.70
但し、f4:前記第4レンズ群の焦点距離
f5:前記第5レンズ群の焦点距離
発明の詳細な説明
【技術分野】
【0001】
本発明は、変倍光学系、光学機器、および変倍光学系の製造方法に関する。
続きを表示(約 2,300 文字)
【背景技術】
【0002】
従来から、写真用カメラ、電子スチルカメラ、ビデオカメラ等に適した変倍光学系が提案されている(例えば、特許文献1を参照)。このような変倍光学系においては、小型軽量化を実現しつつ良好な光学性能を得ることが難しい。
【先行技術文献】
【特許文献】
【0003】
特開2014-228808号公報
【発明の概要】
【0004】
第1の本発明に係る変倍光学系は、光軸に沿って物体側から順に並んだ、正の屈折力を有する第1レンズ群と、負の屈折力を有する第2レンズ群と、正の屈折力を有する第3レンズ群と、負の屈折力を有する第4レンズ群と、負の屈折力を有する第5レンズ群とを有し、変倍の際に、隣り合う各レンズ群の間隔が変化し、前記第4レンズ群は、合焦の際に光軸に沿って移動する合焦レンズ群であり、以下の条件式を満足する。
0.11<f4/f5<0.70
但し、f4:前記第4レンズ群の焦点距離
f5:前記第5レンズ群の焦点距離
【0005】
第2の本発明に係る変倍光学系は、光軸に沿って物体側から順に並んだ、正の屈折力を有する第1レンズ群と、負の屈折力を有する第2レンズ群と、少なくとも1つのレンズ群を有して正の屈折力を有する中間群と、負の屈折力を有する合焦レンズ群と、少なくとも1つのレンズ群を有する後群とからなり、変倍の際に、隣り合う各レンズ群の間隔が変化し、前記合焦レンズ群は、合焦の際に光軸に沿って移動し、以下の条件式を満足する。
0.30<(-f2)/fMt<0.80
0.01<Bfw/fw<0.95
但し、f2:前記第2レンズ群の焦点距離
fMt:望遠端状態における前記中間群の焦点距離
Bfw:広角端状態における前記変倍光学系のバックフォーカス
fw:広角端状態における前記変倍光学系の焦点距離
【0006】
本発明に係る光学機器は、上記変倍光学系を備えて構成される。
【0007】
本発明に係る変倍光学系の製造方法は、光軸に沿って物体側から順に並んだ、正の屈折力を有する第1レンズ群と、負の屈折力を有する第2レンズ群と、正の屈折力を有する第3レンズ群と、負の屈折力を有する第4レンズ群と、負の屈折力を有する第5レンズ群とを有する変倍光学系の製造方法であって、変倍の際に、隣り合う各レンズ群の間隔が変化し、前記第4レンズ群は、合焦の際に光軸に沿って移動する合焦レンズ群であり、以下の条件式を満足するように、レンズ鏡筒内に各レンズを配置する。
0.11<f4/f5<0.70
但し、f4:前記第4レンズ群の焦点距離
f5:前記第5レンズ群の焦点距離
【図面の簡単な説明】
【0008】
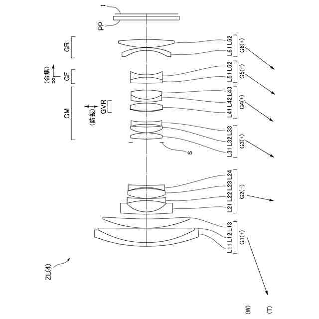
第1実施例に係る変倍光学系のレンズ構成を示す図である。
図2(A)、図2(B)はそれぞれ、第1実施例に係る変倍光学系の広角端状態、望遠端状態における無限遠合焦時の諸収差図である。
第2実施例に係る変倍光学系のレンズ構成を示す図である。
図4(A)、図4(B)はそれぞれ、第2実施例に係る変倍光学系の広角端状態、望遠端状態における無限遠合焦時の諸収差図である。
第3実施例に係る変倍光学系のレンズ構成を示す図である。
図6(A)、図6(B)はそれぞれ、第3実施例に係る変倍光学系の広角端状態、望遠端状態における無限遠合焦時の諸収差図である。
第4実施例に係る変倍光学系のレンズ構成を示す図である。
図8(A)、図8(B)はそれぞれ、第4実施例に係る変倍光学系の広角端状態、望遠端状態における無限遠合焦時の諸収差図である。
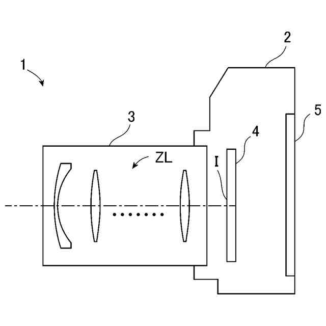
各実施形態に係る変倍光学系を備えたカメラの構成を示す図である。
第1実施形態に係る変倍光学系の製造方法を示すフローチャートである。
第2実施形態に係る変倍光学系の製造方法を示すフローチャートである。
【発明を実施するための形態】
【0009】
以下、本発明に係る好ましい実施形態について説明する。まず、各実施形態に係る変倍光学系を備えたカメラ(光学機器)を図9に基づいて説明する。このカメラ1は、図9に示すように、本体2と、本体2に装着される撮影レンズ3により構成される。本体2は、撮像素子4と、デジタルカメラの動作を制御する本体制御部(不図示)と、液晶画面5とを備える。撮影レンズ3は、複数のレンズ群からなる変倍光学系ZLと、各レンズ群の位置を制御するレンズ位置制御機構(不図示)とを備える。レンズ位置制御機構は、レンズ群の位置を検出するセンサと、レンズ群を光軸に沿って前後に移動させるモータと、モータを駆動する制御回路などにより構成される。
【0010】
被写体からの光は、撮影レンズ3の変倍光学系ZLにより集光されて、撮像素子4の像面I上に到達する。像面Iに到達した被写体からの光は、撮像素子4により光電変換され、デジタル画像データとして不図示のメモリに記録される。メモリに記録されたデジタル画像データは、ユーザの操作に応じて液晶画面5に表示することが可能である。なお、このカメラは、ミラーレスカメラでも、クイックリターンミラーを有した一眼レフタイプのカメラであっても良い。また、図9に示す変倍光学系ZLは、撮影レンズ3に備えられる変倍光学系を模式的に示したものであり、変倍光学系ZLのレンズ構成はこの構成に限定されるものではない。
(【0011】以降は省略されています)
この特許をJ-PlatPat(特許庁公式サイト)で参照する
関連特許
株式会社ニコン
撮像素子
10日前
株式会社ニコン
撮像素子及び撮像装置
7日前
株式会社ニコン
撮像素子及び撮像装置
10日前
株式会社ニコン
変倍光学系および光学機器
12日前
株式会社ニコン
撮像ユニットおよび撮像装置
7日前
株式会社ニコン
変倍光学系、光学機器、および変倍光学系の製造方法
7日前
株式会社ニコン
画像処理方法、画像処理装置、及び画像処理プログラム
7日前
東レ株式会社
積層フィルム
5日前
アイカ工業株式会社
反射防止フィルム
11日前
スタンレー電気株式会社
照明装置
6日前
日本電気株式会社
光集積回路素子
3日前
インターマン株式会社
立体映像表示装置
24日前
日東電工株式会社
調光フィルム
4日前
住友化学株式会社
積層体
3日前
日本精機株式会社
ヘッドアップディスプレイ装置
4日前
旭化成株式会社
成形体
10日前
旭化成株式会社
成形体
10日前
日本分光株式会社
赤外顕微鏡
10日前
キヤノン株式会社
画像表示装置
10日前
キヤノン株式会社
レンズ装置および撮像装置
4日前
キヤノン株式会社
レンズ装置および撮像装置
12日前
住友ベークライト株式会社
積層体の製造方法
4日前
Orbray株式会社
MEMS光スイッチの制御方法
4日前
レーザーテック株式会社
検査装置及び検査方法
14日前
古河電気工業株式会社
光モジュール、光接続構造
4日前
住友化学株式会社
偏光板及び画像表示装置
5日前
キヤノン株式会社
表示装置
17日前
京セラ株式会社
走査装置及び制御装置
3日前
キヤノン株式会社
光学系及び撮像装置
18日前
日東電工株式会社
積層光学部材及び光学装置
3日前
TDK株式会社
メタサーフェスレンズ
3日前
京セラ株式会社
走査装置及び制御装置
3日前
住友ベークライト株式会社
光学シート
3日前
株式会社精工技研
光コネクタプラグおよびロック工具
5日前
国立大学法人徳島大学
光共振器、及び光周波数コム発生装置
4日前
国立大学法人徳島大学
光共振器、及び光周波数コム発生装置
4日前
続きを見る
他の特許を見る