TOP
|
特許
|
意匠
|
商標
特許ウォッチ
Twitter
他の特許を見る
10個以上の画像は省略されています。
公開番号
2025147199
公報種別
公開特許公報(A)
公開日
2025-10-06
出願番号
2025131787,2024066068
出願日
2025-08-06,2015-12-01
発明の名称
撮像素子及び撮像装置
出願人
株式会社ニコン
代理人
個人
主分類
H04N
25/77 20230101AFI20250926BHJP(電気通信技術)
要約
【課題】1つの画素にある2つの光電変換部の蓄積時間をそれぞれ変更して撮像を行うことは困難である。
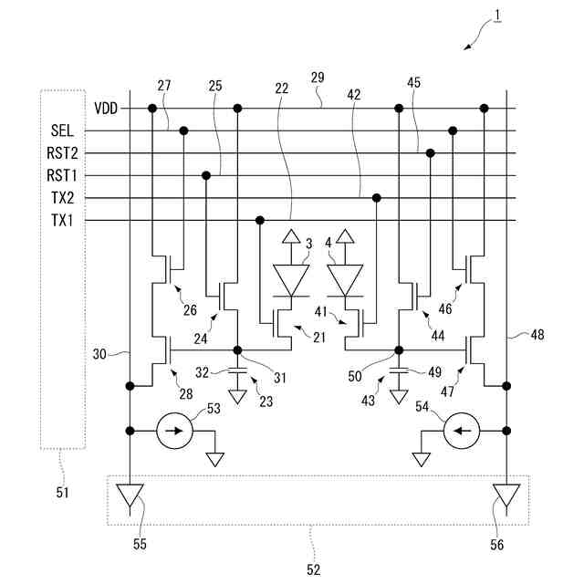
【解決手段】撮像素子は、第5トランジスタと第6トランジスタとに制御信号を出力する第1制御線を備える。撮像素子は、第7トランジスタと第8トランジスタとに制御信号を出力する第2制御線を備える。撮像素子は、第1トランジスタと第3トランジスタとに第1信号線を介して電流を供給する第1電流源を備える。撮像素子は、第2トランジスタと第4トランジスタとに第2信号線を介して電流を供給する第2電流源を備える。
【選択図】図2
特許請求の範囲
【請求項1】
光が入射される第1マイクロレンズと、
列方向において前記第1マイクロレンズと並んで配置され、光が入射される第2マイクロレンズと、
前記第1マイクロレンズからの光が入射される第1分光特性を有する第1フィルタと、
前記第2マイクロレンズからの光が入射される前記第1分光特性とは異なる第2分光特性を有する第2フィルタと、
前記第1フィルタを透過した光を電荷に変換する第1光電変換部と、
前記第1フィルタを透過した光を電荷に変換する第2光電変換部と、
前記第2フィルタを透過した光を電荷に変換する第3光電変換部と、
前記第2フィルタを透過した光を電荷に変換する第4光電変換部と、
前記第1光電変換部で変換された電荷を転送する第1転送部と、
前記第2光電変換部で変換された電荷を転送する第2転送部と、
前記第3光電変換部で変換された電荷を転送する第3転送部と、
前記第4光電変換部で変換された電荷を転送する第4転送部と、
前記第1転送部により前記第1光電変換部からの電荷が転送される第1蓄積部と、
前記第2転送部により前記第2光電変換部からの電荷が転送される第2蓄積部と、
前記第3転送部により前記第3光電変換部からの電荷が転送される第3蓄積部と、
前記第4転送部により前記第4光電変換部からの電荷が転送される第4蓄積部と、
前記第1蓄積部と電気的に接続されるゲート部を含み、第1信号を出力する第1トランジスタと、
前記第2蓄積部と電気的に接続されるゲート部を含み、第2信号を出力する第2トランジスタと、
前記第3蓄積部と電気的に接続されるゲート部を含み、第3信号を出力する第3トランジスタと、
前記第4蓄積部と電気的に接続されるゲート部を含み、第4信号を出力する第4トランジスタと、
前記第1トランジスタからの前記第1信号を第1信号線に出力するための第5トランジスタと、
前記第2トランジスタからの前記第2信号を第2信号線に出力するための第6トランジスタと、
前記第3トランジスタからの前記第3信号を前記第1信号線に出力するための第7トランジスタと、
前記第4トランジスタからの前記第4信号を前記第2信号線に出力するための第8トランジスタと、
前記第5トランジスタと前記第6トランジスタとに制御信号を出力する第1制御線と、
前記第7トランジスタと前記第8トランジスタとに制御信号を出力する第2制御線と、
前記第1トランジスタと前記第3トランジスタとに前記第1信号線を介して電流を供給する第1電流源と、
前記第2トランジスタと前記第4トランジスタとに前記第2信号線を介して電流を供給する第2電流源と
を備える撮像素子。
続きを表示(約 980 文字)
【請求項2】
請求項1に記載の撮像素子において、
前記第1転送部、前記第2転送部、前記第3転送部および前記第4転送部に制御信号を出力する走査回路を備える撮像素子。
【請求項3】
請求項2に記載の撮像素子において、
前記第1蓄積部の電位をリセットする第1リセット部と、
前記第2蓄積部の電位をリセットする第2リセット部と、
前記第3蓄積部の電位をリセットする第3リセット部と、
前記第4蓄積部の電位をリセットする第4リセット部と
を備える撮像素子。
【請求項4】
請求項3に記載の撮像素子において、
前記走査回路は、前記第1リセット部、前記第2リセット部、前記第3リセット部および前記第4リセット部に制御信号を出力する、
撮像素子。
【請求項5】
請求項4に記載の撮像素子において、
前記第5トランジスタは、所定電圧が供給される供給部と前記第1トランジスタと電気的に接続し、
前記第6トランジスタは、前記供給部と前記第2トランジスタと電気的に接続し、
前記第7トランジスタは、前記供給部と前記第3トランジスタと電気的に接続し、
前記第8トランジスタは、前記供給部と前記第4トランジスタと電気的に接続する、
撮像素子。
【請求項6】
請求項5に記載の撮像素子において、
前記第1フィルタと前記第2フィルタとの間に配置される遮光部を備える撮像素子。
【請求項7】
請求項6に記載の撮像素子において、
前記第2光電変換部の受光面積は、前記第1光電変換部の受光面積とは異なる、
撮像素子。
【請求項8】
請求項7に記載の撮像素子において、
前記第4光電変換部の受光面積は、前記第3光電変換部の受光面積とは異なる、
撮像素子。
【請求項9】
請求項1から請求項8のいずれか一項に記載の撮像素子を備える撮像装置。
【請求項10】
請求項9に記載の撮像装置において、
前記撮像素子と電気的に接続され、画像データを生成する画像処理部を備える撮像装置。
(【請求項11】以降は省略されています)
発明の詳細な説明
【技術分野】
【0001】
本発明は、撮像素子及び撮像装置に関する。
続きを表示(約 2,800 文字)
【背景技術】
【0002】
1つの画素に複数の光電変換部を有するCMOSイメージセンサが知られている。(例えば、特許文献1参照)。1つの画素にある2つの光電変換部の蓄積時間をそれぞれ変更して撮像を行うことは困難であった。
【先行技術文献】
【特許文献】
【0003】
特開2001-250931号公報
【発明の概要】
【課題を解決するための手段】
【0004】
本発明の一態様は、撮像素子である。撮像素子は、光が入射される第1マイクロレンズを備える。撮像素子は、列方向において第1マイクロレンズと並んで配置され、光が入射される第2マイクロレンズを備える。撮像素子は、第1マイクロレンズからの光が入射される第1分光特性を有する第1フィルタを備える。撮像素子は、第2マイクロレンズからの光が入射される第1分光特性とは異なる第2分光特性を有する第2フィルタを備える。撮像素子は、第1フィルタを透過した光を電荷に変換する第1光電変換部を備える。撮像素子は、第1フィルタを透過した光を電荷に変換する第2光電変換部を備える。撮像素子は、第2フィルタを透過した光を電荷に変換する第3光電変換部を備える。撮像素子は、第2フィルタを透過した光を電荷に変換する第4光電変換部を備える。撮像素子は、第1光電変換部で変換された電荷を転送する第1転送部を備える。撮像素子は、第2光電変換部で変換された電荷を転送する第2転送部を備える。撮像素子は、第3光電変換部で変換された電荷を転送する第3転送部を備える。撮像素子は、第4光電変換部で変換された電荷を転送する第4転送部を備える。撮像素子は、第1転送部により第1光電変換部からの電荷が転送される第1蓄積部を備える。撮像素子は、第2転送部により第2光電変換部からの電荷が転送される第2蓄積部を備える。撮像素子は、第3転送部により第3光電変換部からの電荷が転送される第3蓄積部を備える。撮像素子は、第4転送部により第4光電変換部からの電荷が転送される第4蓄積部を備える。撮像素子は、第1蓄積部と電気的に接続されるゲート部を含み、第1信号を出力する第1トランジスタを備える。撮像素子は、第2蓄積部と電気的に接続されるゲート部を含み、第2信号を出力する第2トランジスタを備える。撮像素子は、第3蓄積部と電気的に接続されるゲート部を含み、第3信号を出力する第3トランジスタを備える。撮像素子は、第4蓄積部と電気的に接続されるゲート部を含み、第4信号を出力する第4トランジスタを備える。撮像素子は、第1トランジスタからの第1信号を第1信号線に出力するための第5トランジスタを備える。撮像素子は、第2トランジスタからの第2信号を第2信号線に出力するための第6トランジスタを備える。撮像素子は、第3トランジスタからの第3信号を第1信号線に出力するための第7トランジスタを備える。撮像素子は、第4トランジスタからの第4信号を第2信号線に出力するための第8トランジスタを備える。撮像素子は、第5トランジスタと第6トランジスタとに制御信号を出力する第1制御線を備える。撮像素子は、第7トランジスタと第8トランジスタとに制御信号を出力する第2制御線を備える。撮像素子は、第1トランジスタと第3トランジスタとに第1信号線を介して電流を供給する第1電流源を備える。撮像素子は、第2トランジスタと第4トランジスタとに第2信号線を介して電流を供給する第2電流源を備える。
【0005】
本発明の一態様は、撮像装置である。撮像装置は、上記態様の撮像素子を備える。
【図面の簡単な説明】
【0006】
実施形態に係る撮像素子を示す図である。
実施形態に係る撮像素子の回路構成を示す図である。
実施形態に係る撮像素子の動作の一例を示すタイミングチャートである。
実施形態に係る撮像素子の動作の他の例を示すタイミングチャートである。
実施形態に係る撮像素子の複数の光電変換部の他の例を示す図である。
実施形態に係る撮像素子の回路構成を示す図である。
実施形態に係る撮像素子の動作の一例を示すタイミングチャートである。
実施形態に係る撮像装置を示すブロック図である。
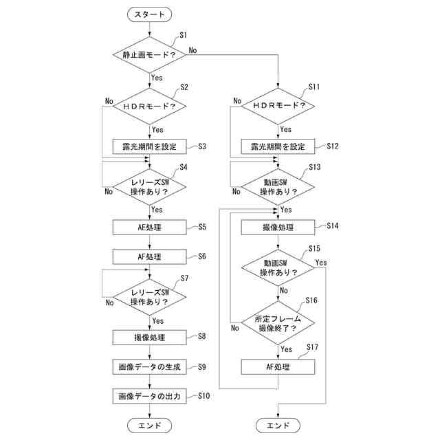
実施形態に係る撮像装置の動作の一例を示すフローチャートである。
【発明を実施するための形態】
【0007】
[第1実施形態]
図1(A)は、本実施形態に係る撮像素子1を示す平面図、図1(B)は、画素を拡大して示す平面図、図1(C)は図1(B)のA-A線断面図である。図1(A)に示すように、撮像素子1は、画素領域1aに配列された複数の画素Pを有する。複数の画素Pは、格子状に二次元的に配列されている。画素Pの配列方向うち、一方は水平走査方向と呼ばれ、他方は垂直走査方向と呼ばれる。本実施形態において、水平走査方向と垂直走査方向のそれぞれに垂直な方向を、適宜、画素領域1a(撮像素子1)の法線方向という。撮像素子1は概ね板状であり、画素領域1aの法線方向は、撮像素子1の厚み方向に相当する。
【0008】
図1(B)に示すように、画素領域1aには、光を遮る遮光部2が設けられている。遮光部2は、例えばブラックマトリクスである。遮光部2は、格子状に形成されており、水平走査方向および垂直走査方向のそれぞれに延びている。遮光部2に囲まれる領域は、光が通る画素開口Paになっている。本実施形態において、画素Pは、図1の画素領域1aの法線方向から見た場合に遮光部2の中心線に囲まれる領域であり、画素開口Paとその周囲の遮光部2を含む。
【0009】
複数の画素Pのそれぞれには、光電変換部3および光電変換部4が設けられている。画素領域1aの法線方向から見た場合に、1つの画素開口Paの内側には、光電変換部3の少なくとも一部および光電変換部4の少なくとも一部が配置される。光電変換部3および光電変換部4は、それぞれ、画素開口Paを通った光を電荷に変換する。
【0010】
本実施形態において、撮像素子1はフルカラー画像を撮像可能である。複数の画素Pは、赤色画素R、緑色画素Gr、緑色画素Gb、及び青色画素Bを含む。図1(B)では画素Pの配列がベイヤー配列であり、水平走査方向において、赤色画素Rと緑色画素Grとが交互に並び、緑色画素Gbと青色画素Bとが交互に並んでいる。また、垂直走査方向において、赤色画素Rと緑色画素Gbとが交互に並び、緑色画素Grと青色画素Bとが交互に並んでいる。本実施形態において、各色画素内に光電変換部3および光電変換部4が設けられている。
(【0011】以降は省略されています)
この特許をJ-PlatPat(特許庁公式サイト)で参照する
関連特許
株式会社ニコン
撮像素子
9日前
株式会社ニコン
撮像素子及び撮像装置
6日前
株式会社ニコン
撮像素子及び撮像装置
9日前
株式会社ニコン
変倍光学系および光学機器
11日前
株式会社ニコン
撮像ユニットおよび撮像装置
6日前
株式会社ニコン
変倍光学系、光学機器、および変倍光学系の製造方法
6日前
株式会社ニコン
画像処理方法、画像処理装置、及び画像処理プログラム
6日前
個人
店内配信予約システム
2か月前
サクサ株式会社
中継装置
4日前
WHISMR合同会社
収音装置
1か月前
サクサ株式会社
中継装置
3か月前
サクサ株式会社
中継装置
3日前
アイホン株式会社
電気機器
25日前
キヤノン株式会社
電子機器
2か月前
キヤノン株式会社
撮像装置
1か月前
キヤノン電子株式会社
モバイル装置
3か月前
サクサ株式会社
無線システム
2日前
キヤノン電子株式会社
画像読取装置
1か月前
サクサ株式会社
無線通信装置
3日前
株式会社リコー
画像形成装置
1か月前
サクサ株式会社
無線通信装置
3日前
株式会社リコー
画像形成装置
1か月前
個人
ワイヤレスイヤホン対応耳掛け
23日前
株式会社リコー
画像形成装置
2か月前
キヤノン株式会社
撮像システム
25日前
ブラザー工業株式会社
読取装置
2か月前
株式会社ニコン
撮像装置
2か月前
個人
発信機及び発信方法
2日前
パテントフレア株式会社
超高速電波通信
1か月前
沖電気工業株式会社
画像形成装置
13日前
国立大学法人電気通信大学
小型光学装置
1か月前
株式会社JVCケンウッド
通信システム
9日前
DXO株式会社
情報処理システム
2か月前
キヤノン電子株式会社
シート材搬送装置
2か月前
株式会社小糸製作所
画像照射装置
1か月前
沖電気工業株式会社
画像形成装置
5日前
続きを見る
他の特許を見る