TOP
|
特許
|
意匠
|
商標
特許ウォッチ
Twitter
他の特許を見る
公開番号
2025147293
公報種別
公開特許公報(A)
公開日
2025-10-07
出願番号
2024047501
出願日
2024-03-25
発明の名称
商品管理装置、商品管理方法、及び、プログラム
出願人
日本電気株式会社
代理人
個人
,
個人
主分類
G06Q
50/12 20120101AFI20250930BHJP(計算;計数)
要約
【課題】店内で調理する商品の調理数を容易に把握できる商品管理装置を提供することにある。
【解決手段】商品管理装置は、什器に陳列された商品を撮影した撮影画像及び商品の消費期限に基づいて、商品の廃棄時刻を取得する、取得手段と、商品の過去の販売数情報を用いて作成した予測モデルに基づいて、時間帯ごとの販売数を予測する、予測手段と、商品の廃棄時刻及び販売数に基づいて、時間帯ごとに商品の調理が必要な調理数を推定する、推定手段と、調理数を出力させる、出力手段と、を備える。
【選択図】図1
特許請求の範囲
【請求項1】
什器に陳列された商品を撮影した撮影画像及び前記商品の消費期限に基づいて、前記商品の廃棄時刻を取得する、取得手段と、
前記商品の過去の販売数情報を用いて作成した予測モデルに基づいて、時間帯ごとの販売数を予測する、予測手段と、
前記商品の前記廃棄時刻及び前記販売数に基づいて、前記時間帯ごとに前記商品の調理が必要な調理数を推定する、推定手段と、
前記調理数を出力させる、出力手段と、を備える、商品管理装置。
続きを表示(約 1,000 文字)
【請求項2】
前記取得手段は、前記商品が陳列された時刻からの経過時間に基づいて、前記商品の廃棄時刻を取得する、請求項1に記載の商品管理装置。
【請求項3】
前記推定手段は、調理しない時間帯を含むように、前記時間帯ごとに前記調理数を推定する、請求項1に記載の商品管理装置。
【請求項4】
前記予測手段は、販売数に影響を与えるパラメータで表された予測式を用いて、前記時間帯ごとの販売数を予測する、請求項1に記載の商品管理装置。
【請求項5】
前記予測手段は、時間帯ごとに異なるパラメータで表された予測式を用いて、前記時間帯ごとの販売数を予測する、請求項4に記載の商品管理装置。
【請求項6】
前記予測手段は、更に、推定した前記調理数に基づき、前記商品の調理に用いる材料の交換時期を予測し、
前記出力手段は、前記材料の交換時期を出力する、請求項1に記載の商品管理装置。
【請求項7】
前記撮影画像内の廃棄時刻が過ぎた商品を検知する、検知手段を更に備え、
前記出力手段は、更に、廃棄時刻が過ぎたことを知らせるためにアラートを出力する、請求項6に記載の商品管理装置。
【請求項8】
前記検知手段は、更に、前記販売数と比較して、前記什器に陳列された商品が不足していることを検知し、
前記出力手段は、更に、陳列された商品が不足していることを知らせるためにアラートを出力する、請求項7に記載の商品管理装置。
【請求項9】
コンピュータが、
什器に陳列された商品を撮影した撮影画像及び前記商品の消費期限に基づいて、前記商品の廃棄時刻を取得し、
前記商品の過去の販売数情報を用いて作成した予測モデルに基づいて、時間帯ごとの販売数を予測し、
前記商品の前記廃棄時刻及び前記販売数に基づいて、前記時間帯ごとに前記商品の調理が必要な調理数を推定し、
前記調理数を出力させる、商品管理方法。
【請求項10】
什器に陳列された商品を撮影した撮影画像及び前記商品の消費期限に基づいて、前記商品の廃棄時刻を取得し、
前記商品の過去の販売数情報を用いて作成した予測モデルに基づいて、時間帯ごとの販売数を予測し、
前記商品の前記廃棄時刻及び前記販売数に基づいて、前記時間帯ごとに前記商品の調理が必要な調理数を推定し、前記調理数を出力させる処理をコンピュータに実行させるプログラム。
発明の詳細な説明
【技術分野】
【0001】
本開示は、商品管理装置、商品管理方法、及び、プログラムに関する。
続きを表示(約 1,400 文字)
【背景技術】
【0002】
本発明は、コンビニエンスストア等の店舗で販売している揚げ物等のホットスナック商品の消費期限や消費期限を管理する技術がある。例えば、特許文献1には、消費期限に関係するパラメータの状態に基づいて、揚げ物の陳列棚からの撤去期限を決定する技術が開示されている。
【先行技術文献】
【特許文献】
【0003】
国際公開第2022/145218号
【発明の概要】
【発明が解決しようとする課題】
【0004】
ところで、ホットスナック商品は、店舗の従業員が販売する分だけ、予め商品を調理して陳列する必要がある。しかし、店舗の従業員が、廃棄期限を考慮しながら販売する分だけ調理するのは難しい。
【0005】
本開示の目的の一例は、店内で調理する商品の調理数を容易に把握できる商品管理装置を提供することにある。
【課題を解決するための手段】
【0006】
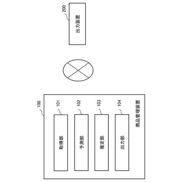
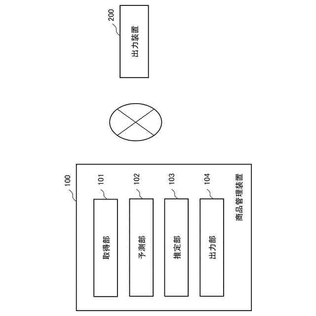
本開示の一態様における商品管理装置は、什器に陳列された商品を撮影した撮影画像及び商品の消費期限に基づいて、商品の廃棄時刻を取得する、取得手段と、商品の過去の販売数情報を用いて作成した予測モデルに基づいて、時間帯ごとの販売数を予測する、予測手段と、商品の廃棄時刻及び販売数に基づいて、時間帯ごとに商品の調理が必要な調理数を推定する、推定手段と、調理数を出力させる、出力手段と、を備える。
【0007】
本開示の一態様における商品管理方法は、コンピュータが、什器に陳列された商品を撮影した撮影画像及び商品の消費期限に基づいて、商品の廃棄時刻を取得し、商品の過去の販売数情報を用いて作成した予測モデルに基づいて、時間帯ごとの販売数を予測し、商品の廃棄時刻及び販売数に基づいて、時間帯ごとに商品の調理が必要な調理数を推定し、調理数を出力させる。
【0008】
本開示の一態様における記録媒体は、什器に陳列された商品を撮影した撮影画像及び商品の消費期限に基づいて、商品の廃棄時刻を取得し、商品の過去の販売数情報を用いて作成した予測モデルに基づいて、時間帯ごとの販売数を予測し、商品の廃棄時刻及び販売数に基づいて、時間帯ごとに商品の調理が必要な調理数を推定し、調理数を出力させる処理をコンピュータに実行させるプログラムを格納する。
【発明の効果】
【0009】
本開示によれば、店内で調理する商品の調理数を容易に把握できる商品管理装置を提供できる。
【図面の簡単な説明】
【0010】
図1は、本開示における商品管理装置の構成例を示すブロック図である。
図2は、本開示における商品管理装置をコンピュータ装置とその周辺装置で実現したハードウェア構成を示す図である。
図3は、本開示において、商品を陳列するケースの一例を示す概念図である。
図4は、本開示における商品管理装置の動作を示すフローチャートである。
図5は、本開示における商品管理装置の構成例を示すブロック図である。
図6は、本開示における商品管理装置の動作を示すフローチャートである。
【発明を実施するための形態】
(【0011】以降は省略されています)
この特許をJ-PlatPat(特許庁公式サイト)で参照する
関連特許
日本電気株式会社
管理装置
3日前
日本電気株式会社
監視装置
3日前
日本電気株式会社
監視装置
3日前
日本電気株式会社
海底分岐装置
4日前
日本電気株式会社
光集積回路素子
8日前
日本電気株式会社
レーザモジュール
9日前
日本電気株式会社
超伝導量子回路装置
9日前
日本電気株式会社
受信器および通信装置
10日前
日本電気株式会社
システム、装置及び方法
9日前
日本電気株式会社
送信装置および通信装置
15日前
日本電気株式会社
通信装置および通信方法
15日前
日本電気株式会社
光伝送システムおよび方法
11日前
日本電気株式会社
ラインカード及びイジェクタ
1日前
日本電気株式会社
分析方法および分析システム
16日前
日本電気株式会社
制御装置、プログラム及び方法
9日前
日本電気株式会社
演算処理装置および演算処理方法
11日前
日本電気株式会社
共振器及びそれを備えた導波回路
17日前
日本電気株式会社
兆候検知装置および兆候検知方法
11日前
日本電気株式会社
推定装置、推定方法及びプログラム
9日前
日本電気株式会社
放送用システムおよび字幕作成方法
11日前
日本電気株式会社
ソーナー装置、通信方法、プログラム
11日前
日本電気株式会社
情報処理装置、制御方法及び記憶媒体
9日前
日本電気株式会社
推定装置、推定方法、及び、記録媒体
16日前
日本電気株式会社
波長可変レーザ装置及びその構成方法
15日前
日本電気株式会社
端末、端末の制御方法及びプログラム
1日前
日本電気株式会社
画像管理システムおよび画像管理方法
17日前
日本電気株式会社
注文端末、注文受付方法及びプログラム
15日前
日本電気株式会社
学習装置、学習方法及び学習プログラム
9日前
日本電気株式会社
安否確認支援装置、方法及びプログラム
4日前
日本電気株式会社
通信装置、通信方法及び通信プログラム
16日前
日本電気株式会社
判別装置、判別方法、およびプログラム
11日前
日本電気株式会社
情報処理装置、情報処理方法、プログラム
17日前
日本電気株式会社
通信システム、通信方法及び、プログラム
15日前
日本電気株式会社
動作認識装置、動作認識方法、プログラム
11日前
日本電気株式会社
画像選択装置、画像選択方法及び記憶媒体
17日前
日本電気株式会社
性能監視装置、性能監視方法、プログラム
15日前
続きを見る
他の特許を見る