TOP
|
特許
|
意匠
|
商標
特許ウォッチ
Twitter
他の特許を見る
公開番号
2025147392
公報種別
公開特許公報(A)
公開日
2025-10-07
出願番号
2024047624
出願日
2024-03-25
発明の名称
ベルトコンベアの監視方法、粉体の搬送方法、ベルトコンベアの監視システム及びプログラム
出願人
栗田工業株式会社
代理人
弁理士法人IPX
主分類
B65G
43/02 20060101AFI20250930BHJP(運搬;包装;貯蔵;薄板状または線条材料の取扱い)
要約
【課題】即座にベルトコンベアのエラーを検知することが可能なベルトコンベアの監視方法等を提供する。
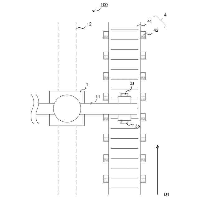
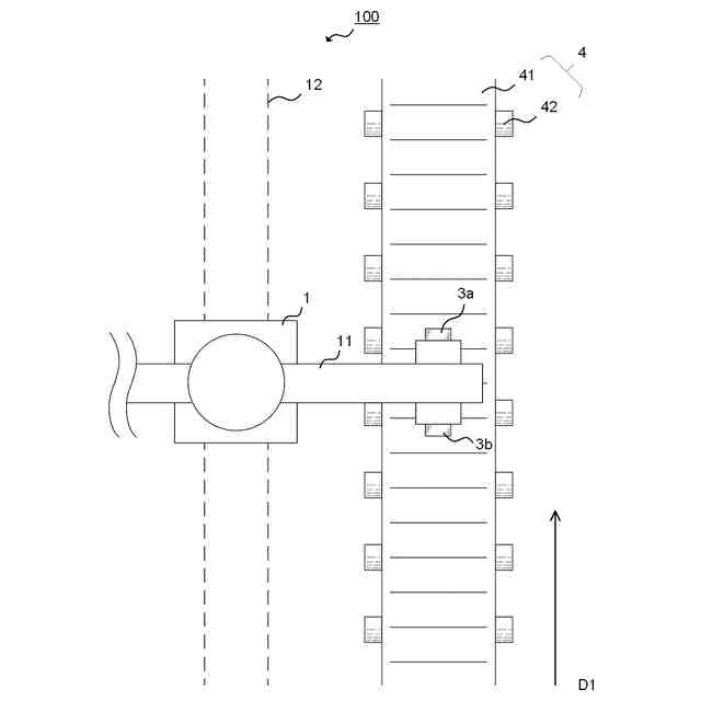
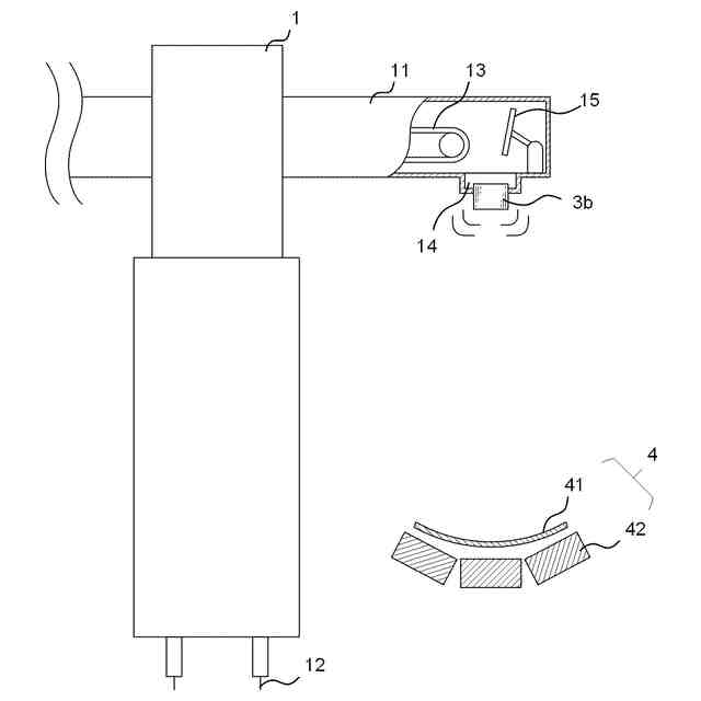
【解決手段】本発明の一態様によれば、ベルトコンベアの監視方法が提供される。この監視方法は、第1取得工程を備える。第1取得工程では、光学センサによって、上方からベルトコンベアのベルト表面を計測することで計測データを取得する。ここで、光学センサは、ベルトコンベアの流れ方向に沿って移動可能に構成された移動機に取り付けられたものである。
【選択図】図1
特許請求の範囲
【請求項1】
ベルトコンベアの監視方法であって、
第1取得工程を備え、
前記第1取得工程では、光学センサによって、上方から前記ベルトコンベアのベルト表面を計測することで計測データを取得し、
ここで、前記光学センサは、前記ベルトコンベアの流れ方向に沿って移動可能に構成された移動機に取り付けられたものである、監視方法。
続きを表示(約 1,400 文字)
【請求項2】
請求項1に記載のベルトコンベアの監視方法において、
特定工程をさらに備え、
前記特定工程では、前記第1取得工程で取得した前記計測データに基づき、前記ベルトの蛇行の度合い、前記ベルトの片寄りの度合い及び前記ベルトコンベアの表面に存在する粉体の形状のいずれかを特定する、監視方法。
【請求項3】
請求項2に記載のベルトコンベアの監視方法において、
前記第1取得工程では、前記光学センサが、前記ベルト表面以外の基準物体に関する計測をあわせて行い、
前記特定工程では、前記第1取得工程で取得した前記計測データを、前記基準物体の計測結果によって補正することで、前記ベルトの蛇行の度合い、前記ベルトの片寄りの度合い及び前記ベルトコンベアの表面に存在する粉体の形状のいずれかを特定する、監視方法。
【請求項4】
請求項3に記載のベルトコンベアの監視方法において、
前記第1取得工程では、前記基準物体の寸法又は位置を計測することで、前記基準物体の計測結果を得る、監視方法。
【請求項5】
請求項4に記載のベルトコンベアの監視方法において、
前記基準物体は、前記ベルトを支持するローラであり、
前記第1取得工程では、前記ローラの前記ベルトコンベアの流れ方向に交差する長さ及び/又は前記ローラについて予め設定した位置を計測することで、前記基準物体の計測結果を得る、監視方法。
【請求項6】
請求項3に記載のベルトコンベアの監視方法において、
前記第1取得工程では、前記ベルトコンベアの流れ方向に沿った複数箇所で前記基準物体の計測結果を取得し、
前記特定工程では、前記第1取得工程で取得した前記計測データを、複数の前記基準物体の計測結果のそれぞれによって補正し、前記ベルトの蛇行の度合い、前記ベルトの片寄りの度合い及び前記ベルトコンベアの表面に存在する粉体の形状のいずれかを特定する、監視方法。
【請求項7】
請求項3に記載のベルトコンベアの監視方法において、
第2取得工程をさらに備え、
前記第2取得工程では、前記移動機の位置情報を取得し、
前記特定工程では、前記第1取得工程で取得した前記計測データを、さらに前記移動機の位置情報によって補正することで、前記ベルトの蛇行の度合い、前記ベルトの片寄りの度合い及び前記ベルトコンベアの表面に存在する粉体の形状のいずれかを特定する、監視方法。
【請求項8】
請求項1に記載のベルトコンベアの監視方法において、
前記光学センサは、LiDARセンサである、監視方法。
【請求項9】
粉体の搬送方法であって、
粉体制御工程を備え、
前記粉体制御工程では、請求項1ないし請求項8のいずれか1項に記載のベルトコンベアの監視方法の結果に基づき、前記ベルトコンベアへ前記粉体を落下させる態様を制御する、搬送方法。
【請求項10】
ベルトコンベアの監視システムであって、
移動機と、光学センサと、を備え、
前記移動機は、前記ベルトコンベアの流れ方向に沿って移動可能に構成され、
前記光学センサは、前記移動機に取り付けられ、上方から前記ベルトコンベアのベルト表面を計測することで計測データを得るものである、監視システム。
(【請求項11】以降は省略されています)
発明の詳細な説明
【技術分野】
【0001】
本発明は、ベルトコンベアの監視方法、粉体の搬送方法、ベルトコンベアの監視システム及びプログラムに関する。
続きを表示(約 1,000 文字)
【背景技術】
【0002】
特許文献1には、ベルトコンベアの蛇行を検出する装置が開示されている。
【先行技術文献】
【特許文献】
【0003】
特開2000-118663号公報
【発明の概要】
【発明が解決しようとする課題】
【0004】
特許文献1に開示された技術は、ベルトコンベアそのものにセンサを取り付けるものである。そのため、センサの取り付け自体に人的又は金銭的負担があり、自ずとセンサの取り付け個数に制限が課される。このような背景もあり、従来、即座にベルトコンベアのエラーを検知することが求められていた。
【0005】
本発明では上記事情に鑑み、即座にベルトコンベアのエラーを検知することが可能なベルトコンベアの監視方法等を提供することとした。
【課題を解決するための手段】
【0006】
本発明の一態様によれば、ベルトコンベアの監視方法が提供される。この監視方法は、第1取得工程を備える。第1取得工程では、光学センサによって、上方からベルトコンベアのベルト表面を計測することで計測データを取得する。ここで、光学センサは、ベルトコンベアの流れ方向に沿って移動可能に構成された移動機に取り付けられたものである。
【0007】
上記態様によれば、即座にベルトコンベアのエラーを検知することが可能なベルトコンベアの監視方法等が提供される。
【0008】
さらに、次に記載の各態様で提供されてもよい。
【0009】
(1)ベルトコンベアの監視方法であって、第1取得工程を備え、前記第1取得工程では、光学センサによって、上方から前記ベルトコンベアのベルト表面を計測することで計測データを取得し、ここで、前記光学センサは、前記ベルトコンベアの流れ方向に沿って移動可能に構成された移動機に取り付けられたものである、監視方法。
【0010】
(2)上記(1)に記載のベルトコンベアの監視方法において、特定工程をさらに備え、前記特定工程では、前記第1取得工程で取得した前記計測データに基づき、前記ベルトの蛇行の度合い、前記ベルトの片寄りの度合い及び前記ベルトコンベアの表面に存在する粉体の形状のいずれかを特定する、監視方法。
(【0011】以降は省略されています)
この特許をJ-PlatPat(特許庁公式サイト)で参照する
関連特許
栗田工業株式会社
排水回収装置
7日前
栗田工業株式会社
ギ酸の回収方法
3日前
栗田工業株式会社
用水の水質予測方法
7日前
栗田工業株式会社
畜糞造粒物の製造方法
2日前
栗田工業株式会社
放射性廃液の処理方法
11日前
栗田工業株式会社
有機性排水の生物処理方法
14日前
栗田工業株式会社
水質予測方法及び水質制御方法
7日前
栗田工業株式会社
管内面の洗浄用プラグ及び洗浄方法
2日前
栗田工業株式会社
ベルトコンベアの監視方法、粉体の搬送方法及びプログラム
3日前
栗田工業株式会社
ベルトコンベアの監視方法、ベルトコンベアの制御方法及びプログラム
1日前
栗田工業株式会社
ベルトコンベアの監視方法、粉体の搬送方法、ベルトコンベアの監視システム及びプログラム
3日前
個人
箱
12か月前
個人
収容箱
2か月前
個人
ゴミ箱
11か月前
個人
コンベア
4か月前
個人
段ボール箱
6か月前
個人
段ボール箱
6か月前
個人
ゴミ収集器
6か月前
個人
容器
8か月前
個人
土嚢運搬器具
7か月前
個人
パウチ補助具
11か月前
個人
楽ちんハンド
4か月前
個人
バンド
1か月前
個人
宅配システム
6か月前
個人
角筒状構造体
5か月前
個人
閉塞装置
9か月前
個人
廃棄物収容容器
2か月前
個人
コード類収納具
7か月前
個人
包装容器
21日前
個人
お薬の締結装置
5か月前
個人
貯蔵サイロ
6か月前
個人
蓋閉止構造
3か月前
個人
ゴミ処理機
8か月前
株式会社和気
包装用箱
8か月前
株式会社バンダイ
物品
2日前
個人
把手付米袋
4か月前
続きを見る
他の特許を見る