TOP
|
特許
|
意匠
|
商標
特許ウォッチ
Twitter
他の特許を見る
公開番号
2025147414
公報種別
公開特許公報(A)
公開日
2025-10-07
出願番号
2024047657
出願日
2024-03-25
発明の名称
クレーン運転システム及びごみ処理方法
出願人
三機工業株式会社
代理人
個人
,
個人
主分類
B66C
13/48 20060101AFI20250930BHJP(巻上装置;揚重装置;牽引装置)
要約
【課題】ごみピット内のごみをホッパに投入する作業を効率化する。
【解決手段】ごみピット内に貯留されたごみを移送可能なクレーンと、ごみピット内を撮像する撮像部と、撮像部により取得された画像を解析してその解析結果に基づいてクレーンを制御する制御部を備える。ごみピット内に作り置き区画として指定された区画が1区画以上ある場合、制御部は画像の解析により作り置き区画の中から最もごみの貯留高さが高い作り置き区画を一つ特定して、特定した当該区画からごみを掴み上げてホッパへ移送するよう制御する。ごみピット内に作り置き区画として指定された区画がない場合、制御部は画像の解析によりごみピット内に易燃区画が1区画以上あるか否かを判断し、易燃区画が1区画以上あると判断した場合は、易燃区画の中から最もごみの貯留高さが高い区画を一つ特定し、特定した当該区画からごみを掴み上げてホッパへ移送するようにクレーンを制御する。
【選択図】図6
特許請求の範囲
【請求項1】
ごみピット内に貯留されたごみを移送可能なクレーンと、前記ごみピット内を撮像する撮像部と、前記撮像部により取得された画像を解析してその解析結果に基づいて前記クレーンを制御する制御部を備える、クレーン運転システムであって、
前記ごみピット内に作り置き区画であるとして指定された区画が1区画以上ある場合に、前記制御部は、前記画像の解析により、前記作り置き区画の中から最もごみの貯留高さが高い作り置き区画を一つ特定して、特定した当該作り置き区画からごみを掴み上げてホッパへ移送するように前記クレーンを制御し、
前記ごみピット内に作り置き区画であるとして指定された区画がない場合に、前記制御部は、前記画像の解析により、前記ごみピット内に燃え易いごみが所定量以上貯留されている易燃区画が1区画以上あるか否かを判断し、前記易燃区画が1区画以上あると判断した場合には、前記易燃区画の中から最もごみの貯留高さが高い易燃区画を一つ特定して、特定した当該易燃区画からごみを掴み上げてホッパへ移送するように前記クレーンを制御する
クレーン運転システム。
続きを表示(約 1,000 文字)
【請求項2】
前記制御部は、前記易燃区画がないと判断した場合には、前記画像の解析により、前記ごみピット内の区画の中から最もごみの貯留高さが高い区画を一つ特定して、特定した当該区画からごみを掴み上げて前記ホッパへ移送するように前記クレーンを制御する
請求項1に記載のクレーン運転システム。
【請求項3】
前記制御部は、前記画像の解析により、前記易燃区画を、良く燃えるごみが所定量以上貯留されている第1易燃区画と、燃えるごみが所定量以上貯留されている第2易燃区画とに分類可能であり、
前記ごみピット内に作り置き区画であるとして指定された区画がない場合に、前記制御部は、前記画像の解析により、前記ごみピット内に前記第2易燃区画が1区画以上あるか否かを判断し、前記第2易燃区画が1区画以上あると判断した場合には、前記第2易燃区画の中から最もごみの貯留高さが高い第2易燃区画を一つ特定して、特定した当該第2易燃区画からごみを掴み上げて前記ホッパへ移送するように前記クレーンを制御する
請求項1又は請求項2に記載のクレーン運転システム。
【請求項4】
ごみピット内に貯留されたごみをクレーンによりホッパへ移送するごみ処理方法であって、
撮像部により前記ごみピット内を撮像する撮像工程と、
制御部により前記撮像部により取得された画像を解析してその解析結果に基づいて前記クレーンを制御する制御工程を含み、
前記制御工程では、
前記ごみピット内に作り置き区画であるとして指定された区画が1区画以上ある場合に、前記制御部は、前記画像の解析により、前記作り置き区画の中から最もごみの貯留高さが高い作り置き区画を一つ特定して、特定した当該作り置き区画からごみを掴み上げてホッパへ移送するように前記クレーンを制御し、
前記ごみピット内に作り置き区画であるとして指定された区画がない場合に、前記制御部は、前記画像の解析により、前記ごみピット内に燃え易いごみが所定量以上貯留されている易燃区画が1区画以上あるか否かを判断し、前記易燃区画が1区画以上あると判断した場合には、前記易燃区画の中から最もごみの貯留高さが高い易燃区画を一つ特定して、特定した当該易燃区画からごみを掴み上げてホッパへ移送するように前記クレーンを制御する
ごみ処理方法。
発明の詳細な説明
【技術分野】
【0001】
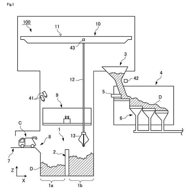
本発明は、ごみピット内のごみを移送可能なクレーンを制御するためのクレーン運転システムに関する。また、本発明は、このクレーンを利用したごみ処理方法に関する。
続きを表示(約 3,000 文字)
【背景技術】
【0002】
従来から、ごみ処理施設では、収集車から搬入されるごみをごみピット内に一時的に貯留しておき、貯留したごみをクレーンにより掴み上げてホッパに移送して、このホッパから焼却炉に投入することが行われている。また、ごみ処理施設においては、ごみクレーンを操作する運転員がごみピット内を目視しながら、ごみの種類や性質が均等になるようにごみピット内でごみを移し替えたり、あるいは未破袋のごみを破袋する(ごみを掴みあげて落とし、ごみ袋を破る)といった作業が行われている。
【0003】
このようなごみ処理施設に関して、本願出願人は、ごみの種類を自動的に高い精度で判定して、ごみの種類に応じて適切な操作を実行することが可能なクレーンの運転システムを提案している(特許文献1)。具体的には、特許文献1のクレーン運転システムは、ごみピット内に貯留されたごみをホッパに移送するごみクレーンと、ごみピット内の画像を取得する撮像部と、撮像部により取得された画像に基づいてごみの種類を判定するごみ種判定部を備えることを主な特徴とする。また、このクレーン運転システムは、移送、破袋、撹拌、作り置き、移し替え、接近回避、及び掴み直しといった複数の作業の中から選択されたものをクレーンに実行させることができる。
【先行技術文献】
【特許文献】
【0004】
特開2021-46288号公報
【発明の概要】
【発明が解決しようとする課題】
【0005】
ところで、特許文献1には、ごみピット内のごみをホッパに移送する作業(本願明細書では「投入」ともいう。)に関して、例えば、カメラ等によりホッパ内の状況を監視してホッパ内におけるごみの高さが適当な高さを下回った場合にごみピット内のごみをごみクレーンで掴み上げてホッパへ移送することや、破袋や撹拌といった処理が済んだごみについて優先的にホッパへ移送すること、さらには作り置きスペースに積まれたごみから優先的にホッパへ移送することが行われることが記載されている。しかしながら、ごみピット内に作り置きスペースが複数存在する場合にはどのスペースからホッパへとごみを投入(移送)するのかや、ごみピット内に作り置きスペースが存在しない場合にはどのように処理するのかについては、特許文献1では未検討である。
【0006】
そこで、本発明は、ごみピット内のごみをホッパに投入する作業を効率化することを主な目的とする。
【課題を解決するための手段】
【0007】
本発明の発明者は、上記の従来発明の課題を解決する手段について鋭意検討した結果、ごみピット内のごみをホッパへ投入するにあたり、ごみが積み上げられた作り置き区画がごみピット内に複数存在する場合には最もごみの積み上げ高さが高い作り置き区画からごみをホッパへ投入し、一方で作り置き区画がごみピット内に存在しない場合には燃え易いごみが所定量以上貯留されている区画からごみを掴み上げてホッパへ投入することにより、ホッパに投入する作業を効率化できるようになるという知見を得た。そして、本発明者は、上記知見に基づけば従来発明の課題を解決できることに想到し、本発明を完成させた。具体的に説明すると、本発明は以下の構成又は工程を有する。
【0008】
本発明の第1の側面は、クレーン運転システムに関する。本発明に係るクレーン運転システムは、クレーン、撮像部、及び制御部を備える。クレーンは、ごみピット内に貯留されたごみを移送可能に構成されている。撮像部は、ごみピット内を撮像する。制御部は、撮像部により取得された画像を解析し、その解析結果に基づいてクレーンを制御する。なお、制御部は、単一の装置によって実現することとしてもよいし、演算装置と制御装置などの複数の装置に機能を分散させて実現することとしてもよい。ここで、まずごみピット内に作り置き区画であるとして指定された区画が1区画以上ある場合について説明する。なお、作り置き区画とは、主に破袋済みのごみが積み上げられる区画であり、この区画から優先的にホッパへのごみの投入が行われる。また、作り置き区画は、運転員が手動で設定することとしてもよいし、プログラムや状況判断AIにより自動的に設定することとしてもよい。このように作り置き区画が複数存在する場合、クレーン運転システムの制御部は、撮像部が取得した画像を解析することにより、作り置き区画の中から最もごみの貯留高さが高い作り置き区画を一つ特定して、特定した当該作り置き区画からごみを掴み上げてホッパへ移送する。次に、ごみピット内に作り置き区画であるとして指定された区画がない場合について説明する。このように作り置き区画が存在しない場合、クレーン運転システムの制御部は、撮像部が取得した画像を解析することにより、ごみピット内に燃え易いごみが所定量以上貯留されている易燃区画が1区画以上あるか否かを判断し、易燃区画が1区画以上あると判断した場合には、易燃区画の中から最もごみの貯留高さが高い易燃区画を一つ特定して、特定した当該易燃区画からごみを掴み上げてホッパへ移送するようにクレーンを制御する。なお、後述する実施形態では、ごみの燃え易さを「良く燃えるごみ」、「燃えるごみ」、「燃えにくいごみ」に分別することとしているが、ここにいう「燃え易いごみ」とは、「燃えにくいごみ」以外のごみ、すなわち「良く燃えるごみ」と「燃えるごみ」を包含する概念である。
【0009】
上記構成のように、本発明では、ごみピット内に作り置き区画が複数存在する場合には、この作り置き区画内の最もごみ高さが高い区画からごみを掴んでホッパへ投入する。これにより、クレーンによりごみを掴みやすくなるとともに、複数の作り置き区画の高さが平準化するためごみピット内を有効活用できる。また、ごみピット内に作り置き区画が存在しない場合には、ごみピット内において燃え易いごみが最も高く積み上げられている区画を特定して、その画からごみを掴んでホッパへ投入する。これにより、作り置き区画が存在しない場合でも、ホッパに対して燃え易いごみを供給できるため、ホッパ後に設けられた焼却炉の燃焼効率を向上させることができる。従って、本発明によれば、ごみピット内のごみをホッパに投入する作業を効率化できる。
【0010】
本発明に係るクレーン運転システムにおいて、制御部は、易燃区画がないと判断した場合には、撮像部が取得した画像を解析することにより、ごみピット内の区画の中から最もごみの貯留高さが高い区画を一つ特定して、特定した当該区画からごみを掴み上げてホッパへ移送するようにクレーンを制御する。このように、作り置き区画がなく、また易燃区画もない場合には、ごみピット内の最もごみの高さが高い区画からごみを掴み上げてホッパへ投入すると良い。ホッパへのごみ投入が遅れると焼却炉が空焚き状態となり、最悪の場合には焼却炉が破損してしまう恐れがあることから、作り置き区画や易燃区画がない場合でも、ホッパへはごみを供給し続けることが好ましい。
(【0011】以降は省略されています)
この特許をJ-PlatPat(特許庁公式サイト)で参照する
関連特許
三機工業株式会社
ろ過装置
1か月前
三機工業株式会社
吊下作業方法
5日前
三機工業株式会社
吊下作業方法
5日前
三機工業株式会社
空調システム
12日前
三機工業株式会社
空調システム
14日前
三機工業株式会社
散水式の浄化装置及び浄化方法
1か月前
三機工業株式会社
動作装置の位置確認機構および装置
11日前
三機工業株式会社
ダクトの吊下作業方法およびシステム
1か月前
三機工業株式会社
クレーン運転システム及びごみ処理方法
6日前
三機工業株式会社
クレーン運転システム及びごみ処理方法
6日前
三機アクアテック株式会社
汚泥かき寄せ装置
6日前
三機工業株式会社
施工管理装置、施工管理方法、及び施工管理プログラム
5日前
三機工業株式会社
壁吸い込みフィルタユニットのパンチングフェースおよび戸袋の構造
4日前
三機工業株式会社
ログデータ分析用のサーバ装置、プログラム、データ分析システム、及びデータ分析方法
12日前
個人
自走手摺
2か月前
ユニパルス株式会社
吊具
4か月前
個人
海上コンテナ昇降装置
10か月前
ユニパルス株式会社
吊具装置
10か月前
ユニパルス株式会社
荷役装置
9か月前
水戸工業株式会社
吊り具
6か月前
株式会社豊田自動織機
荷役車両
8か月前
株式会社豊田自動織機
産業車両
1か月前
株式会社豊田自動織機
産業車両
10か月前
株式会社豊田自動織機
荷役車両
9か月前
ユニパルス株式会社
リフト装置
4か月前
株式会社いうら
車椅子用昇降機
2か月前
株式会社伊藤
滑り止め装置
2か月前
大栄産業株式会社
クランプ
4か月前
ユニパルス株式会社
荷役助力装置
3か月前
ユニパルス株式会社
荷役助力装置
5か月前
個人
エアバック式レスキュー用品
6日前
白山工業株式会社
バランサ
6か月前
愛知製鋼株式会社
受け架台
1か月前
株式会社大林組
安全支援システム
1か月前
個人
垂直自動搬送機
1か月前
ユニパルス株式会社
荷役助力装置
4か月前
続きを見る
他の特許を見る