TOP
|
特許
|
意匠
|
商標
特許ウォッチ
Twitter
他の特許を見る
10個以上の画像は省略されています。
公開番号
2025142500
公報種別
公開特許公報(A)
公開日
2025-10-01
出願番号
2024041897
出願日
2024-03-18
発明の名称
ログデータ分析用のサーバ装置、プログラム、データ分析システム、及びデータ分析方法
出願人
三機工業株式会社
代理人
個人
,
個人
主分類
G06F
18/20 20230101AFI20250924BHJP(計算;計数)
要約
【課題】計測機器等から得られたログデータを自由に分析でき、かつ経験の少ない者でも判断しやすい分析結果を出力できるようにする。
【解決手段】サーバ装置60は、クライアント端末70からの分析要求に応じて、データ収集装置30が収集したログデータを分析し、その分析結果をクライアント端末70に提供する。サーバ装置60は、ログデータから分析要求に対応する対応データを取得し、分析要求に含まれるプロンプトと対応データを大規模言語モデル81に入力して、大規模言語モデル81からプロンプトに従った対応データの分析結果を取得する。
【選択図】図1
特許請求の範囲
【請求項1】
クライアント端末からの分析要求に応じて、データ収集装置が収集したログデータを分析し、その分析結果を前記クライアント端末に提供するサーバ装置であって、
前記ログデータから前記分析要求に対応する対応データを取得するログデータ取得部と、
前記分析要求に含まれるプロンプトと前記対応データを大規模言語モデルに入力し、前記大規模言語モデルから前記プロンプトに従った前記対応データの分析結果を取得する分析部を含む
サーバ装置。
続きを表示(約 1,400 文字)
【請求項2】
前記ログデータは、経時的にデータが蓄積された時系列データであり、
前記分析要求は、前記プロンプトに加えて、前記ログデータからデータを取得する時間間隔と、前記ログデータからデータを取得する期間に関する情報を含む
請求項1に記載のサーバ装置。
【請求項3】
前記ログデータは、さらに項目ごとにデータが蓄積されたものであり、
前記分析要求は、前記ログデータからデータを取得する項目に関する情報をさらに含む
請求項2に記載のサーバ装置。
【請求項4】
前記ログデータとして蓄積されるデータを出力する機器に関する文字及び/又は画像を記憶したデータベースから、前記分析要求に関連する関連情報を取得する関連情報取得部をさらに有し、
前記分析部は、前記分析要求に含まれるプロンプト、前記対応データ、及び前記関連情報を大規模言語モデルに入力し、前記大規模言語モデルから前記プロンプトに従った前記対応データ及び前記関連情報の分析結果を取得する
請求項1に記載のサーバ装置。
【請求項5】
コンピュータを請求項1に記載のサーバ装置として機能させるためのプログラム。
【請求項6】
クライアント端末と、監視対象となる一又は複数の機器により出力されたデータを収集しログデータとして蓄積するデータ収集装置と、クライアント端末からの分析要求に応じて前記ログデータを分析しその分析結果を前記クライアント端末に提供するサーバ装置を備えたデータ分析システムであって、
前記サーバ装置は、
前記ログデータから前記分析要求に対応する対応データを取得するログデータ取得部と、
前記分析要求に含まれるプロンプトと前記対応データを大規模言語モデルに入力し、前記大規模言語モデルから前記プロンプトに従った前記対応データの分析結果を取得するデータ分析部を含む
データ分析システム。
【請求項7】
前記データ収集装置は、
前記機器により出力された出力データを取得するデータ取得部と、
前記出力データを所定フォーマットのテキストデータに変換するデータ変換部を有し、
前記ログデータは、前記テキストデータが経時的に蓄積されたものである
請求項6に記載のデータ分析システム。
【請求項8】
前記データ取得部は、前記機器により出力された複数種類の前記出力データを取得するものであり、
前記データ収集装置は、前記機器の前記出力データの種類ごとに、前記出力データを取得する頻度を定めた分類情報を保持するデータ分類部をさらに有し、
前記データ変換部は、前記分類情報を参照して、同じ頻度で取得する前記出力データを統合して、前記テキストデータを生成する
請求項7に記載のデータ分析システム。
【請求項9】
サーバ装置により、クライアント端末からの分析要求に応じてデータ収集装置が収集したログデータを分析し、その分析結果を前記クライアント端末に提供するデータ分析方法であって、
前記ログデータから前記分析要求に対応する対応データを取得するログデータ取得工程と、
前記分析要求に含まれるプロンプトと前記対応データを大規模言語モデルに入力し、前記大規模言語モデルから前記プロンプトに従った前記対応データの分析結果を取得する分析工程を含む
データ分析方法。
発明の詳細な説明
【技術分野】
【0001】
本発明は、例えば空調設備の運転状態やセンサの計測値などのログデータを分析するためのサーバ装置や、データ分析プログラム、データ分析システム、データ分析方法に関する。
続きを表示(約 2,900 文字)
【背景技術】
【0002】
ビルや工場、商業施設などの施設には、様々な種類の計測機器や制御機器が設置されている。計測機器としては、例えば各施設の空調に関わる物理量(例えば温度、流量、電圧、電力消費量)を計測するための機器があり、制御機器としては、例えば各施設の空調設備の制御に関するものがある。
【0003】
例えば特許文献1には、ブラウザ利用空調制御システムが開示されている。このシステムでは、ビル管理用コントローラに接続されたビル管理用コンピュータにウェブサーバとしての機能を持たせており、このウェブサーバがルータ及びプロバイダを介してインターネットに常時接続可能な環境が構築されている。また、遠隔地にあるクライアント端末は、インターネットを介してこのウェブサーバに接続されており、ブラウザを利用してこのウェブサーバ内のHTMLファイルを閲覧できるように構成されている。また、この特許文献1では、クライアント端末のブラウザ上を実行環境とし、ウェブサーバ側から渡されたデータをもとに表示画面を動的に作成することができるプログラムが提案されている。具体的には、この特許文献1には、ブラウザの表示画面にビル内の各空調機の個別の運転状態を表示したり、空調機に関する詳細データを数値だけでなくメーターやトレンドグラフなどのコンポーネントで示すことが記載されている。
【先行技術文献】
【特許文献】
【0004】
特開2002-071198号公報
【発明の概要】
【発明が解決しようとする課題】
【0005】
ところで、特許文献1に記載のシステムは、上述のように、クライアント端末のブラウザ上で実行されるプログラムにより、ウェブサーバ側から渡されたデータをもとに表示画面を動的に作成して、ブラウザの表示画面に空調コントローラやビル空調システム全体の状態を視覚的に捉えやすいコンポーネントを配置できるように構成されている。しかしながら、このようなコンポーネントは、プログラムによって規定されたものであるため、メーターやトレンドグラフの種類や形態が予め定められており、コンポーネントにより表示できるデータが画一的になってしまうという課題がある。すなわち、ビル内の計測機器から出力されて蓄積されているログデータは、例えば温度、流量、電圧、電力消費量など多種多様かつ大量のものとなっている。しかし、画一的なコンポーネントでは、このような性質のデータを自由に分析することができないため、単独の数値が大きいか小さいかなどの単純な分析に留まってしまう場合が多い。また、このような単純なコンポーネントにより示されたデータから深い考察を得るには経験の豊富な管理者の熟練した知識が必要であり、経験の少ない管理者では、コンポーネントにより示されたデータから計測機器や制御機器の僅かな異常や、通常とは異なる挙動などを判別することが困難であった。
【0006】
そこで、本発明は、計測機器や制御機器から得られたログデータを自由に分析でき、また経験の少ない者でも判断しやすい分析結果を出力することを主な目的とする。
【課題を解決するための手段】
【0007】
本発明の発明者は、従来発明の課題を解決する手段について鋭意検討した結果、蓄積された大量のログデータからユーザの分析要求に応じたデータを抽出し、ここで抽出したデータをユーザの分析要求(プロンプト)とともに大規模言語モデルに入力することで、データ分析の自由度が向上し、また経験の少ない者でも判断しやすい分析結果をこの大規模言語モデルから得ることができるようになるという知見を得た。そして、本発明者は、上記知見に基づけば、従来技術の課題を解決できることに想到し、本発明を完成させた。具体的に説明すると、本発明は以下の構成又は工程を有する。
【0008】
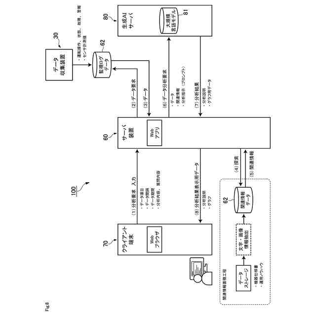
本発明の第1の側面は、サーバ装置60に関する。本発明に係るサーバ装置60は、クライアント端末70からの分析要求に応じて、データ収集装置30が収集したログデータを分析し、その分析結果をクライアント端末70に提供できるように構成されている。サーバ装置60は、データ収集装置30及びクライアント端末70にインターネットを介して接続されたクラウド上のウェブサーバである。サーバ装置60は、ログデータ取得部61eと分析部61fを含む。分析部61fは、ログデータからユーザの分析要求に対応する対応データを取得する。なお、このログデータは、サーバ装置60自体に記憶されているものであってもよいし、サーバ装置60とネットワークを介して接続された別の装置(例えばデータ収集装置30)に記憶されたものであってもよい。分析部61fは、ユーザの分析要求に含まれるプロンプトと対応データを大規模言語モデル81に入力し、この大規模言語モデル81からプロンプトに従った対応データの分析結果を取得する。大規模言語モデル81は、基本的にはサーバ装置60にネットワークを介して接続された他の事業者のWebサーバ(生成AIサーバ)によって運用されているものであることが想定される。ただし、サーバ装置60自体にこの大規模言語モデル81を記憶しておくことも可能である。
【0009】
上記構成のように、大規模言語モデル81を利用してログデータの分析を行うことで、画一的な分析にとどまらず、プロンプトに応じた自由な分析結果を得ることができる。また、大規模言語モデル81による大量のログデータの分析結果は、クライアント端末70の表示画面には言語化あるいはグラフ化されて表示されるため、経験の乏しいユーザであっても判断しやすいものとなり、また経験豊富な者と同様に深い考察を得ることができる。また、大規模言語モデル81を利用することで、人では判断のつかない事象が言語化されることも期待できる。さらに、一般的な大規模言語モデル81は入力できるデータのトークン数には上限があるが、本発明では、大規模言語モデル81にログデータのすべてを入力するのではなく、ログデータからユーザの分析要求に対応するデータ(対応データ)を一部抽出して、その一部のデータのみを入力するため、大規模言語モデル81に入力するデータのトークン数を抑えることができる。
【0010】
本発明において、ログデータは、経時的にデータが蓄積された時系列データであることが好ましい。この場合に、分析要求は、プロンプトに加えて、ログデータからデータを取得する時間間隔(例えば1分間隔、5分間隔、10分間隔、60分間隔など)と、ログデータからデータを取得する期間(例えば取得期間の始期と終期)に関する情報を含むことが好ましい。このように、分析要求にデータ取得の時間間隔と期間を含ませることにより、時系列データであるログデータから分析対象となるデータを取得しやすくなる。その結果、大規模言語モデル81に入力するデータのトークンを効率的に抑えることができる。
(【0011】以降は省略されています)
この特許をJ-PlatPat(特許庁公式サイト)で参照する
関連特許
三機工業株式会社
ろ過装置
1か月前
三機工業株式会社
空調システム
10日前
三機工業株式会社
吊下作業方法
3日前
三機工業株式会社
吊下作業方法
3日前
三機工業株式会社
空調システム
12日前
三機工業株式会社
制気口の検査装置
2か月前
三機工業株式会社
負荷温度制御システム
1か月前
三機工業株式会社
クリーンルームの空調システム
2か月前
三機工業株式会社
散水式の浄化装置及び浄化方法
1か月前
三機工業株式会社
貫通穴の止水構造および止水方法
2か月前
三機工業株式会社
動作装置の位置確認機構および装置
9日前
三機工業株式会社
クリーンルームの風量制御システム
1か月前
三機工業株式会社
ダクトの吊下作業方法およびシステム
1か月前
三機工業株式会社
クレーン運転システム及びごみ処理方法
4日前
三機工業株式会社
クレーン運転システム及びごみ処理方法
4日前
三機アクアテック株式会社
汚泥かき寄せ装置
4日前
三機工業株式会社
施工管理装置、施工管理方法、及び施工管理プログラム
3日前
三機工業株式会社
壁吸い込みフィルタユニットのパンチングフェースおよび戸袋の構造
2日前
三機工業株式会社
ログデータ分析用のサーバ装置、プログラム、データ分析システム、及びデータ分析方法
10日前
個人
地球保全システム
10日前
個人
QRコードの彩色
1日前
個人
工程設計支援装置
1か月前
個人
フラワーコートA
2か月前
個人
冷凍食品輸出支援構造
1か月前
個人
為替ポイント伊達夢貯
1か月前
個人
残土処理システム
3日前
個人
携帯情報端末装置
1か月前
個人
表変換編集支援システム
1か月前
個人
結婚相手紹介支援システム
1か月前
個人
知的財産出願支援システム
4日前
個人
知財出願支援AIシステム
1か月前
個人
行動時間管理システム
1か月前
個人
パスワード管理支援システム
1か月前
個人
AIによる情報の売買の仲介
1か月前
個人
AIキャラクター制御システム
1か月前
日本精機株式会社
施工管理システム
1か月前
続きを見る
他の特許を見る