TOP
|
特許
|
意匠
|
商標
特許ウォッチ
Twitter
他の特許を見る
公開番号
2025154571
公報種別
公開特許公報(A)
公開日
2025-10-10
出願番号
2024057652
出願日
2024-03-29
発明の名称
ハニカムフィルタ
出願人
日本碍子株式会社
代理人
弁理士法人光陽国際特許事務所
,
個人
,
個人
主分類
B01D
46/00 20220101AFI20251002BHJP(物理的または化学的方法または装置一般)
要約
【課題】捕集性能に優れたハニカムフィルタを提供する。
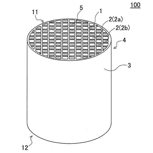
【解決手段】第一端面11から第二端面12まで延びる複数のセル2を取り囲むように配置された多孔質の隔壁1を有する柱状のハニカム構造部4と、それぞれのセル2のいずれか一方の開口部に配設された目封止部5と、を備え、構造解析によって求められた隔壁1の細孔径分布において、累積細孔容積が総細孔容積の90%となる細孔径(m)をD90(m)とし、当該構造解析によって求められた隔壁1の多孔質構造において、当該多孔質構造中の連通気孔の流路面積が最小となるネック部の円相当径の平均値(m)を平均ネック径(m)とし、D90(m)と平均ネック径(m)の積が、1.0×10
-10
m
2
以上、9.0×10
-10
m
2
以下である。
【選択図】図1
特許請求の範囲
【請求項1】
第一端面から第二端面まで延びる流体の流路となる複数のセルを取り囲むように配置された多孔質の隔壁を有する柱状のハニカム構造部と、
それぞれの前記セルの前記第一端面側又は前記第二端面側の開口部に配設された目封止部と、を備え、
構造解析によって求められた前記隔壁の細孔径分布において、累積細孔容積が総細孔容積の90%となる細孔径(m)をD90(m)とし、
前記構造解析によって求められた前記隔壁の多孔質構造において、当該多孔質構造中の連通気孔の流路面積が最小となるネック部の円相当径の平均値(m)を平均ネック径(m)とし、
前記D90(m)と前記平均ネック径(m)の積が、1.0×10
-10
m
2
以上、9.0×10
-10
m
2
以下である、ハニカムフィルタ。
続きを表示(約 590 文字)
【請求項2】
前記D90(m)が、1.0×10
-5
m以上、8.0×10
-5
m以下である、請求項1に記載のハニカムフィルタ。
【請求項3】
前記平均ネック径(m)が、5.0×10
-6
m以上、1.7×10
-5
m以下である、請求項1又は2に記載のハニカムフィルタ。
【請求項4】
前記構造解析によって求められた前記隔壁の細孔径分布において、累積細孔容積が総細孔容積の10%となる細孔径(m)をD10(m)とし、
前記D10(m)が、5.0×10
-6
m以上、2.5×10
-5
m以下である、請求項1又は2に記載のハニカムフィルタ。
【請求項5】
前記構造解析によって求められた前記隔壁の細孔径分布において、累積細孔容積が総細孔容積の50%となる細孔径(m)をD50(m)とし、
前記D50(m)が、1.7×10
-5
m以上、4.1×10
-5
m以下である、請求項1又は2に記載のハニカムフィルタ。
【請求項6】
前記構造解析によって求められた前記隔壁の気孔率(%)が、33%以上、65%以下である、請求項1又は2に記載のハニカムフィルタ。
発明の詳細な説明
【技術分野】
【0001】
本発明は、ハニカムフィルタに関する。更に詳しくは、捕集性能に優れたハニカムフィルタに関する。
続きを表示(約 2,100 文字)
【背景技術】
【0002】
従来、自動車のエンジン等の内燃機関より排出される排ガス中の粒子状物質を捕集するフィルタや、CO,HC,NOxなどの有毒なガス成分を浄化する装置として、ハニカム構造体を用いたハニカムフィルタが知られている(特許文献1~5参照)。ハニカム構造体は、コージェライトなどの多孔質セラミックスによって構成された隔壁を有し、この隔壁によって複数のセルが区画形成されたものである。ハニカムフィルタは、上述したハニカム構造体に対して、複数のセルの流入端面側の開口部と流出端面側の開口部とを交互に目封止するように目封止部を配設したものである。即ち、ハニカムフィルタは、流入端面側が開口し且つ流出端面側が目封止された流入セルと、流入端面側が目封止され且つ流出端面側が開口した流出セルとが、隔壁を挟んで交互に配置された構造となっている。そして、ハニカムフィルタにおいては、多孔質の隔壁が、排ガス中の粒子状物質を捕集するフィルタの役目を果たしている。以下、排ガスに含まれる粒子状物質を、「PM」ということがある。「PM」は、「particulate matter」の略である。
【0003】
ハニカムフィルタによる排ガスの浄化は、以下のようにして行われる。まず、ハニカムフィルタは、その流入端面側が、排ガスが排出される排気系の上流側に位置するように配置される。排ガスは、ハニカムフィルタの流入端面側から、流入セルに流入する。そして、流入セルに流入した排ガスは、多孔質の隔壁を通過し、流出セルへと流れ、ハニカムフィルタの流出端面から排出される。多孔質の隔壁を通過する際に、排ガス中のPM等が捕集され除去される。
【先行技術文献】
【特許文献】
【0004】
特許第5507575号公報
特許第5469335号公報
特許第5518327号公報
特許第5372494号公報
特許第6004150号公報
【発明の概要】
【発明が解決しようとする課題】
【0005】
自動車のエンジンから排出される排ガスの浄化に使用されるハニカムフィルタは、多孔質の隔壁として、気孔率の高い高気孔率の多孔質体が採用されていた。近年、自動車排出ガス規制の強化等により、ハニカムフィルタの捕集性能の更なる向上が求められている。
【0006】
従来、ハニカムフィルタの捕集性能を向上するために、例えば、多孔質の隔壁の平均細孔径や細孔径分布をコントロールすることが行われている。例えば、細孔径分布のコントロールとしては、上述した平均細孔径を調整したり、また、累積細孔容積が総細孔容積の90%となる細孔径D90の値などを調整したりして、ハニカムフィルタの捕集性能の向上を図る試みがなされた。
【0007】
排ガス中のスス等のPMは、ハニカムフィルタを構成する多孔質の隔壁の気孔によって捕集されるのであるが、特に、隔壁の気孔における流路面積が狭くなるネック部分が捕集性能に影響を及ぼすことがある。従来、隔壁の平均細孔径や細孔径分布は、水銀ポロシメータなどによる水銀圧入法によって測定されている。しかしながら、従来の水銀ポロシメータなどの測定では、隔壁内の気孔におけるネック部分の径(以下、「ネック径」ともいう)の情報を得ることができなかった。このため、従来技術で規定していた平均細孔径や細孔径分布などのパラメータをコントロールするだけでは、十分の捕集性能の向上が実現するとは限らず、ハニカムフィルタの捕集性能を向上するための新たな技術の開発が要望されていた。
【0008】
本発明は、このような従来技術の有する問題点に鑑みてなされたものである。本発明によれば、捕集性能に優れたハニカムフィルタが提供される。
【課題を解決するための手段】
【0009】
本発明によれば、以下に示す、ハニカムフィルタが提供される。
【0010】
[1] 第一端面から第二端面まで延びる流体の流路となる複数のセルを取り囲むように配置された多孔質の隔壁を有する柱状のハニカム構造部と、
それぞれの前記セルの前記第一端面側又は前記第二端面側の開口部に配設された目封止部と、を備え、
構造解析によって求められた前記隔壁の細孔径分布において、累積細孔容積が総細孔容積の90%となる細孔径(m)をD90(m)とし、
前記構造解析によって求められた前記隔壁の多孔質構造において、当該多孔質構造中の連通気孔の流路面積が最小となるネック部の円相当径の平均値(m)を平均ネック径(m)とし、
前記D90(m)と前記平均ネック径(m)の積が、1.0×10
-10
m
2
以上、9.0×10
-10
m
2
以下である、ハニカムフィルタ。
(【0011】以降は省略されています)
この特許をJ-PlatPat(特許庁公式サイト)で参照する
関連特許
日本碍子株式会社
電池
1か月前
日本碍子株式会社
熱交換器
13日前
日本碍子株式会社
把持方法
9日前
日本碍子株式会社
熱交換器
5日前
日本碍子株式会社
ガスセンサ
1か月前
日本碍子株式会社
空調システム
1か月前
日本碍子株式会社
亜鉛二次電池
4日前
日本碍子株式会社
ハニカム構造体
2日前
日本碍子株式会社
ハニカム構造体
3日前
日本碍子株式会社
ハニカム構造体
1か月前
日本碍子株式会社
ハニカム構造体
24日前
日本碍子株式会社
ハニカム構造体
13日前
日本碍子株式会社
電気加熱式担体
3日前
日本碍子株式会社
ハニカム構造体
9日前
日本碍子株式会社
電気加熱式担体
2日前
日本碍子株式会社
ハニカム構造体
2日前
日本碍子株式会社
金属溶湯濾過部材
2か月前
日本碍子株式会社
ハニカムフィルタ
2日前
日本碍子株式会社
アルカリ二次電池
13日前
日本碍子株式会社
メタン製造反応器
2日前
日本碍子株式会社
導波素子の製造方法
16日前
日本碍子株式会社
半導体製造装置用部材
2か月前
日本碍子株式会社
三相型ハニカムヒータ
2日前
日本碍子株式会社
半導体製造装置用部材
1か月前
日本碍子株式会社
ウォーキングビーム炉
4日前
日本碍子株式会社
センサ素子およびガスセンサ
1か月前
日本碍子株式会社
セラミックス部材の製造方法
4日前
日本碍子株式会社
センサ素子およびガスセンサ
11日前
日本碍子株式会社
ロボットハンドおよびロボット
9日前
日本碍子株式会社
AlN単結晶基板及びデバイス
13日前
日本碍子株式会社
セラミックス試料の酸分解方法
3日前
日本碍子株式会社
ロボットハンドおよびロボット
9日前
日本碍子株式会社
浄水膜構造体および浄水膜組立体
3日前
日本碍子株式会社
流体処理装置用筒状部材の製造方法
2か月前
日本碍子株式会社
ハニカム構造体及びハニカムヒータ
2日前
日本碍子株式会社
車両用空調システム及びその制御方法
1か月前
続きを見る
他の特許を見る