TOP
|
特許
|
意匠
|
商標
特許ウォッチ
Twitter
他の特許を見る
公開番号
2025148187
公報種別
公開特許公報(A)
公開日
2025-10-07
出願番号
2024048820
出願日
2024-03-25
発明の名称
シートクッションエアバッグ装置およびシートクッションエアバッグ構造体
出願人
豊田合成株式会社
代理人
弁理士法人 共立特許事務所
主分類
B60N
2/42 20060101AFI20250930BHJP(車両一般)
要約
【課題】展開膨張時のシートクッションエアバッグに下方から大きな面積で当接してこれを支持し、かつ、座席の座り心地を良好に維持し得るシートクッションエアバッグ装置を提供すること。
【解決手段】
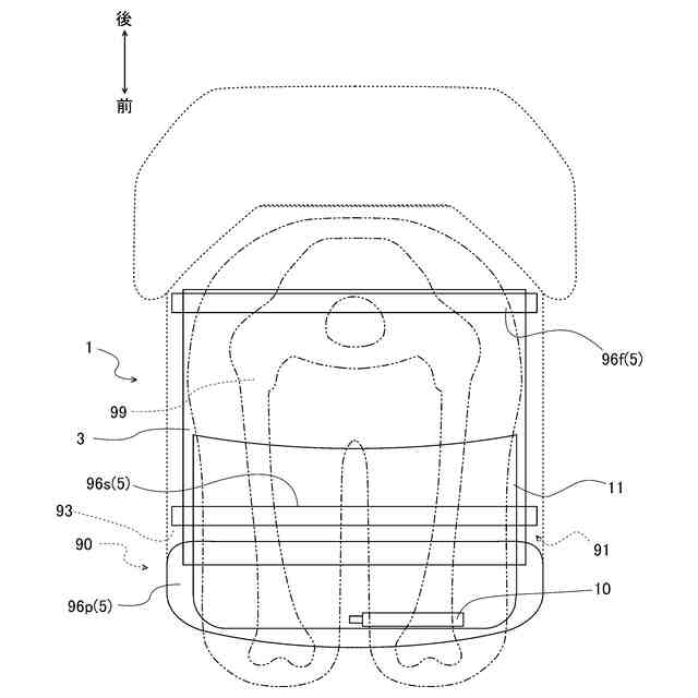
車両の座席90における座面93の下方、かつ、前記座席90におけるシート支持部5の上方に配置され、前記車両の衝撃発生時に展開膨張するシートクッションエアバッグ11と、
布帛製のテザー部3と、を具備し、
前記テザー部3は、前記シートクッションエアバッグ11の下方の位置で、前記座席90における前後方向の少なくとも一部の領域および/または前記座席90における幅方向の少なくとも一部の領域において、前記シート支持部5に架け渡される、シートクッションエアバッグ装置1。
【選択図】図3
特許請求の範囲
【請求項1】
車両の座席における座面の下方に配置されるシート支持部と、
前記座面の下方かつ前記シート支持部の上方に配置され前記車両の衝撃発生時に展開膨張するシートクッションエアバッグと、
布帛製のテザー部と、を具備し、
前記テザー部は、前記シートクッションエアバッグの下方の位置で、前記座席における前後方向の少なくとも一部の領域および/または前記座席における幅方向の少なくとも一部の領域において、前記シート支持部に架け渡される、シートクッションエアバッグ構造体。
続きを表示(約 1,300 文字)
【請求項2】
車両の座席における座面の下方、かつ、前記座席におけるシート支持部の上方に配置され、前記車両の衝撃発生時に展開膨張するシートクッションエアバッグと、
布帛製のテザー部と、を具備し、
前記テザー部は、前記シートクッションエアバッグの下方の位置で、前記座席における前後方向の少なくとも一部の領域および/または前記座席における幅方向の少なくとも一部の領域において、前記シート支持部に架け渡される、シートクッションエアバッグ装置。
【請求項3】
前記シート支持部は、
前記座部に対して前記幅方向に架け渡されているシートバーと、
板状をなし、前記前後方向において前記シートバーよりも前方にあるシートパンと、を含み、
前記テザー部は、前記シートバーと前記シートパンとに架け渡されている、請求項2に記載のシートクッションエアバッグ装置。
【請求項4】
前記シート支持部は、
前記座部に対して前記幅方向に架け渡されている第1シートバーと、
前記座部に対して前記幅方向に架け渡され、前記前後方向において前記第1シートバーよりも前方にある第2シートバーと、
板状をなし、前記第2シートバーよりも前記前方にあるシートパンと、から選ばれる少なくとも2つを含み、
前記テザー部は、前記第1シートバー、前記第2シートバーおよび前記シートパンから選ばれる前記少なくとも2つに架け渡されている、請求項2に記載のシートクッションエアバッグ装置。
【請求項5】
前記テザー部は、前記前後方向の少なくとも一部の領域において前記シート支持部に架け渡され、
前記衝撃発生時に前記前後方向に向けた張力を前記テザー部に対して付与する、張力付与要素を具備する、請求項2または請求項3に記載のシートクッションエアバッグ装置。
【請求項6】
前記シートクッションエアバッグは、展開膨張時において下方に突起する下方押圧部を有し、
前記張力付与要素は前記下方押圧部である、請求項5に記載のシートクッションエアバッグ装置。
【請求項7】
前記シートクッションエアバッグは、展開膨張時において上方に位置変化する上方引張部を有し、
前記テザー部のうち前記シートクッションエアバッグよりも前記前後方向の前方および/または後方にある部分は、前記上方引張部に一体化され、
前記張力付与要素は前記上方引張部である、請求項5に記載のシートクッションエアバッグ装置。
【請求項8】
前記テザー部に接続され前記衝撃発生時に前記テザー部を引っ張る電動アクチュエータを有し、
前記張力付与要素は前記電動アクチュエータである、請求項5に記載のシートクッションエアバッグ装置。
【請求項9】
前記テザー部が前記シート支持部に架け渡される方向と前記テザー部における経糸の延びる方向とのなす角は、0度または90度である、請求項2または請求項3に記載のシートクッションエアバッグ装置。
発明の詳細な説明
【技術分野】
【0001】
本発明は、車両の座席に搭載されるシートクッションエアバッグ装置およびシートクッションエアバッグ構造体に関する。
続きを表示(約 1,500 文字)
【背景技術】
【0002】
衝突時等の車両における衝撃発生時に、車両の座席に着座している乗員が、シートベルトを装着しているにも拘わらず前方や下方に移動してしまう現象が生じることが知られている。
なお本明細書でいう前側、前方等とは、座席の座部に着座した乗員の身体を基準とした前後方向における前側、前方等を意味する。同様に、後側、後方等についても座席の座部に着座した乗員の身体を基準とした前後方向における後側、後方等を意味する。また本明細書において、後述する幅方向とは、水平かつ当該前後方向に直交する方向を意味する。さらに、上、下、とは鉛直方向の上、鉛直方向の下を意味する。
【0003】
上記の現象の一種として、例えば、乗員が座席の座面から前側下方に滑り落ちる現象(所謂サブマリン現象)が知られている。
当該サブマリン現象は、車両に対して前方からの衝撃が加わったときに、乗員の腰部が前方に移動して、シートベルトのうち乗員の腰部を拘束するための腰部ストラップ(腰ベルト、ラップストラップとも称される)を下側から潜り抜けることに因ると考えられている。
【0004】
これら乗員が移動してしまう現象を抑制するために、座席における座面よりも下側、より具体的には座部の内部に、シートクッションエアバッグと称されるエアバッグを設ける技術が提案されている(例えば、特許文献1参照)。
【0005】
例えば特許文献1に紹介されている技術では、衝撃発生時にシートクッションエアバッグを展開膨張させることで座席の座面を上昇させている。特許文献1の〔0007〕段落等には、シートクッションエアバッグが乗員の大腿部を持ち上げることで、乗員の前方への移動を抑制すると説明されている。
【先行技術文献】
【特許文献】
【0006】
特開2018-188123号公報
特開2012-106617号公報
【発明の概要】
【発明が解決しようとする課題】
【0007】
上記したように、特許文献1に紹介されているシートクッションエアバッグは衝撃発生時に展開膨張する。この展開膨張時において、当該シートクッションエアバッグは乗員の腰部の下方から当該腰部を上昇させる。そしてその結果、乗員の前方への移動が抑制され、ひいては上記のサブマリン現象が生じ難くなると考えられる。
【0008】
ここで、シートクッションエアバッグおよび座部の上方には乗員が着座し、当該座部には乗員に因る下向きの荷重が作用する。このため座部は、シートクッションエアバッグの展開膨張直後においては、乗員が妨げになって上方には変形し難い。
【0009】
つまり座部は、シートクッションエアバッグの展開膨張直後には、先ず変形し易い下方に向けて変形し、その後、上方に向けて変形する。したがってシートクッションエアバッグの展開膨張時には、座席の座部に、下方に向けた大きな力が作用する。
【0010】
衝撃発生時にシートベルトにより乗員を安定的に拘束し支持するためには、このとき座席に着座している乗員の腰部を大きく上昇させるのが好適であり、そのためにはシートクッションエアバッグを上下方向に大きく展開膨張させる必要がある。
しかしその一方で、シートクッションエアバッグを上下方向に大きく展開膨張させる場合、当該シートクッションエアバッグから座席の座部に作用する下方向の力もまた大きくなる。
(【0011】以降は省略されています)
この特許をJ-PlatPat(特許庁公式サイト)で参照する
関連特許
豊田合成株式会社
殺菌装置
1か月前
豊田合成株式会社
調光装置
4日前
豊田合成株式会社
発光素子
1か月前
豊田合成株式会社
表示装置
1か月前
豊田合成株式会社
操作装置
1か月前
豊田合成株式会社
着座装置
1か月前
豊田合成株式会社
ガラスラン
16日前
豊田合成株式会社
ガラスラン
16日前
豊田合成株式会社
ガラスラン
23日前
豊田合成株式会社
半導体素子
1か月前
豊田合成株式会社
機器制御装置
16日前
豊田合成株式会社
乗員保護装置
16日前
豊田合成株式会社
車両用内装品
18日前
豊田合成株式会社
車両用内装品
18日前
豊田合成株式会社
樹脂成形装置
24日前
豊田合成株式会社
流体殺菌装置
1か月前
豊田合成株式会社
車両用外装品
16日前
豊田合成株式会社
乗員保護装置
10日前
豊田合成株式会社
車載照明装置
1か月前
豊田合成株式会社
流体殺菌装置
1か月前
豊田合成株式会社
車両用外装品
1か月前
豊田合成株式会社
車両用外装品
1か月前
豊田合成株式会社
流体殺菌装置
1か月前
豊田合成株式会社
車両の前部構造
1か月前
豊田合成株式会社
電動液体ポンプ
16日前
豊田合成株式会社
電動液体ポンプ
16日前
豊田合成株式会社
空調用レジスタ
17日前
豊田合成株式会社
電動液体ポンプ
16日前
豊田合成株式会社
電動液体ポンプ
16日前
豊田合成株式会社
空調用レジスタ
17日前
豊田合成株式会社
空調用レジスタ
17日前
豊田合成株式会社
立体エアバッグ
1か月前
豊田合成株式会社
ミスト噴射装置
1か月前
豊田合成株式会社
電動液体ポンプ
16日前
豊田合成株式会社
立体エアバッグ
16日前
豊田合成株式会社
エアバッグ装置
10日前
続きを見る
他の特許を見る