TOP
|
特許
|
意匠
|
商標
特許ウォッチ
Twitter
他の特許を見る
公開番号
2025142635
公報種別
公開特許公報(A)
公開日
2025-10-01
出願番号
2024042098
出願日
2024-03-18
発明の名称
冷却貯蔵庫
出願人
ホシザキ株式会社
代理人
弁理士法人暁合同特許事務所
主分類
F25D
11/00 20060101AFI20250924BHJP(冷凍または冷却;加熱と冷凍との組み合わせシステム;ヒートポンプシステム;氷の製造または貯蔵;気体の液化または固体化)
要約
【課題】制御部と圧縮機制御部の間の通信において通信異常が発生した場合に、圧縮機を適切に動作させることが可能な冷却貯蔵庫を提供する。
【解決手段】圧縮機25と、制御部40と、圧縮機25の動作を制御する圧縮機制御部52と、通信部51と、を備え、圧縮機制御部52から通信部51への通信に係る異常である第1通信異常が発生した場合且つ圧縮機25が動作している場合に、制御部40は、予め設定された第1回転数R1を目標回転数RMとして、通信部51に送信する第1処理を実行し、第1通信異常が発生した場合且つ圧縮機25が停止している場合に、制御部40は、測定温度TSが、目標設定温度TMに第1所定温度T1を加えた上限設定温度T3になるまで圧縮機25を停止させた後、測定温度TSが、上限設定温度TS3以上になった場合には、第1回転数R1を目標回転数RMとして、通信部51に送信する第2処理を実行する。
【選択図】図4
特許請求の範囲
【請求項1】
貯蔵物が収容される貯蔵室と、
冷媒を圧縮する圧縮機と、
前記圧縮機で圧縮された前記冷媒が蒸発することで周囲の空気を冷却する冷却器と、
前記冷却器によって冷却された空気を前記貯蔵室に送る冷却ファンと、
前記貯蔵室の温度を測定する貯蔵室温度センサと、
制御部と、
前記圧縮機の動作を制御する圧縮機制御部と、
前記制御部と前記圧縮機制御部との間の通信を行う通信部と、
を備え、
前記制御部は、前記貯蔵室温度センサによって測定された前記貯蔵室の測定温度が、予め設定された目標設定温度となるように、前記冷却ファンの動作を制御すると共に前記圧縮機の目標回転数を決定する冷却運転を実行するものとされ、
前記冷却運転において、前記圧縮機制御部は、前記圧縮機の回転数が、前記通信部を介して前記制御部から送信された前記目標回転数となるように、前記圧縮機の動作を制御するものとされ、
前記冷却運転中において、前記圧縮機制御部から前記通信部への通信に係る異常である第1通信異常が発生した場合且つ前記圧縮機が動作している場合に、前記制御部は、予め設定された第1回転数を前記目標回転数として、前記通信部に送信する第1処理を実行し、
前記冷却運転中において、前記第1通信異常が発生した場合且つ前記圧縮機が停止している場合に、前記制御部は、前記測定温度が、前記目標設定温度に第1所定温度を加えた上限設定温度になるまで前記圧縮機を停止させた後、前記測定温度が、前記上限設定温度以上になった場合には、前記第1回転数を前記目標回転数として、前記通信部に送信する第2処理を実行する、冷却貯蔵庫。
続きを表示(約 190 文字)
【請求項2】
前記冷却運転中に、前記通信部から前記圧縮機制御部への通信に係る異常である第2通信異常が第1所定時間継続した場合且つ前記圧縮機が動作している場合に、前記圧縮機制御部は、前記第2通信異常が発生してから第2所定時間の間、前記圧縮機を前記第2通信異常が発生した時点の回転数で動作させた後、前記圧縮機を停止させる第3処理を実行する、請求項1に記載の冷却貯蔵庫。
発明の詳細な説明
【技術分野】
【0001】
本明細書で開示される技術は、冷却貯蔵庫に関する。
続きを表示(約 2,600 文字)
【背景技術】
【0002】
従来、冷却貯蔵庫として、下記特許文献1に記載のものが知られている。この特許文献1に記載された冷却貯蔵庫は、貯蔵物が収容される貯蔵室と、冷媒を圧縮する圧縮機と、圧縮機で圧縮された冷媒が蒸発することで周囲の空気を冷却する冷却器と、冷却器で生成された冷気を貯蔵室に送る冷却ファンと、を備える。
【先行技術文献】
【特許文献】
【0003】
特開2006-317073号公報
【発明の概要】
【発明が解決しようとする課題】
【0004】
上記のように圧縮機を備える構成においては、回転数が変更可能な圧縮機(例えばインバータ方式の圧縮機)を用いることで、より効率良く、貯蔵室を冷却することが可能なものが知られている。この場合、冷却貯蔵庫の各機器を制御するメインの制御部とは別に圧縮機の動作を制御する専用の圧縮機制御部を備えることが一般的である。例えば、圧縮機制御部は、メインの制御部によって決定された目標回転数となるように圧縮機の回転数を制御する。ところで、圧縮機制御部は、圧縮機を製造するメーカーによって製造される汎用品であることが一般的であり、冷却貯蔵庫を製造するメーカーは、このような汎用品を用いることで、冷却貯蔵庫をより低コストで製造することができる。しかしながら、メインの制御部と圧縮機制御部においては、通信方式(より詳しくは、データの授受の方式)が相違する場合がある。制御部及び圧縮機制御部の通信方式が異なる場合には、制御部と圧縮機制御部の間の通信を行う通信部を設ける必要がある。通信部を介して制御部と圧縮機制御部の通信を行う場合、電気的なノイズ等によって通信異常が発生する事態が懸念される。従来、通信異常が発生した場合の対応として、圧縮機を停止させている。しかしながら、圧縮機を停止させると、貯蔵室内の温度が上昇してしまう。
【0005】
本明細書で開示される技術は上記のような事情に基づいて完成されたものであって、制御部と圧縮機制御部の間の通信において通信異常が発生した場合に、圧縮機を適切に動作させることが可能な冷却貯蔵庫を提供することを目的とする。
【課題を解決するための手段】
【0006】
上記課題を解決するための手段として、本明細書で開示される冷却貯蔵庫は、貯蔵物が収容される貯蔵室と、冷媒を圧縮する圧縮機と、前記圧縮機で圧縮された前記冷媒が蒸発することで周囲の空気を冷却する冷却器と、前記冷却器によって冷却された空気を前記貯蔵室に送る冷却ファンと、前記貯蔵室の温度を測定する貯蔵室温度センサと、制御部と、前記圧縮機の動作を制御する圧縮機制御部と、前記制御部と前記圧縮機制御部との間の通信を行う通信部と、備え、前記制御部は、前記貯蔵室温度センサによって測定された前記貯蔵室の測定温度が、予め設定された目標設定温度となるように、前記冷却ファンの動作を制御すると共に前記圧縮機の目標回転数を決定する冷却運転を実行するものとされ、前記冷却運転において、前記圧縮機制御部は、前記圧縮機の回転数が、前記通信部を介して前記制御部から送信された前記目標回転数となるように、前記圧縮機の動作を制御するものとされ、前記冷却運転中において、前記圧縮機制御部から前記通信部への通信に係る異常である第1通信異常が発生した場合且つ前記圧縮機が動作している場合に、前記制御部は、予め設定された第1回転数を前記目標回転数として、前記通信部に送信する第1処理を実行し、前記冷却運転中において、前記第1通信異常が発生した場合且つ前記圧縮機が停止している場合に、前記制御部は、前記測定温度が、前記目標設定温度に第1所定温度を加えた上限設定温度になるまで前記圧縮機を停止させた後、前記測定温度が、前記上限設定温度以上になった場合には、前記第1回転数を前記目標回転数として、前記通信部に送信する第2処理を実行することを特徴とする。
【0007】
また、前記冷却運転中に、前記通信部から前記圧縮機制御部への通信に係る異常である第2通信異常が第1所定時間継続した場合且つ前記圧縮機が動作している場合に、前記圧縮機制御部は、前記第2通信異常が発生してから第2所定時間の間、前記圧縮機を前記第2通信異常が発生した時点の回転数で動作させた後、前記圧縮機を停止させる第3処理を実行するものとすることができる。
【発明の効果】
【0008】
本発明によれば、制御部と圧縮機制御部の間の通信において通信異常が発生した場合に、圧縮機を適切に動作させることが可能な冷却貯蔵庫を提供することができる。
【図面の簡単な説明】
【0009】
本発明の実施形態1に係る冷却貯蔵庫を示す正面図
冷却貯蔵庫を示す断面図
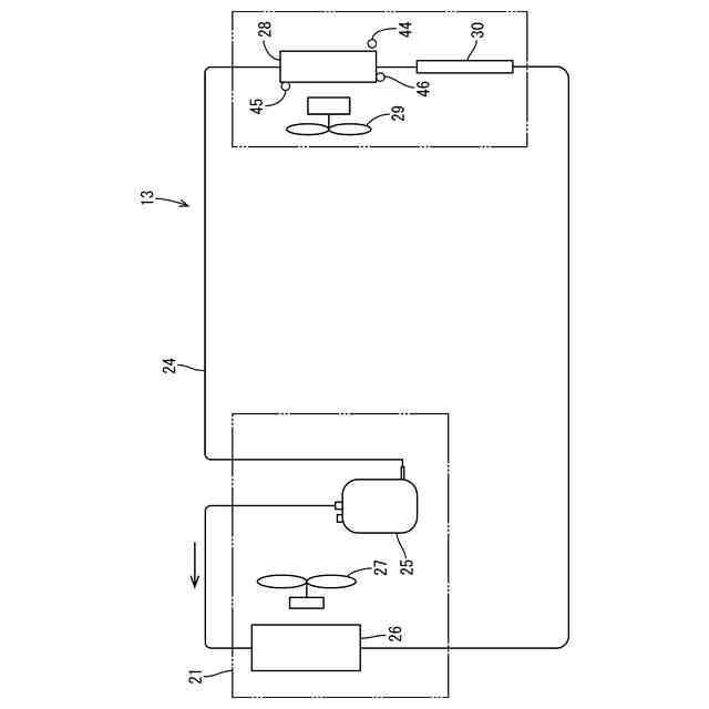
冷却貯蔵庫が備える冷却サイクルを示す図
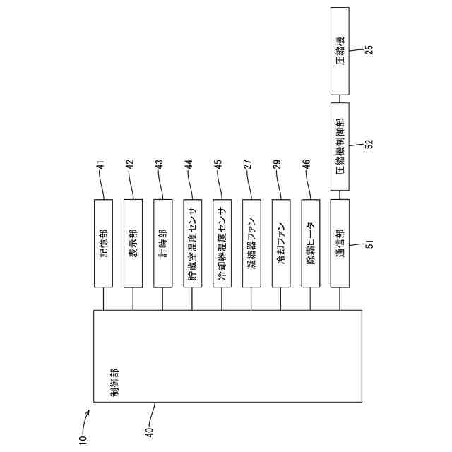
冷却貯蔵庫の電気的構成を示すブロック図
第1通信異常が発生した際の制御部の動作を示すフローチャート
第2通信異常が発生した際の圧縮機制御部の動作を示すフローチャート
本発明の実施形態2に係る冷却貯蔵庫を示す正面図
【発明を実施するための形態】
【0010】
<実施形態1>
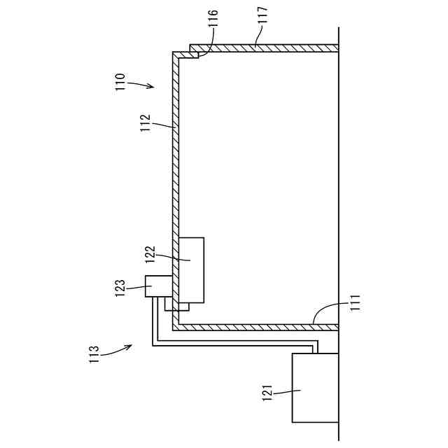
本発明の実施形態1を図1から図6によって説明する。なお、図1及び図2に示した符号F,Rr,L,R,U,Dはそれぞれ、冷却貯蔵庫10の前後方向における前,後,正面から見たときの幅方向における左,右,鉛直方向の上,下を示している。本実施形態では、図1に示すように、冷却貯蔵庫10として、縦形冷蔵庫を例示する。冷却貯蔵庫10は、図1及び図2に示すように、貯蔵物が収容される貯蔵室11を有する断熱箱体である貯蔵庫本体12と、貯蔵庫本体12の上方に設けられた機械室14と、冷却装置13(図3参照)と、を備える。貯蔵庫本体12の前面(図2における左側の面)は開口されており、その開口は、水平方向に延びる仕切枠15によって仕切られている。これにより、貯蔵室11は、上下方向に配列された2つの開口部11A,11Aを有している。
(【0011】以降は省略されています)
この特許をJ-PlatPat(特許庁公式サイト)で参照する
関連特許
ホシザキ株式会社
洗浄機
2か月前
ホシザキ株式会社
製氷機
2か月前
ホシザキ株式会社
製氷機
2か月前
ホシザキ株式会社
製氷機
2か月前
ホシザキ株式会社
製氷機
13日前
ホシザキ株式会社
冷凍装置
2か月前
ホシザキ株式会社
再加熱器
28日前
ホシザキ株式会社
再加熱器
28日前
ホシザキ株式会社
再加熱器
28日前
ホシザキ株式会社
冷却貯蔵庫
7日前
ホシザキ株式会社
冷却貯蔵庫
2か月前
ホシザキ株式会社
冷却貯蔵庫
2か月前
ホシザキ株式会社
冷却貯蔵庫
1か月前
ホシザキ株式会社
冷却貯蔵庫
1か月前
ホシザキ株式会社
冷却貯蔵庫
27日前
ホシザキ株式会社
加熱調理器
2か月前
ホシザキ株式会社
冷却貯蔵庫
2か月前
ホシザキ株式会社
洗浄システム
2か月前
ホシザキ株式会社
天板付き機器
13日前
ホシザキ株式会社
液体凍結装置
1か月前
ホシザキ株式会社
LED駆動装置
3か月前
ホシザキ株式会社
真空マイクロ波解凍機
2か月前
タニコー株式会社
貯水槽
1か月前
株式会社コロナ
空気調和装置
2か月前
株式会社コロナ
ヒートポンプ装置
1か月前
アクア株式会社
冷蔵庫
2か月前
アクア株式会社
冷蔵庫
1か月前
ホシザキ株式会社
製氷機
13日前
個人
ヒートポンプ型空気調和機
19日前
富士電機株式会社
冷却装置
1か月前
富士電機株式会社
冷却装置
1か月前
富士電機株式会社
冷却装置
12日前
株式会社ツインバード
スターリング機関
1か月前
ホシザキ株式会社
冷凍装置
2か月前
フクシマガリレイ株式会社
冷却庫
2か月前
シャープ株式会社
冷蔵庫
2か月前
続きを見る
他の特許を見る