TOP
|
特許
|
意匠
|
商標
特許ウォッチ
Twitter
他の特許を見る
公開番号
2025148940
公報種別
公開特許公報(A)
公開日
2025-10-08
出願番号
2024049321
出願日
2024-03-26
発明の名称
電池交換装置
出願人
トヨタ自動車株式会社
代理人
弁理士法人深見特許事務所
主分類
B60L
53/80 20190101AFI20251001BHJP(車両一般)
要約
【課題】自走することができない電動車両に対しても容易に電池交換を行うことが可能な電池交換装置を提供する。
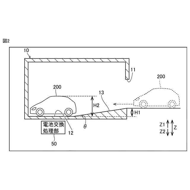
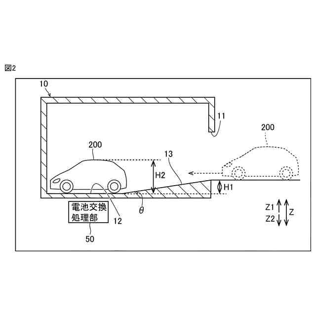
【解決手段】電池交換装置100は、電動車両200に搭載された電池を交換するため電池交換処理を実行する電池交換処理部50と、電池交換処理部50によって電池交換処理が行われる間に電動車両200が配置される車両配置部12と、車両配置部12に電動車両200を導入するための導入路13と、を備える。導入路13は、車両配置部12に向かって下方に傾斜している。
【選択図】図2
特許請求の範囲
【請求項1】
電動車両に搭載された電池を交換するための電池交換処理を実行する電池交換装置であって、
前記電池交換処理を実行する電池交換処理部と、
前記電池交換処理部によって前記電池交換処理が行われる間に前記電動車両が配置される車両配置部と、
前記車両配置部に前記電動車両を導入するための導入路と、を備え、
前記導入路は、前記車両配置部に向かって下方に傾斜している、電池交換装置。
発明の詳細な説明
【技術分野】
【0001】
本開示は、電池交換装置に関する。
続きを表示(約 1,100 文字)
【背景技術】
【0002】
特開2012-006591号公報(特許文献1)には、高床式取替えレーンを有する交換ステーションが開示されている。自動車が交換ステーションの交換用傾斜台の上に乗っている状態で、自動車のバッテリ交換が行われる。交換用傾斜台は、地表面よりも上方に配置されている。
【先行技術文献】
【特許文献】
【0003】
特開2012-006591号公報
【発明の概要】
【発明が解決しようとする課題】
【0004】
上記特許文献1に記載されている高床式取替えレーン(電池交換装置)では、車両は、電欠等により自走できない場合に、交換用傾斜台(バッテリ交換が行われる位置)まで到達することができない。
【0005】
本開示は、上記課題を解決するためになされたものであり、その目的は、自走することができない電動車両に対しても容易に電池交換を行うことが可能な電池交換装置を提供することである。
【課題を解決するための手段】
【0006】
本開示の一の局面に係る電池交換装置は、電動車両に搭載された電池を交換するための電池交換処理を実行する電池交換装置であって、電池交換処理を実行する電池交換処理部と、電池交換処理部によって電池交換処理が行われる間に電動車両が配置される車両配置部と、車両配置部に電動車両を導入するための導入路と、を備える。導入路は、車両配置部に向かって下方に傾斜している。
【0007】
本開示の一の局面に係る電池交換装置では、上記のように、導入路が車両配置部に向かって下方に傾斜している。これにより、電動車両は、自重によって、車両配置部に向かって導入路を走行することができる。その結果、電動車両を容易に車両配置部まで移動させることができる。これにより、電動車両が自走することができない場合でも、容易に電池交換を行うことができる。
【発明の効果】
【0008】
本開示によれば、自走することができない電動車両に対しても容易に電池交換を行うことができる。
【図面の簡単な説明】
【0009】
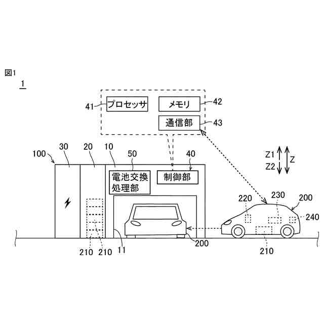
一実施形態による電池交換システムの構成を示す図である。
一実施形態による電池交換装置本体の内部構造を示す図である。
一実施形態による電池交換装置の制御を示すフロー図である。
【発明を実施するための形態】
【0010】
以下、本開示の実施形態について、図面を参照しながら詳細に説明する。図中、同一または相当部分には同一符号を付してその説明は繰り返さない。
(【0011】以降は省略されています)
この特許をJ-PlatPat(特許庁公式サイト)で参照する
関連特許
トヨタ自動車株式会社
電池
1日前
トヨタ自動車株式会社
車両
6日前
トヨタ自動車株式会社
車両
6日前
トヨタ自動車株式会社
電池
2日前
トヨタ自動車株式会社
電動車
6日前
トヨタ自動車株式会社
電動車
2日前
トヨタ自動車株式会社
電動車
6日前
トヨタ自動車株式会社
電動車
6日前
トヨタ自動車株式会社
ケース
1日前
トヨタ自動車株式会社
電解液
6日前
トヨタ自動車株式会社
回転子
6日前
トヨタ自動車株式会社
蓄電装置
7日前
トヨタ自動車株式会社
ロボット
2日前
トヨタ自動車株式会社
切断装置
6日前
トヨタ自動車株式会社
蓄電セル
6日前
トヨタ自動車株式会社
育苗装置
7日前
トヨタ自動車株式会社
駆動装置
6日前
トヨタ自動車株式会社
蓄電装置
7日前
トヨタ自動車株式会社
制御装置
6日前
トヨタ自動車株式会社
電動車両
6日前
トヨタ自動車株式会社
蓄電装置
6日前
トヨタ自動車株式会社
電源装置
6日前
トヨタ自動車株式会社
路側装置
1日前
トヨタ自動車株式会社
制御装置
1日前
トヨタ自動車株式会社
蓄電装置
1日前
トヨタ自動車株式会社
積層構造体
6日前
トヨタ自動車株式会社
シフト機構
6日前
トヨタ自動車株式会社
電極積層体
7日前
トヨタ自動車株式会社
電気自動車
6日前
トヨタ自動車株式会社
電池パック
2日前
トヨタ自動車株式会社
電池パック
2日前
トヨタ自動車株式会社
電池パック
6日前
トヨタ自動車株式会社
車両診断装置
6日前
トヨタ自動車株式会社
車両制御装置
6日前
トヨタ自動車株式会社
充電システム
6日前
トヨタ自動車株式会社
コネクタ構造
6日前
続きを見る
他の特許を見る