TOP
|
特許
|
意匠
|
商標
特許ウォッチ
Twitter
他の特許を見る
公開番号
2025145224
公報種別
公開特許公報(A)
公開日
2025-10-03
出願番号
2024045300
出願日
2024-03-21
発明の名称
コネクタ構造
出願人
トヨタ自動車株式会社
代理人
弁理士法人 快友国際特許事務所
主分類
H01R
13/631 20060101AFI20250926BHJP(基本的電気素子)
要約
【課題】電気機器のケーシングにおけるケーブルコネクタの取付位置に自由度を与えるための技術を提供する。
【解決手段】電気機器のケーシングに電気ケーブルを着脱可能に取り付けるためのコネクタ構造は、ケーブルコネクタと、コネクタ取付部材と、グロメットと、を備える。コネクタ取付部材は、ケーシングの外部に位置し、ケーブルコネクタを着脱可能に受け入れるコネクタ受入部と、コネクタ受入部からケーシングに向けて突出し、その一部がケーシングの開口内に位置する突出部と、突出部の外周面に設けられ、開口の周囲においてケーシングに当接するフランジ部と、を有する。開口内では、突出部の外周面の全周に亘って、開口の内周面との間に隙間が設けられている。グロメットは、弾性変形可能であって、突出部の外周面が開口の内周面に当接するまで、ケーシングに対するコネクタ取付部材の相対変位を許容する。
【選択図】図1
特許請求の範囲
【請求項1】
電気機器のケーシングに電気ケーブルを着脱可能に取り付けるためのコネクタ構造であって、
前記電気ケーブルの先端に設けられるケーブルコネクタと、
前記ケーシングの開口に設けられ、前記ケーブルコネクタが着脱可能に取り付けられるコネクタ取付部材と、
前記ケーシングと前記コネクタ取付部材とに亘って設けられ、前記ケーシングの前記開口と前記コネクタ取付部材との間をシールするグロメットと、
を備え、
前記コネクタ取付部材は、
前記ケーシングの外部に位置し、前記ケーブルコネクタを着脱可能に受け入れるコネクタ受入部と、
前記コネクタ受入部から前記ケーシングに向けて突出し、その一部が前記ケーシングの前記開口内に位置する突出部と、
前記突出部の外周面に設けられ、前記開口の周囲において前記ケーシングに当接するフランジ部と、
を有し、
前記開口内では、前記突出部の前記外周面の全周に亘って、前記開口の内周面との間に前記隙間が設けられ、
前記グロメットは、弾性変形可能であって、前記突出部の前記外周面が前記開口の内周面に当接するまで、前記ケーシングに対する前記コネクタ取付部材の相対変位を許容する、
コネクタ構造。
発明の詳細な説明
【技術分野】
【0001】
本明細書が開示する技術は、コネクタ構造に関し、特に、高圧機器のケーシングに高圧ケーブルを着脱可能に取り付けるためのコネクタ構造に関する。
続きを表示(約 1,800 文字)
【背景技術】
【0002】
特許文献1に記載されたコネクタ構造は、電気ケーブルの先端に設けられるケーブルコネクタに、可動コネクタを採用している。可動コネクタは、コイルばねによって付勢された可動部を有し、コネクタの取付方向における寸法公差を吸収することができる。
【先行技術文献】
【特許文献】
【0003】
実開平7-43729号公報
【発明の概要】
【発明が解決しようとする課題】
【0004】
特許文献1に記載されたコネクタ構造は、ケーブルコネクタに可動部が設けられているものの、電気機器のケーシングにおけるケーブルコネクタの取付位置は固定されており、自由度がない。従って、電気機器の組付位置によっては、ケーブルコネクタが届かないおそれがあり、それを避けるためには、電気ケーブルに大きな余長を与える必要がある。
【0005】
上記の実情を鑑み、本明細書は、電気機器のケーシングにおけるケーブルコネクタの取付位置に自由度を与えるための技術を提供する。
【課題を解決するための手段】
【0006】
本明細書が開示する技術は、電気機器のケーシングに電気ケーブルを着脱可能に取り付けるためのコネクタ構造に具現化される。このコネクタ構造は、前記電気ケーブルの先端に設けられるケーブルコネクタと、前記ケーシングの開口に設けられ、前記ケーブルコネクタが着脱可能に取り付けられるコネクタ取付部材と、前記ケーシングと前記コネクタ取付部材とに亘って設けられ、前記ケーシングの前記開口と前記コネクタ取付部材との間をシールするグロメットと、を備える。前記コネクタ取付部材は、前記ケーシングの外部に位置し、前記ケーブルコネクタを着脱可能に受け入れるコネクタ受入部と、前記コネクタ受入部から前記ケーシングに向けて突出し、その一部が前記ケーシングの前記開口内に位置する突出部と、前記突出部の外周面に設けられ、前記開口の周囲において前記ケーシングに当接するフランジ部と、を有する。前記開口内では、前記突出部の前記外周面の全周に亘って、前記開口の内周面との間に前記隙間が設けられている。前記グロメットは、弾性変形可能であって、前記突出部の前記外周面が前記開口の内周面に当接するまで、前記ケーシングに対する前記コネクタ取付部材の相対変位を許容する。
【0007】
上記した構成では、電気ケーブルに設けられたケーブルコネクタが、ケーシングに設けられたコネクタ取付部材へ着脱可能に取り付けられる。コネクタ取付部材は、ケーシングに対して相対変位可能に構成されており、ケーシングにおけるケーブルコネクタの取付位置に自由度を与える。また、コネクタ取付部材がケーシングに対して相対変位したときに、それに応じてグロメットが弾性変形することで、ケーシングの開口とコネクタ取付部材との間のシール性が維持される。
【図面の簡単な説明】
【0008】
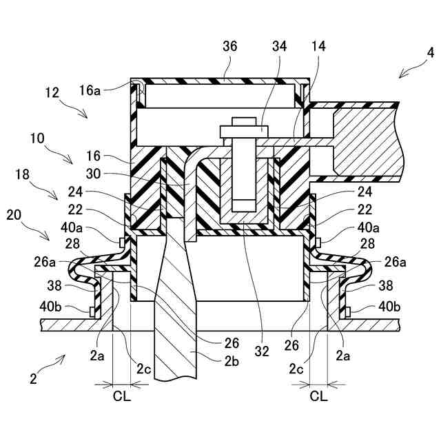
実施例のコネクタ構造10の構成を概略的に示す図。
実施例のコネクタ構造10の構成を概略的に示す図。
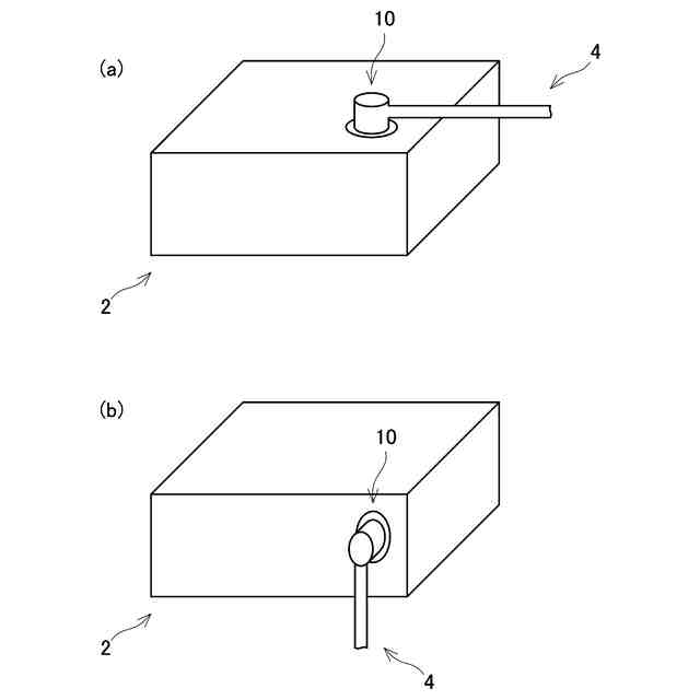
図3(a)、(b)は、コネクタ構造10を用いて、電気機器のケーシング2に電気ケーブル4が取り付けられた様子を示す図。
【発明を実施するための形態】
【0009】
図面を参照して、実施例のコネクタ構造10について説明する。このコネクタ構造10は、電気機器のケーシング2に、電気ケーブル4を着脱可能に取り付けるための構造である。当該電気機器は、電気ケーブル4を介して、他の電気機器に電気的に接続されることができる。一例ではあるが、電気機器は、車両のフロントコンパートメント内に配置される電力変換ユニットであり、他の電気機器は、車両のフロアパネルの下方に配置される電池である。
【0010】
図1、2に示すように、コネクタ構造10は、ケーブルコネクタ12を備える。ケーブルコネクタ12は、電気ケーブル4の先端に設けられている。ケーブルコネクタ12は、接点14と、ハウジング16とを備える。接点14は、電気ケーブル4と電気的に接続されている。ハウジング16は、概して上下方向に延びる筒状の形状を有する。ハウジング16は、例えば樹脂といった絶縁体材料で構成されている。
(【0011】以降は省略されています)
この特許をJ-PlatPat(特許庁公式サイト)で参照する
関連特許
トヨタ自動車株式会社
車両
8日前
トヨタ自動車株式会社
電池
3日前
トヨタ自動車株式会社
車両
12日前
トヨタ自動車株式会社
車両
8日前
トヨタ自動車株式会社
車両
1日前
トヨタ自動車株式会社
車両
2日前
トヨタ自動車株式会社
電池
4日前
トヨタ自動車株式会社
電解液
8日前
トヨタ自動車株式会社
電動車
4日前
トヨタ自動車株式会社
回転子
8日前
トヨタ自動車株式会社
電動車
8日前
トヨタ自動車株式会社
固定子
2日前
トヨタ自動車株式会社
加熱器
1日前
トヨタ自動車株式会社
電動車
8日前
トヨタ自動車株式会社
電動車
8日前
トヨタ自動車株式会社
ロータ
10日前
トヨタ自動車株式会社
電動車
10日前
トヨタ自動車株式会社
ケース
3日前
トヨタ自動車株式会社
車両構造
1日前
トヨタ自動車株式会社
蓄電装置
3日前
トヨタ自動車株式会社
制御装置
3日前
トヨタ自動車株式会社
バッテリ
2日前
トヨタ自動車株式会社
バッテリ
2日前
トヨタ自動車株式会社
塗工装置
2日前
トヨタ自動車株式会社
二次電池
2日前
トヨタ自動車株式会社
製造装置
2日前
トヨタ自動車株式会社
路側装置
3日前
トヨタ自動車株式会社
切断装置
8日前
トヨタ自動車株式会社
ロボット
4日前
トヨタ自動車株式会社
蓄電セル
8日前
トヨタ自動車株式会社
電源装置
8日前
トヨタ自動車株式会社
蓄電装置
8日前
トヨタ自動車株式会社
駆動装置
8日前
トヨタ自動車株式会社
制御装置
8日前
トヨタ自動車株式会社
電動車両
8日前
トヨタ自動車株式会社
蓄電装置
9日前
続きを見る
他の特許を見る