TOP
|
特許
|
意匠
|
商標
特許ウォッチ
Twitter
他の特許を見る
公開番号
2025149025
公報種別
公開特許公報(A)
公開日
2025-10-08
出願番号
2024049451
出願日
2024-03-26
発明の名称
電気音響変換装置
出願人
ミツミ電機株式会社
代理人
個人
,
個人
主分類
H04R
17/00 20060101AFI20251001BHJP(電気通信技術)
要約
【課題】電気音響変換装置を小型化する。
【解決手段】本電気音響変換装置は、基板と、前記基板上に配置されるMEMSデバイスと、前記MEMSデバイス上に配置されるメンブレンと、を有し、前記MEMSデバイスは、枠状の固定部、平面視で前記固定部の内側に配置される可動部、前記固定部と前記可動部とを各々の上面よりも下面に近い位置で接続する捻じれ梁及び駆動梁、並びに前記駆動梁の下面に配置される駆動源、を有し、前記基板は、枠状の上面、下面、前記上面側から前記下面側に窪むキャビティ部、を有し、前記固定部の下面は、前記基板の上面と接合されている。
【選択図】図14
特許請求の範囲
【請求項1】
基板と、
前記基板上に配置されるMEMSデバイスと、
前記MEMSデバイス上に配置されるメンブレンと、を有し、
前記MEMSデバイスは、枠状の固定部、平面視で前記固定部の内側に配置される可動部、前記固定部と前記可動部とを各々の上面よりも下面に近い位置で接続する捻じれ梁及び駆動梁、並びに前記駆動梁の下面に配置される駆動源、を有し、
前記基板は、枠状の上面、下面、前記上面側から前記下面側に窪むキャビティ部、を有し、
前記固定部の下面は、前記基板の上面と接合されている、電気音響変換装置。
続きを表示(約 950 文字)
【請求項2】
平面視で、前記可動部、前記捻じれ梁、前記駆動梁、及び前記駆動源は、前記キャビティ部と重なる位置にある、請求項1に記載の電気音響変換装置。
【請求項3】
前記メンブレンは、枠部、前記枠部の内縁よりも内側に位置する中央部、及び前記枠部の内縁と中央部の外縁とを接続する接続部、を有し、
前記中央部の下面は前記可動部の上面と接合され、前記枠部の下面は前記固定部の上面と接合され、
平面視で、前記中央部及び前記接続部は、前記固定部の内側、かつ前記キャビティ部と重なる位置にある、請求項1に記載の電気音響変換装置。
【請求項4】
前記接続部は、前記中央部の上面よりも突起し、
前記中央部の上面と垂直な方向に切った断面視で、前記接続部の上面及び下面は、同一方向に湾曲する、請求項3に記載の電気音響変換装置。
【請求項5】
前記接続部は、所定間隔で配置された複数のスリットを有する、請求項3に記載の電気音響変換装置。
【請求項6】
前記枠部と、前記中央部と、前記接続部とは、一体構造である、請求項3に記載の電気音響変換装置。
【請求項7】
前記中央部に振動板が固定されている、請求項3に記載の電気音響変換装置。
【請求項8】
前記メンブレン上に配置される蓋部材をさらに有し、
前記蓋部材は枠状の厚板部、及び前記厚板部の内側に配置される、開口部を備えた薄板部、を含み、
前記厚板部の下面は、前記枠部の上面に接合されている、請求項7に記載の電気音響変換装置。
【請求項9】
前記基板の上面には、前記駆動源に供給する信号の経路となる1対の内部接続用パッドが配置され、
前記基板の下面には、1対の外部接続用パッドが配置され、
前記内部接続用パッドと前記外部接続用パッドとは、前記基板を上面から下面に貫通する貫通配線を介して電気的に接続されている、請求項1乃至8のいずれか一項に記載の電気音響変換装置。
【請求項10】
前記固定部の外側面は、外部に露出している、請求項1乃至8のいずれか一項に記載の電気音響変換装置。
発明の詳細な説明
【技術分野】
【0001】
本開示は、電気音響変換装置に関する。
続きを表示(約 3,000 文字)
【背景技術】
【0002】
微小電気機械システム(Micro Electro Mechanical Systems:MEMS)における微細加工技術によって作製されたMEMSデバイスが開発されている。MEMSデバイスは、半導体プロセスにより製造されることから、ばらつきが少なく、小型、薄型、軽量、低消費電力、良好な周波数特性等の多くの特長がある。MEMSデバイスは、固定部と可動部を有し、可動部を駆動することにより、例えば、イヤホンやマイク等の電気音響変換装置に用いることができる(例えば、特許文献1参照)。電気音響変換装置は、小型であることが好ましい。
【先行技術文献】
【特許文献】
【0003】
米国特許明細書第9980051号
【発明の概要】
【発明が解決しようとする課題】
【0004】
本開示は、電気音響変換装置の小型化を目的とする。
【課題を解決するための手段】
【0005】
本開示の一実施形態に係る電気音響変換装置は、基板と、前記基板上に配置されるMEMSデバイスと、前記MEMSデバイス上に配置されるメンブレンと、を有し、前記MEMSデバイスは、枠状の固定部、平面視で前記固定部の内側に配置される可動部、前記固定部と前記可動部とを各々の上面よりも下面に近い位置で接続する捻じれ梁及び駆動梁、並びに前記駆動梁の下面に配置される駆動源、を有し、前記基板は、枠状の上面、下面、前記上面側から前記下面側に窪むキャビティ部、を有し、前記固定部の下面は、前記基板の上面と接合されている。
【発明の効果】
【0006】
本開示によれば、電気音響変換装置を小型化することができる。
【図面の簡単な説明】
【0007】
第1実施形態に係るMEMSデバイスを例示する上面側斜視図である。
第1実施形態に係るMEMSデバイスを例示する下面側斜視図である。
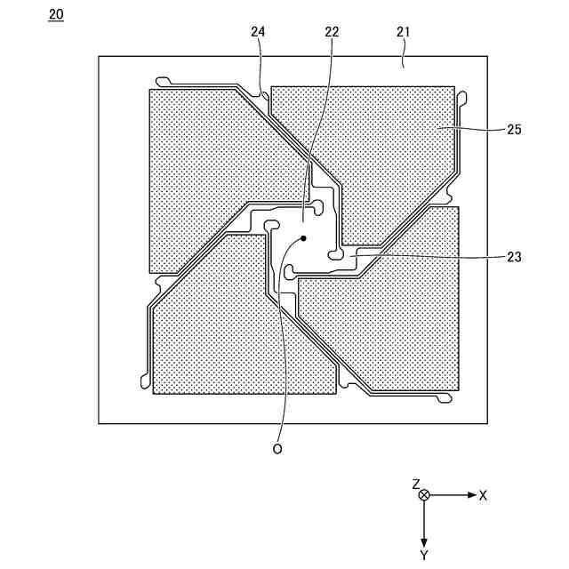
第1実施形態に係るMEMSデバイスを例示する上面図である。
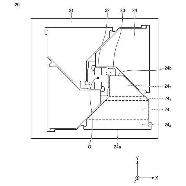
第1実施形態に係るMEMSデバイスを例示する下面図である。
第1実施形態に係るMEMSデバイスを例示する断面図である。
MEMSデバイス20における応力の低減について説明する図(その1)である。
図6に示す構造の効果を示す図である。
MEMSデバイス20における応力の低減について説明する図(その2)である。
MEMSデバイス20における応力の低減について説明する図(その3)である。
MEMSデバイス20における応力の低減について説明する図(その4)である。
MEMSデバイス20における共振周波数のシミュレーション結果である。
第1実施形態に係る電気音響変換装置を例示する上面側斜視図である。
第1実施形態に係る電気音響変換装置を例示する下面側斜視図である。
第1実施形態に係る電気音響変換装置を例示する断面図である。
第1実施形態に係る電気音響変換装置を例示する上面側分解斜視図である。
第1実施形態に係る電気音響変換装置を例示する下面側分解斜視図である。
第1実施形態に係る電気音響変換装置の製造方法について説明する図(その1)である。
第1実施形態に係る電気音響変換装置の製造方法について説明する図(その2)である。
第2実施形態に係るMEMSデバイスを例示する上面図である。
MEMSデバイス20AとMEMSデバイス20との比較結果を示す図である。
第3実施形態に係る電気音響変換装置を例示する上面側分解斜視図である。
MEMSデバイス及びメンブレンにおける共振周波数のシミュレーション結果である。
捻じれ梁及び駆動梁の厚さを変えたときの共振周波数のシミュレーション結果である。
第4実施形態に係る電気音響変換装置を例示する上面側分解斜視図である。
第4実施形態に係る電気音響変換装置を構成する基板を例示する上面図である。
基板上にMEMSデバイスを配置する工程を示す上面図である。
基板上にMEMSデバイスを配置する工程を示す断面図である。
第4実施形態の変形例1に係る電気音響変換装置を構成する基板を例示する上面図である。
第4実施形態の変形例2に係る電気音響変換装置を構成する基板を例示する上面図である。
第4実施形態の変形例3に係る電気音響変換装置を構成する基板を例示する上面図である。
基板上にMEMSデバイスを位置合わせした様子を示す上面図である。
第5実施形態に係るMEMSデバイスにおける配線を例示する下面図である。
MEMSデバイスの可動部を可動させたときの応力分布のシミュレーション結果である。
第5実施形態の変形例1に係るMEMSデバイスにおける配線を例示する下面図である。
第6実施形態に係るMEMSデバイスにおける金属膜を例示する下面図である。
MEMSデバイス20Cを用いた電気音響変換装置1Cの下面図である。
可動部の変位の測定フローである。
第6実施形態の変形例1に係るMEMSデバイスにおける金属膜を例示する下面図である。
第6実施形態の変形例2に係るMEMSデバイスにおける金属膜を例示する下面図である。
第7実施形態に係る電気音響変換装置を例示する断面図である。
メンブレン30Dを例示する上面図である。
第7実施形態の変形例1に係る電気音響変換装置を例示する部分断面図である。
第7実施形態の変形例2に係る電気音響変換装置を例示する部分断面図である。
【発明を実施するための形態】
【0008】
以下、図面を参照して発明を実施するための形態について説明する。各図面において、同一構成部分には同一符号を付し、重複した説明を省略する場合がある。
【0009】
〈第1実施形態〉
(MEMSデバイス)
図1は、第1実施形態に係るMEMSデバイスを例示する上面側斜視図である。図2は、第1実施形態に係るMEMSデバイスを例示する下面側斜視図である。図3は、第1実施形態に係るMEMSデバイスを例示する上面図である。図4は、第1実施形態に係るMEMSデバイスを例示する下面図である。図5は、第1実施形態に係るMEMSデバイスを例示する断面図であり、図1のA-A線に沿う断面を示している。
【0010】
なお、各図面において、参考のためX軸、Y軸及びZ軸を有する直交座標を示す場合がある。X方向、Y方向、Z方向のそれぞれにおいて、矢印の向く側を「+側」、その反対側を「-側」と称する場合がある。また、各部材のZ+側の面を上面、Z-側の面を下面と称する場合がある。ただし、これらは、実施形態に係るMEMSデバイス等の使用時における向きを制限するものではなく、実施形態に係るMEMSデバイス等の向きは任意である。また、対象物をZ+側からZ-側に視る、又は対象物をZ-側からZ+側に視ることを平面視と称する場合がある。
(【0011】以降は省略されています)
この特許をJ-PlatPat(特許庁公式サイト)で参照する
関連特許
ミツミ電機株式会社
半導体装置
8日前
ミツミ電機株式会社
超音波風速計
今日
ミツミ電機株式会社
多方向入力装置
2日前
ミツミ電機株式会社
多方向入力装置
9日前
ミツミ電機株式会社
多方向入力装置
2日前
ミツミ電機株式会社
多方向入力装置
2日前
ミツミ電機株式会社
多方向入力装置
2日前
ミツミ電機株式会社
電気音響変換装置
2日前
ミツミ電機株式会社
電気音響変換装置
2日前
ミツミ電機株式会社
電気音響変換装置
2日前
ミツミ電機株式会社
電池パック及び充電制御回路
9日前
ミツミ電機株式会社
メンブレン、電気音響変換装置
2日前
ミツミ電機株式会社
超音波風速計、及び風速測定方法
今日
ミツミ電機株式会社
駆動回路及び電気音響変換システム
2日前
ミツミ電機株式会社
駆動回路及び電気音響変換システム
2日前
ミツミ電機株式会社
MEMSデバイス、電気音響変換装置
2日前
ミツミ電機株式会社
MEMSデバイス、電気音響変換装置
2日前
ミツミ電機株式会社
MEMSデバイス、電気音響変換装置
2日前
ミツミ電機株式会社
MEMSデバイス、電気音響変換装置
2日前
ミツミ電機株式会社
アンテナ装置およびラジオ放送受信システム
1日前
ミツミ電機株式会社
多方向入力装置の製造方法および多方向入力装置
2日前
ミツミ電機株式会社
駆動装置、カメラモジュールおよびカメラ搭載装置
1日前
ミツミ電機株式会社
MEMSデバイス、電気音響変換装置、変位測定方法
2日前
ミツミ電機株式会社
半導体集積回路及びそれを備える装置、並びにバスシステム
22日前
個人
店内配信予約システム
2か月前
サクサ株式会社
中継装置
3か月前
WHISMR合同会社
収音装置
29日前
サクサ株式会社
中継装置
2日前
サクサ株式会社
中継装置
1日前
キヤノン株式会社
電子機器
2か月前
アイホン株式会社
電気機器
23日前
キヤノン株式会社
撮像装置
1か月前
サクサ株式会社
無線通信装置
1日前
株式会社リコー
画像形成装置
2か月前
株式会社リコー
画像形成装置
1か月前
株式会社リコー
画像形成装置
1か月前
続きを見る
他の特許を見る