TOP
|
特許
|
意匠
|
商標
特許ウォッチ
Twitter
他の特許を見る
公開番号
2025149028
公報種別
公開特許公報(A)
公開日
2025-10-08
出願番号
2024049455
出願日
2024-03-26
発明の名称
MEMSデバイス、電気音響変換装置
出願人
ミツミ電機株式会社
代理人
個人
,
個人
主分類
H04R
17/00 20060101AFI20251001BHJP(電気通信技術)
要約
【課題】高音圧を得ることができ、軽量化できるため、共振周波数を高くすることができるMEMSデバイス及び電気音響変換装置を提供する。
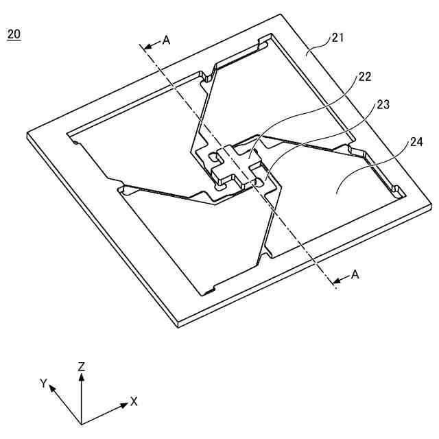
【解決手段】MEMSデバイス20は、枠状の固定部21と、平面視で固定部21の内側に配置される可動部22と、可動部22を支持する4個の捻じれ梁23と、各々の捻じれ梁23に対して1つずつ設けられ、一端が捻じれ梁23と接続され、他端が固定部21の内側面と接続される駆動梁24と、各々の駆動梁24の下面に配置される駆動源と、を有し、可動部22は、十字形状である。駆動源は、例えば、印加された電気エネルギーを機械エネルギーに変換する圧電材料を含む圧電膜を有し、交流信号の入力に応じて振動する。
【選択図】図1
特許請求の範囲
【請求項1】
枠状の固定部と、
平面視で前記固定部の内側に配置される可動部と、
前記可動部を支持する4個の捻じれ梁と、
各々の前記捻じれ梁に対して1つずつ設けられ、一端が前記捻じれ梁と接続され、他端が前記固定部の内側面と接続される駆動梁と、
各々の前記駆動梁に配置される駆動源と、を有し、
前記可動部は、十字形状である、MEMSデバイス。
続きを表示(約 760 文字)
【請求項2】
前記可動部は、平面視で前記可動部の中心に関して点対称である、請求項1に記載のMEMSデバイス。
【請求項3】
平面視で、各々の前記捻じり梁は、L字型の領域を含む、請求項1に記載のMEMSデバイス。
【請求項4】
各々の前記捻じれ梁は、平面視で前記可動部の中心に関して点対称である、請求項3に記載のMEMSデバイス。
【請求項5】
各々の前記駆動梁は、平面視で前記可動部の中心に関して点対称である、請求項1に記載のMEMSデバイス。
【請求項6】
基板と、
前記基板上に配置される請求項1乃至5のいずれか一項に記載のMEMSデバイスと、
前記MEMSデバイス上に配置され、前記可動部と接続されるメンブレンと、を有する、電気音響変換装置。
【請求項7】
平面視で、前記メンブレンは、内縁が円形の枠部と、前記枠部の内縁よりも内側に位置する円形の中央部と、前記枠部の内縁と前記中央部の外縁とを接続する接続部と、を有し、
前記中央部は、前記可動部と接続される、請求項6に記載の電気音響変換装置。
【請求項8】
前記接続部は、前記中央部の上面よりも突起し、
前記中央部の上面と垂直な方向に切った断面視で、前記接続部の上面及び下面は、同一方向に湾曲する、請求項7に記載の電気音響変換装置。
【請求項9】
前記接続部は、所定間隔で配置された複数のスリットを有する、請求項8に記載の電気音響変換装置。
【請求項10】
前記枠部と、前記中央部と、前記接続部とは、一体構造である、請求項7に記載の電気音響変換装置。
(【請求項11】以降は省略されています)
発明の詳細な説明
【技術分野】
【0001】
本開示は、MEMSデバイス、電気音響変換装置に関する。
続きを表示(約 3,000 文字)
【背景技術】
【0002】
微小電気機械システム(Micro Electro Mechanical Systems:MEMS)における微細加工技術によって作製されたMEMSデバイスが開発されている。MEMSデバイスは、半導体プロセスにより製造されることから、ばらつきが少なく、小型、薄型、軽量、低消費電力、良好な周波数特性等の多くの特長がある。MEMSデバイスは、固定部と可動部を有し、可動部を駆動することにより、例えば、イヤホンやマイク等の電気音響変換装置に用いることができる(例えば、特許文献1参照)。MEMSデバイスの共振周波数を高くすることにより、電気音響変換装置に用いる場合に、音響特性を向上することができる。
【先行技術文献】
【特許文献】
【0003】
米国特許明細書第9980051号
【発明の概要】
【発明が解決しようとする課題】
【0004】
本開示は、MEMSデバイスにおいて、共振周波数を高くすることを目的とする。
【課題を解決するための手段】
【0005】
本開示の一実施形態に係るMEMSデバイスは、枠状の固定部と、平面視で前記固定部の内側に配置される可動部と、前記可動部を支持する4個の捻じれ梁と、各々の前記捻じれ梁に対して1つずつ設けられ、一端が前記捻じれ梁と接続され、他端が前記固定部の内側面と接続される駆動梁と、各々の前記駆動梁に配置される駆動源と、を有し、前記可動部は、十字形状である。
【発明の効果】
【0006】
本開示によれば、MEMSデバイスにおいて、共振周波数を高くすることができる。
【図面の簡単な説明】
【0007】
第1実施形態に係るMEMSデバイスを例示する上面側斜視図である。
第1実施形態に係るMEMSデバイスを例示する下面側斜視図である。
第1実施形態に係るMEMSデバイスを例示する上面図である。
第1実施形態に係るMEMSデバイスを例示する下面図である。
第1実施形態に係るMEMSデバイスを例示する断面図である。
MEMSデバイス20における応力の低減について説明する図(その1)である。
図6に示す構造の効果を示す図である。
MEMSデバイス20における応力の低減について説明する図(その2)である。
MEMSデバイス20における応力の低減について説明する図(その3)である。
MEMSデバイス20における応力の低減について説明する図(その4)である。
MEMSデバイス20における共振周波数のシミュレーション結果である。
第1実施形態に係る電気音響変換装置を例示する上面側斜視図である。
第1実施形態に係る電気音響変換装置を例示する下面側斜視図である。
第1実施形態に係る電気音響変換装置を例示する断面図である。
第1実施形態に係る電気音響変換装置を例示する上面側分解斜視図である。
第1実施形態に係る電気音響変換装置を例示する下面側分解斜視図である。
第1実施形態に係る電気音響変換装置の製造方法について説明する図(その1)である。
第1実施形態に係る電気音響変換装置の製造方法について説明する図(その2)である。
第2実施形態に係るMEMSデバイスを例示する上面図である。
MEMSデバイス20AとMEMSデバイス20との比較結果を示す図である。
第3実施形態に係る電気音響変換装置を例示する上面側分解斜視図である。
MEMSデバイス及びメンブレンにおける共振周波数のシミュレーション結果である。
捻じれ梁及び駆動梁の厚さを変えたときの共振周波数のシミュレーション結果である。
第4実施形態に係る電気音響変換装置を例示する上面側分解斜視図である。
第4実施形態に係る電気音響変換装置を構成する基板を例示する上面図である。
基板上にMEMSデバイスを配置する工程を示す上面図である。
基板上にMEMSデバイスを配置する工程を示す断面図である。
第4実施形態の変形例1に係る電気音響変換装置を構成する基板を例示する上面図である。
第4実施形態の変形例2に係る電気音響変換装置を構成する基板を例示する上面図である。
第4実施形態の変形例3に係る電気音響変換装置を構成する基板を例示する上面図である。
基板上にMEMSデバイスを位置合わせした様子を示す上面図である。
第5実施形態に係るMEMSデバイスにおける配線を例示する下面図である。
MEMSデバイスの可動部を可動させたときの応力分布のシミュレーション結果である。
第5実施形態の変形例1に係るMEMSデバイスにおける配線を例示する下面図である。
第6実施形態に係るMEMSデバイスにおける金属膜を例示する下面図である。
MEMSデバイス20Cを用いた電気音響変換装置1Cの下面図である。
可動部の変位の測定フローである。
第6実施形態の変形例1に係るMEMSデバイスにおける金属膜を例示する下面図である。
第6実施形態の変形例2に係るMEMSデバイスにおける金属膜を例示する下面図である。
第7実施形態に係る電気音響変換装置を例示する断面図である。
メンブレン30Dを例示する上面図である。
第7実施形態の変形例1に係る電気音響変換装置を例示する部分断面図である。
第7実施形態の変形例2に係る電気音響変換装置を例示する部分断面図である。
【発明を実施するための形態】
【0008】
以下、図面を参照して発明を実施するための形態について説明する。各図面において、同一構成部分には同一符号を付し、重複した説明を省略する場合がある。
【0009】
〈第1実施形態〉
(MEMSデバイス)
図1は、第1実施形態に係るMEMSデバイスを例示する上面側斜視図である。図2は、第1実施形態に係るMEMSデバイスを例示する下面側斜視図である。図3は、第1実施形態に係るMEMSデバイスを例示する上面図である。図4は、第1実施形態に係るMEMSデバイスを例示する下面図である。図5は、第1実施形態に係るMEMSデバイスを例示する断面図であり、図1のA-A線に沿う断面を示している。
【0010】
なお、各図面において、参考のためX軸、Y軸及びZ軸を有する直交座標を示す場合がある。X方向、Y方向、Z方向のそれぞれにおいて、矢印の向く側を「+側」、その反対側を「-側」と称する場合がある。また、各部材のZ+側の面を上面、Z-側の面を下面と称する場合がある。ただし、これらは、実施形態に係るMEMSデバイス等の使用時における向きを制限するものではなく、実施形態に係るMEMSデバイス等の向きは任意である。また、対象物をZ+側からZ-側に視る、又は対象物をZ-側からZ+側に視ることを平面視と称する場合がある。
(【0011】以降は省略されています)
この特許をJ-PlatPat(特許庁公式サイト)で参照する
関連特許
個人
監視カメラシステム
4日前
個人
店内配信予約システム
3か月前
キーコム株式会社
光伝送線路
5日前
サクサ株式会社
中継装置
3か月前
WHISMR合同会社
収音装置
1か月前
サクサ株式会社
中継装置
11日前
個人
スキャン式車載用撮像装置
4日前
サクサ株式会社
中継装置
10日前
キヤノン株式会社
撮像装置
1か月前
キヤノン株式会社
電子機器
3か月前
アイホン株式会社
電気機器
1か月前
株式会社リコー
画像形成装置
1か月前
個人
ワイヤレスイヤホン対応耳掛け
1か月前
株式会社リコー
画像形成装置
1か月前
キヤノン電子株式会社
画像読取装置
3日前
サクサ株式会社
無線システム
9日前
キヤノン電子株式会社
画像読取装置
1か月前
サクサ株式会社
無線通信装置
10日前
サクサ株式会社
無線通信装置
10日前
キヤノン電子株式会社
モバイル装置
3か月前
日本精機株式会社
画像投映システム
3か月前
株式会社リコー
画像形成装置
2か月前
ブラザー工業株式会社
読取装置
2か月前
日本電気株式会社
海底分岐装置
5日前
株式会社ニコン
撮像装置
2か月前
個人
発信機及び発信方法
9日前
キヤノン株式会社
撮像システム
1か月前
パテントフレア株式会社
超高速電波通信
1か月前
株式会社NTTドコモ
端末
4日前
株式会社NTTドコモ
端末
4日前
キヤノン電子株式会社
画像処理システム
3日前
キヤノン電子株式会社
シート材搬送装置
2か月前
株式会社松平商会
携帯機器カバー
1か月前
株式会社小糸製作所
画像照射装置
1か月前
国立大学法人電気通信大学
小型光学装置
1か月前
株式会社NTTドコモ
端末
5日前
続きを見る
他の特許を見る