TOP
|
特許
|
意匠
|
商標
特許ウォッチ
Twitter
他の特許を見る
公開番号
2025150377
公報種別
公開特許公報(A)
公開日
2025-10-09
出願番号
2024051221
出願日
2024-03-27
発明の名称
アンテナ装置およびラジオ放送受信システム
出願人
ミツミ電機株式会社
,
トヨタ自動車株式会社
代理人
個人
,
個人
主分類
H01Q
23/00 20060101AFI20251002BHJP(基本的電気素子)
要約
【課題】給電方式の異なるチューナーに対して共通に使用することができるアンテナ装置を提供する。
【解決手段】アンテナ素子と、該アンテナ素子により受信した信号を増幅する増幅回路と、外部から供給される直流電圧を受けて増幅回路の電源電圧を生成する定電圧回路と、を備えたアンテナ装置において、外部より定電圧回路に供給される直流電圧が入力可能な第1端子(DC-IN)と、増幅回路により増幅された信号を出力可能な第2端子(RF-OUT)とを備え、第1端子と前記電圧回路の電圧入力点との間には、第1端子から定電圧回路の電圧入力点に向かう電流を許容し逆の方向の電流を阻止する少なくとも1つの第1逆流防止素子(D1)が設けられ、第2端子と定電圧回路の電圧入力点との間には、第2端子から定電圧回路の電圧入力点に向かう電流を許容し逆の方向の電流を阻止する少なくとも1つの第2逆流防止素子(D2)が設けられているようにした。
【選択図】図1
特許請求の範囲
【請求項1】
アンテナ素子と、該アンテナ素子により受信した信号を増幅する増幅回路と、外部から供給される直流電圧を受けて前記増幅回路の電源電圧を生成する定電圧回路と、を備えたアンテナ装置であって、
外部より前記定電圧回路に供給される直流電圧が入力可能な第1端子と、
前記増幅回路により増幅された信号を出力可能な第2端子と、
を備え、
前記第1端子と前記定電圧回路の電圧入力点との間には、前記第1端子から前記定電圧回路の電圧入力点に向かう電流を許容し逆の方向の電流を阻止する少なくとも1つの第1逆流防止素子が設けられ、
前記第2端子と前記定電圧回路の電圧入力点との間には、前記第2端子から前記定電圧回路の電圧入力点に向かう電流を許容し逆の方向の電流を阻止する少なくとも1つの第2逆流防止素子が設けられていることを特徴とするアンテナ装置。
続きを表示(約 550 文字)
【請求項2】
前記第1端子と前記定電圧回路の電圧入力点との間に、1つの第1逆流防止素子が接続され、
前記第2端子と前記定電圧回路の電圧入力点との間に、1つの第2逆流防止素子が接続されていることを特徴とする請求項1に記載のアンテナ装置。
【請求項3】
請求項1または2に記載のアンテナ装置と、ラジオ放送用のチューナーとを備えたラジオ放送受信システムであって、
前記チューナーは電源/信号分離方式のチューナーであり、前記アンテナ装置の前記第1端子と前記チューナーの直流電圧供給端子との間は1本の給電線により直接接続され、前記アンテナ装置の前記第2端子と前記チューナーの信号入力端子との間は1本の信号伝送線により直接接続されていることを特徴とするラジオ放送受信システム。
【請求項4】
請求項1または2に記載のアンテナ装置と、ラジオ放送用のチューナーとを備えたラジオ放送受信システムであって、
前記チューナーは電源重畳方式のチューナーであり、前記アンテナ装置の前記第1端子は解放状態とされ、前記アンテナ装置の前記第2端子と前記チューナーの信号入力端子との間は1本の信号伝送線により直接接続されていることを特徴とするラジオ放送受信システム。
発明の詳細な説明
【技術分野】
【0001】
本発明は、アンテナ素子と増幅回路を備えたアンテナ装置およびこれを用いたラジオ放送受信システムに関し、例えば車両搭載用のラジオ放送受信システムに適用して有効な技術に関する。
続きを表示(約 1,800 文字)
【背景技術】
【0002】
従来、ラジオ放送電波を受信するルーフトップアンテナのような車載用のアンテナ装置においては、チューナーからアンテナ装置に電源電圧を供給して増幅回路を動作させている。なお、増幅回路を搭載したアンテナ装置に関する発明としては、例えば特許文献1に記載されているものがある。
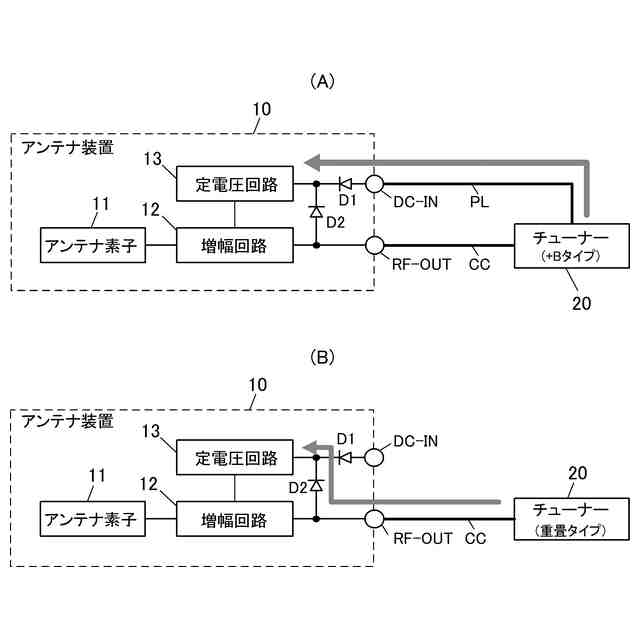
【0003】
増幅回路を搭載したアンテナ装置に対する電源供給方式には、電源/信号分離方式と電源重畳方式とがある。電源/信号分離方式(以下、+Bタイプと称する)は、図4(A)に示すように、受信信号を伝送する同軸ケーブルCCとは別に電源線PLを設けてアンテナ装置10へ電源を供給する。電源重畳方式(電源重畳タイプ)は、図4(B)に示すように、受信信号を伝送する同軸ケーブルCCを用いてアンテナ装置10へ電源を供給する方式である。チューナーがどちらの仕様を採用するかによって、アンテナ装置の仕様が決定される。
【0004】
一方、アンテナ装置10は、いずれのタイプの場合にも、アンテナ素子11および増幅回路12と共に定電圧回路13が設けられており、電源線PLまたは同軸ケーブルCCを介してチューナー20より供給される直流電圧が定電圧回路13に印加され、定電圧回路13により生成された電圧で増幅回路12が動作するように構成されている。
【0005】
そのため、+Bタイプの場合は、図4(A)に示すように、アンテナ装置10に電源端子DC-INと信号端子RF-OUTとが設けられ、電源端子DC-INから定電圧回路13へ逆流防止用のダイオードD1を介して、チューナー20からの直流電圧が供給されるように構成されていた。
一方、電源重畳タイプの場合は、図4(B)に示すように、アンテナ装置10に信号と電源の共用端子DC/RFが設けられ、この共用端子DC/RFからダイオードD2を介して定電圧回路13へ直流電圧が供給されるように構成されていた。
【先行技術文献】
【特許文献】
【0006】
特開平6-53722号公報
【発明の概要】
【発明が解決しようとする課題】
【0007】
上記のように、従来のシステムにおいては、使用するチューナーの仕様に応じて、異なるアンテナ装置を使用もしくは設計する必要があり、それによって管理部品(品番)が増加するため、メーカーにとっては設計および製品管理の負担が重くなるという課題があった。
【0008】
そこで、+Bタイプのアンテナ装置を電源重畳タイプのチューナーに対して使用可能にするため、図5(A)に示すような方式が考えられる。この方式は、同軸ケーブルCCの途中にバイアス・ティー(Bias Tee)と呼ばれる電子部品30を挿入して直流成分をアンテナ装置10の電圧入力端子DC-INに供給することで、チューナー20から見た際に擬似的に電源重畳タイプのアンテナ装置として動作させるというものである。
なお、バイアス・ティーは、コンデンサとインダクタを内蔵した3端子素子であり、第1端子と第3端子との間にインダクタが直列に配置され、第2端子と第3端子との間にコンデンサが直列に配置されている。
【0009】
また、電源重畳タイプのアンテナ装置を+Bタイプのチューナーに対して使用可能にするため、図5(B)に示すよう方式が考えられる。この方式は、チューナー20から引き出された電源線PLを、バイアス・ティー(30)を介して同軸ケーブルCCに接続することで、チューナー20から見た際に擬似的に+Bタイプのアンテナ装置として動作させるというものである。
しかし、いずれの方式も余分な後付けの電子部品(Bias Tee)が必要であるため、部品点数や組立て工数の増加、コストアップを招くという課題がある。
【0010】
なお、+Bタイプのチューナーと電源重畳タイプのいずれのタイプのチューナーに対しても使用可能にするため、図5(A)に示す従来の+Bタイプのアンテナ装置10において、電源端子DC-INと信号端子RF-OUTとの間を直結するラインLsを設けた図6に示すような構成のアンテナ装置も考えられる。
(【0011】以降は省略されています)
この特許をJ-PlatPat(特許庁公式サイト)で参照する
関連特許
個人
フレキシブル電気化学素子
6日前
日本発條株式会社
積層体
17日前
株式会社ユーシン
操作装置
6日前
ローム株式会社
半導体装置
15日前
ローム株式会社
半導体装置
15日前
ローム株式会社
半導体装置
8日前
ローム株式会社
半導体装置
15日前
個人
防雪防塵カバー
17日前
ローム株式会社
半導体装置
13日前
日新イオン機器株式会社
イオン源
2日前
太陽誘電株式会社
全固体電池
13日前
個人
半導体パッケージ用ガラス基板
16日前
株式会社ホロン
冷陰極電子源
今日
株式会社GSユアサ
蓄電装置
17日前
株式会社ホロン
冷陰極電子源
13日前
オムロン株式会社
電磁継電器
7日前
株式会社GSユアサ
蓄電装置
13日前
株式会社GSユアサ
蓄電設備
6日前
株式会社GSユアサ
蓄電設備
6日前
太陽誘電株式会社
コイル部品
6日前
日本特殊陶業株式会社
保持装置
13日前
日東電工株式会社
積層体
7日前
日本特殊陶業株式会社
保持装置
15日前
トヨタ自動車株式会社
二次電池
17日前
日本特殊陶業株式会社
保持装置
17日前
トヨタ自動車株式会社
バッテリ
7日前
TDK株式会社
電子部品
13日前
トヨタ自動車株式会社
蓄電装置
6日前
日本特殊陶業株式会社
保持装置
13日前
サクサ株式会社
電池の固定構造
6日前
ノリタケ株式会社
熱伝導シート
6日前
ローム株式会社
電子装置
17日前
東レエンジニアリング株式会社
実装装置
13日前
ローム株式会社
半導体装置
8日前
TDK株式会社
コイル部品
15日前
住友電装株式会社
コネクタ
17日前
続きを見る
他の特許を見る