TOP
|
特許
|
意匠
|
商標
特許ウォッチ
Twitter
他の特許を見る
公開番号
2025138152
公報種別
公開特許公報(A)
公開日
2025-09-25
出願番号
2024037065
出願日
2024-03-11
発明の名称
密封装置及び密封装置の製造方法
出願人
内山工業株式会社
代理人
協明国際弁理士法人
主分類
F16C
33/78 20060101AFI20250917BHJP(機械要素または単位;機械または装置の効果的機能を生じ維持するための一般的手段)
要約
【課題】芯材に複数の相異なる弾性材を固着させたシール部材において、用途に応じた複数の弾性材を適切に配置でき、かつシール部材の全体形状をよりシンプルなものにできる密封装置及びその製造方法を提供する。
【解決手段】シール部材20の弾性部材22は、第1弾性材23と第2弾性材24とが含まれ、一体化されてなり、第1弾性材23と第2弾性材24とは相異なる材料よりなり、かつ第1弾性材23と第2弾性材24とはいずれも同一種類のベース材料を用いて形成されており、嵌合部26は芯材21の径方向の一方側に第1弾性材23が固着されてなる一方、リップ部27は芯材の径方向の他方側に第2弾性材24が固着されてなる。
【選択図】図1
特許請求の範囲
【請求項1】
軸受装置において相対的に同軸回転する外輪部材、内輪部材間に装着される、芯材と弾性部材とを含むシール部材を備えた密封装置において、
前記シール部材は、前記軸受装置に対し嵌合される嵌合部と、前記外輪部材と前記内輪部材との相対回転により相対的な摺接動作をなすリップ部と、を備え、
前記弾性部材は、第1弾性材と第2弾性材とが含まれ、一体化されてなり、
前記第1弾性材と前記第2弾性材とは相異なる材料よりなり、かつ前記第1弾性材と前記第2弾性材とはいずれも同一種類のベース材料を用いて形成されており、
前記嵌合部は前記芯材の径方向の一方側に前記第1弾性材が固着されてなる一方、前記リップ部は前記芯材の径方向の他方側に前記第2弾性材が固着されてなることを特徴とする密封装置。
続きを表示(約 620 文字)
【請求項2】
請求項1において、
前記第1弾性材の前記芯材に対する固着と、前記第2弾性材の前記芯材に対する固着とは同一の接着剤による接着とされることを特徴とする密封装置。
【請求項3】
請求項1において、
前記第1弾性材は磁性紛を含む磁性ゴムであることを特徴とする密封装置。
【請求項4】
請求項1において、
前記第1弾性材はリサイクルゴムであることを特徴とする密封装置。
【請求項5】
請求項1において、
前記第1弾性材と前記第2弾性材は相隣接していることを特徴とする密封装置。
【請求項6】
請求項1に記載の密封装置を成形型を用いて圧縮成形する、密封装置の製造方法であって、
前記成形型は固定型と可動型とを備えており、
前記固定型に前記芯材を設置し、
前記芯材の径方向の一方端側に第1弾性材の原材料を、前記芯材の径方向の他方端側に第2弾性材の原材料を供給し、
前記可動型を稼働させて型締めすることを特徴とする、密封装置の製造方法。
【請求項7】
請求項6において、
前記可動型には、型締めに際して前記固定型に供給された第1弾性材の原材料と第2弾性材の原材料とを区画する突起が、前記芯材の径方向の中途位置に対応する位置に形成されていることを特徴とする、密封装置の製造方法。
発明の詳細な説明
【技術分野】
【0001】
本発明は、軸受装置において相対的に同軸回転する外輪部材、内輪部材間に装着される密封装置及びその製造方法に関する。
続きを表示(約 1,600 文字)
【背景技術】
【0002】
従来には、芯材の一部に磁気エンコーダ(磁性紛を含んだ弾性材)が固着され、芯材の他の一部にリップ部用の他の弾性材が固着されたシール部材を含む密封装置が種々提案されている。
【0003】
特に、シール部材に固着される用途や材料が相異なる複数の弾性材は、相離反した状態に配設されることが通例とされている(例えば、特許文献1の図8参照)。
【先行技術文献】
【特許文献】
【0004】
特開2014-13073号公報
【発明の概要】
【発明が解決しようとする課題】
【0005】
しかしながら、複数の弾性材が相離反した状態に設けてあれば、シール部材の表面は固着された複数の弾性材により凹凸形状となるため表面形状は複雑化する。よって、このシール部材を製造するための成形型も複雑化する。また、シール部材の表面形状が複雑化すれば、シール部材の梱包や搬送などの取り扱いがしにくくなるばかりか、取り扱いの際に弾性材の損傷や剥がれが発生する可能性も高まる。
【0006】
本発明は、このような事情を考慮して提案されたもので、その目的は、芯材に複数の相異なる弾性材を固着させたシール部材において、用途に応じた複数の弾性材を適切に配置でき、かつシール部材の全体形状をよりシンプルなものにできる密封装置及びその製造方法を提供することにある。
【課題を解決するための手段】
【0007】
前記目的を達成するために、本発明の密封装置は、軸受装置において相対的に同軸回転する外輪部材、内輪部材間に装着される、芯材と弾性部材とを含むシール部材を備えた密封装置において、前記シール部材は、前記軸受装置に対し嵌合、固定される嵌合部と、前記外輪部材と前記内輪部材との相対回転により相対的な摺接動作をなすリップ部と、を径方向に沿って備え、前記弾性部材は、第1弾性材と第2弾性材とが含まれ、一体化されてなり、前記第1弾性材と前記第2弾性材とは相異なる材料よりなり、かつ前記第1弾性材と前記第2弾性材とはいずれも同一種類のベース材料を用いて形成されており、前記嵌合部は前記芯材の径方向の一方側に前記第1弾性材が固着されてなる一方、前記リップ部は前記芯材の径方向の他方側に前記第2弾性材が固着されてなることを特徴とする。
【発明の効果】
【0008】
本発明の密封装置は前述した構成とされているため、芯材に複数の相異なる弾性材を固着させたシール部材において、用途に応じた複数の弾性材を適切に配置でき、かつシール部材の全体形状をよりシンプルなものにできる。
【図面の簡単な説明】
【0009】
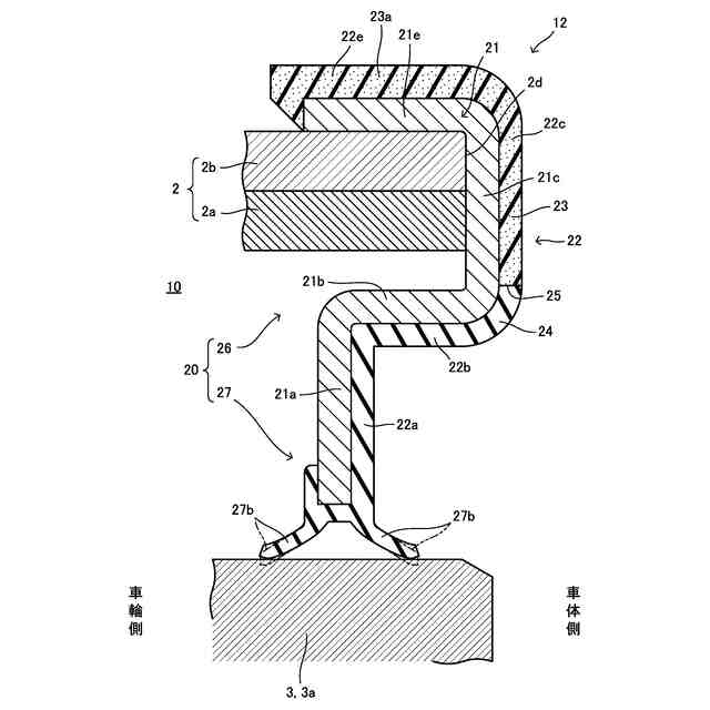
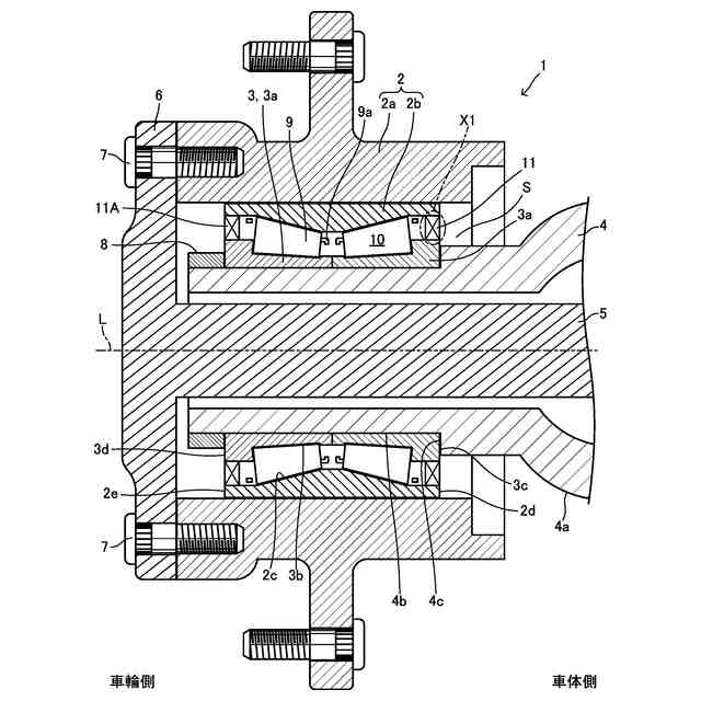
本発明の第1の実施形態に係る密封装置が装着された車両用の軸受装置の一例を模式的に示す概略縦断面図である。
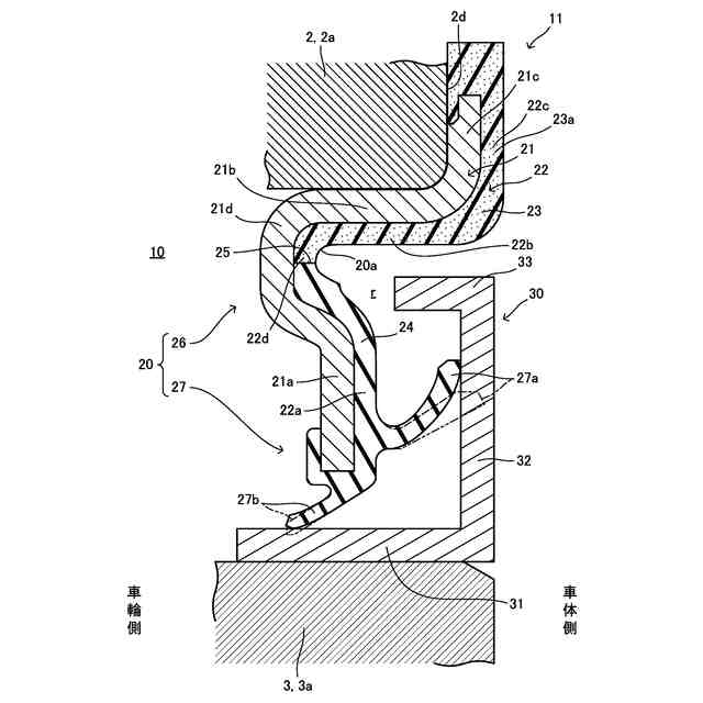
図1のX1部の模式的拡大図であり、同密封装置の模式的縦断面図である。
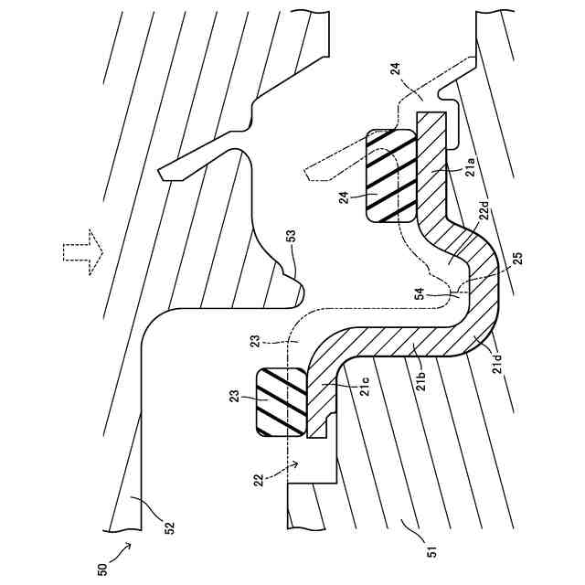
本発明の変形例に係る密封装置の模式的縦断面図である。
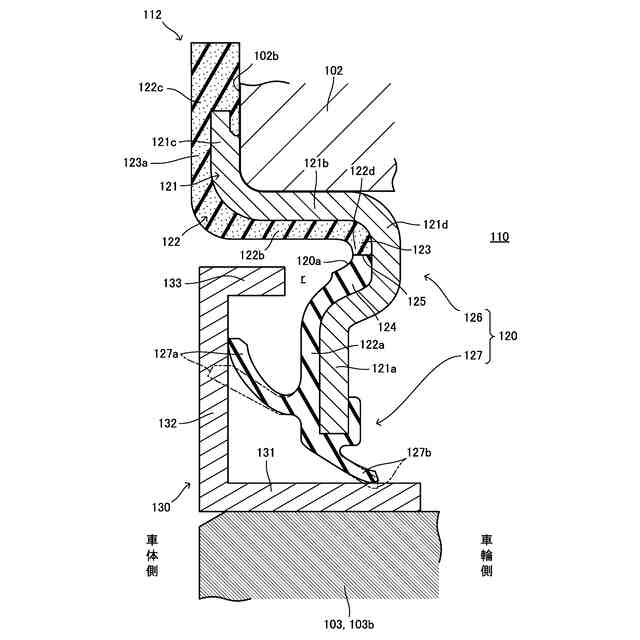
本発明の第2の実施形態に係る密封装置が装着された車両用の軸受装置の他の例を模式的に示す概略縦断面図である。
図4のX2部の模式的拡大図であり、同密封装置の模式的縦断面図である。
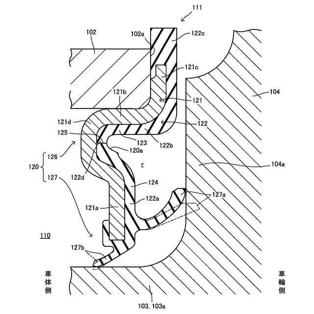
図4のX3部の模式的拡大図であり、同密封装置の模式的縦断面図である。
図2に示した密封装置の製造方法の概要を示す成形型の模式的縦断面図である。
【発明を実施するための形態】
【0010】
以下に、本発明の実施の形態について、添付図面を参照しながら説明する。
まず、実施形態に係る複数の密封装置11、12、111、112の共通の基本構成について記述する。
(【0011】以降は省略されています)
この特許をJ-PlatPat(特許庁公式サイト)で参照する
関連特許
内山工業株式会社
日用品
29日前
内山工業株式会社
太陽電池
6日前
内山工業株式会社
密封装置
20日前
内山工業株式会社
密封装置
1か月前
内山工業株式会社
密封装置
1か月前
内山工業株式会社
密封装置及び密封構造
2か月前
内山工業株式会社
製造装置および製造方法
1か月前
内山工業株式会社
シール構造及びガスケット
1日前
内山工業株式会社
太陽電池及びその製造方法
1か月前
内山工業株式会社
密封装置及び密封装置の製造方法
14日前
内山工業株式会社
キャップ取付方法及び軸受キャップ
6日前
内山工業株式会社
アクリルゴム組成物およびアクリルゴム成形品
今日
内山工業株式会社
ガスケット及びこれが組付けられたシール構造
1か月前
内山工業株式会社
電池シール材用シリコーンゴム組成物および電池シール材
1か月前
個人
流路体
8か月前
個人
鍋虫ねじ
1か月前
個人
回転伝達機構
2か月前
個人
クラッチ装置
8か月前
個人
ホース保持具
5か月前
個人
紛体用仕切弁
1か月前
個人
トーションバー
6か月前
個人
差動歯車用歯形
3か月前
個人
ジョイント
20日前
個人
給排気装置
2日前
株式会社不二工機
電磁弁
3か月前
株式会社不二工機
電磁弁
4か月前
個人
回転式配管用支持具
7か月前
個人
ボルトナットセット
6か月前
個人
固着具と成形品部材
8か月前
個人
ナット
21日前
個人
地震の揺れ回避装置
2か月前
株式会社オンダ製作所
継手
8か月前
株式会社アイシン
駆動装置
8か月前
個人
吐出量監視装置
1か月前
カヤバ株式会社
緩衝器
3か月前
カヤバ株式会社
ダンパ
3か月前
続きを見る
他の特許を見る