TOP
|
特許
|
意匠
|
商標
特許ウォッチ
Twitter
他の特許を見る
公開番号
2025132388
公報種別
公開特許公報(A)
公開日
2025-09-10
出願番号
2024029911
出願日
2024-02-29
発明の名称
日用品
出願人
内山工業株式会社
代理人
協明国際弁理士法人
主分類
A47G
21/04 20060101AFI20250903BHJP(家具;家庭用品または家庭用設備;コーヒーひき;香辛料ひき;真空掃除機一般)
要約
【課題】あらゆるものに適用可能で、誤飲を防ぐことができる日用品を提供する。
【解決手段】日用品1は、乳幼児や犬や猫等のペット等が使用する日用品1に適用可能で、味覚を刺激する味覚付与層2と、前記味覚付与層2を内包する表面層3とを有することを特徴とする。味覚付与層1は、苦味成分もしくは辛味成分が含有されたエラストマーからなる基材で構成されていてもよいし、苦味成分もしくは辛味成分が含有されたコーティング剤がコーティングされた基材で構成されていてもよい。
【選択図】図1
特許請求の範囲
【請求項1】
味覚を刺激する味覚付与層と、前記味覚付与層を内包する表面層とを有することを特徴とする日用品。
続きを表示(約 270 文字)
【請求項2】
請求項1において、
前記味覚付与層は、苦味成分もしくは辛味成分が含有されたエラストマーからなる基材で構成されていることを特徴とする日用品。
【請求項3】
請求項1において、
前記味覚付与層は、苦味成分もしくは辛味成分が含有されたコーティング剤がコーティングされた基材で構成されていることを特徴とする日用品。
【請求項4】
請求項1または請求項2において、
前記味覚付与層は、着色された基材もしくは空気に触れると発色する基材で構成されていることを特徴とする日用品。
発明の詳細な説明
【技術分野】
【0001】
本発明は、味覚を刺激する味覚付与層を備えた日用品に関する。
続きを表示(約 1,400 文字)
【背景技術】
【0002】
従来より、乳幼児や犬や猫等のペットが日用品をかじって、誤飲する事故を防ぐため、種々日用品が開発されている。たとえば下記特許文献1には、哺乳瓶に用いられるニップルが開示されており、ここにはラテックス製品が摩耗する毒性があるものがあるため、ニップルが過度に摩耗すると細孔から水溶性染料が浸出するものが記載されている。また下記特許文献2には、電池の容器とガスケットの間に苦味や辛味等の刺激性の味を溶出する水溶性の溶出材を塗布するものが開示されている。
【先行技術文献】
【特許文献】
【0003】
米国特許第5322031号公報
特開2017-126543号公報
【発明の概要】
【発明が解決しようとする課題】
【0004】
しかしながら、上記特許文献1に記載のものは、摩耗により水溶性染料が浸出するもので、上記特許文献2は、容器とガスケットとの間に塗布されるものであるので、摩耗の発見や電池の誤飲を防げても、食器や遊具等、日常的に使用する日用品には適用し難い構成である。また日用品の表面に味覚を刺激するものをコーティングしたり、塗布する場合は、経年使用により味覚刺激性が劣化するおそれがある。
【0005】
本発明は、上記実情に鑑みてなされたものであり、その目的は、あらゆるものに適用可能で、誤飲を防ぐことができる日用品を提供することにある。
【課題を解決するための手段】
【0006】
上記目的を達成するために、本発明の日用品の構成1は、味覚を刺激する味覚付与層と、前記味覚付与層を内包する表面層とを有する。
【0007】
以下の実施の形態の記載により、本発明に係る日用品は、以下の従属的構成を備えていてもよいことが開示される。
<構成2>
構成1において、前記味覚付与層は、苦味成分もしくは辛味成分が含有されたエラストマーからなる基材で構成されているものとしてもよい。
<構成3>
構成1において、前記味覚付与層は、苦味成分もしくは辛味成分が含有されたコーティング剤がコーティングされた基材で構成されているものとしてもよい。
<構成4>
構成1または構成2において、前記味覚付与層は、着色された基材もしくは空気に触れると発色する基材で構成されているものとしてもよい。
【発明の効果】
【0008】
本発明の日用品は、上述した構成とされているため、あらゆるものに適用可能で、誤飲を防ぐことができる。
【図面の簡単な説明】
【0009】
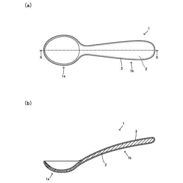
本発明の一実施形態に係る日用品の例を説明するための図であり、(a)はスプーンの平面図、(b)は同スプーンの断面図である。
同実施形態に係る日用品の適用を説明するための図であり、(a)は茶碗、(b)は玩具(つみき)、(c)はおしゃぶり、(d)はポケット付きスタイを示している。
【発明を実施するための形態】
【0010】
以下に、本発明の実施の形態について、図面を参照しながら説明する。
本実施形態に係る日用品1は、味覚を刺激する味覚付与層2と、味覚付与層2を内包する表面層3とを有する。まずは図1を参照しながら、本実施形態に係る日用品として、スプーン1に本発明を適用した例について説明する。
(【0011】以降は省略されています)
この特許をJ-PlatPat(特許庁公式サイト)で参照する
関連特許
内山工業株式会社
日用品
29日前
内山工業株式会社
太陽電池
6日前
内山工業株式会社
密封装置
20日前
内山工業株式会社
密封装置
1か月前
内山工業株式会社
密封装置
1か月前
内山工業株式会社
月経用カップ
2か月前
内山工業株式会社
密封装置及び密封構造
2か月前
内山工業株式会社
製造装置および製造方法
1か月前
内山工業株式会社
シール構造及びガスケット
1日前
内山工業株式会社
太陽電池及びその製造方法
1か月前
内山工業株式会社
密封装置及び密封装置の製造方法
14日前
内山工業株式会社
キャップ取付方法及び軸受キャップ
6日前
内山工業株式会社
ガスケット及びこれが組付けられたシール構造
1か月前
内山工業株式会社
電池シール材用シリコーンゴム組成物および電池シール材
1か月前
個人
椅子
1か月前
個人
ソファー
20日前
個人
物品
1か月前
個人
靴ベラ
29日前
個人
紙コップ 蓋
29日前
個人
簡易防災トイレ
10日前
個人
食品摘み具
1か月前
個人
ファスナー付き寝具
20日前
個人
カーテンレール構造
1か月前
個人
乳幼児用寝具
1か月前
愛知株式会社
椅子
1か月前
株式会社川口技研
吊掛装置
1か月前
個人
頭頂部用枕装置
20日前
個人
展示パネル
20日前
タニコー株式会社
食器洗浄機
1か月前
株式会社創和
洗浄部材
1か月前
株式会社高瀬
クッション
14日前
くら寿司株式会社
連結具
1か月前
個人
モップカバー
10日前
個人
テーブル用コップ・傘取付具
1か月前
株式会社熊谷組
長机
8日前
協和工業株式会社
枕
21日前
続きを見る
他の特許を見る