TOP
|
特許
|
意匠
|
商標
特許ウォッチ
Twitter
他の特許を見る
10個以上の画像は省略されています。
公開番号
2025149441
公報種別
公開特許公報(A)
公開日
2025-10-08
出願番号
2024050094
出願日
2024-03-26
発明の名称
ビレット回転保持装置、及び、ビレット保持ユニット
出願人
テラル株式会社
代理人
個人
,
個人
,
個人
主分類
B23B
33/00 20060101AFI20251001BHJP(工作機械;他に分類されない金属加工)
要約
【課題】端面が傾斜している場合であっても、ビレットの両端をしっかりと保持しながら回転させる。
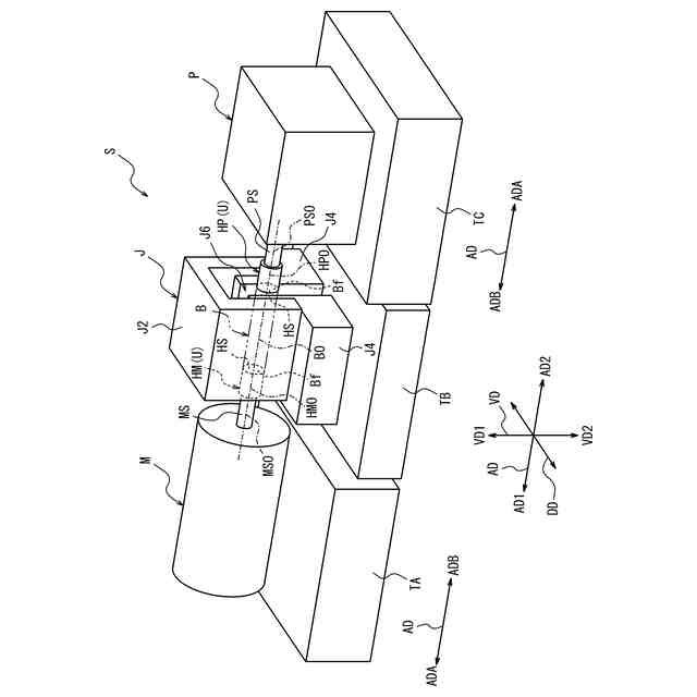
【解決手段】ビレット回転保持装置Sは、ビレットBを保持しながら回転させるように構成された、ビレット回転保持装置であって、電動機軸MSを有する、電動機Mと、軸線方向において電動機軸と対向するように配置された加圧機軸PSを有する、加圧機Pと、ビレット保持ユニットUと、を備え、ビレット保持ユニットは、電動機軸に取り付けられ、ビレットの軸線方向第1側の端面を保持するように構成された、電動機側保持具HMと、加圧機軸に取り付けられ、ビレットの軸線方向第2側の端面を保持するように構成された、加圧機側保持具HPと、を備え、加圧機は、加圧機軸を介して、軸線方向第1側への加圧力を出力するように構成されている。
【選択図】図1
特許請求の範囲
【請求項1】
ビレットを保持しながら回転させるように構成された、ビレット回転保持装置であって、
電動機軸を有する、電動機と、
軸線方向において前記電動機軸と対向するように配置された加圧機軸を有する、加圧機と、
ビレット保持ユニットと、
を備え、
前記ビレット保持ユニットは、
前記電動機軸に取り付けられ、前記ビレットの軸線方向第1側の端面を保持するように構成された、電動機側保持具と、
前記加圧機軸に取り付けられ、前記ビレットの軸線方向第2側の端面を保持するように構成された、加圧機側保持具と、
を備え、
前記加圧機は、前記加圧機軸を介して、前記軸線方向第1側への加圧力を出力するように構成されており、
前記ビレット保持ユニットは、前記加圧機軸から出力される前記軸線方向第1側への加圧力を用いて、前記電動機側保持具及び前記加圧機側保持具によって前記ビレットの軸線方向両側の端面を挟持するように、構成されており、
前記電動機側保持具及び前記加圧機側保持具は、それぞれ、
前記電動機軸又は前記加圧機軸に固定されるように構成され、少なくとも軸線方向ビレット側が開放された内部空間を有する、固定部と、
前記固定部の前記内部空間内で前記軸線方向に遊動可能に構成され、前記固定部との間で回転トルクを伝達可能に構成され、前記ビレットの前記軸線方向第1側又は前記軸線方向第2側の端面を保持するように構成された保持面を前記軸線方向ビレット側に有する、遊動部と、
前記固定部の前記内部空間内において前記固定部と前記遊動部との間で前記固定部と略同軸に配置された、1つ又は複数の皿バネからなる、本体弾性部と、
を備えている、ビレット回転保持装置。
続きを表示(約 920 文字)
【請求項2】
前記電動機側保持具及び前記加圧機側保持具は、それぞれ、
前記遊動部の外周面が、それぞれ径方向において凸状又は凹状に構成され、周方向に沿って配列された、複数の係合部を、有しており、
前記固定部において前記内部空間を区画する内周面が、それぞれ径方向において凹状又は凸状に構成され、周方向に沿って配列され、前記複数の係合部と係合する、複数の被係合部を、有しており、
前記複数の係合部と前記複数の被係合部とが係合していることにより、前記固定部と前記遊動部の間で回転トルクを伝達可能にされている、請求項1に記載のビレット回転保持装置。
【請求項3】
前記電動機側保持具の前記保持面は、それぞれ略径方向に延在するとともに周方向に沿って交互に配列された、凹条及び凸条を、有している、請求項1に記載のビレット回転保持装置。
【請求項4】
各前記凸条の前記軸線方向ビレット側の突出先端縁は、径方向内側に向かうにつれて軸線方向反ビレット側へ向かうように延在している、請求項3に記載のビレット回転保持装置。
【請求項5】
前記電動機側保持具は、前記ビレットから前記保持面に加わる前記軸線方向第1側への力が所定値以下になると、前記保持面よりも前記軸線方向第2側へ突出して前記ビレットを前記軸線方向第2側へ押し出すように構成された、押出部を、有している、請求項3に記載のビレット回転保持装置。
【請求項6】
所定作業空間に磁場を発生させるように構成された、磁場発生装置を、さらに備え、
前記ビレット回転保持装置は、前記ビレットが前記所定作業空間内に位置するように前記ビレットを保持しながら前記ビレットを回転させるとともに、前記磁場発生装置によって前記所定作業空間に磁場を発生させ、その間に前記ビレット内に流れる誘導電流によって前記ビレットを加熱するように構成されている、請求項1に記載のビレット回転保持装置。
【請求項7】
請求項1~6のいずれか一項に記載のビレット回転保持装置に用いられるように構成された、前記ビレット保持ユニット。
発明の詳細な説明
【技術分野】
【0001】
この発明は、ビレット回転保持装置、及び、ビレット保持ユニットに関するものである。
続きを表示(約 2,100 文字)
【背景技術】
【0002】
従来より、ビレット(柱状のワーク)を保持しながら回転させる装置として、ビレットの外周側に配置された複数の爪(チャック)によってビレットの外周面を保持するものがある(例えば、特許文献1)。
【先行技術文献】
【特許文献】
【0003】
実開昭57-96731号公報
【発明の概要】
【発明が解決しようとする課題】
【0004】
しかし、上述のような従来の装置を使用するにあたっては、ビレットの外周側において、ビレットを保持する上記複数の爪のためのスペースを確保する必要があるところ、ビレットの外周側のスペースを確保しにくい場合には、このような装置は適さないおそれがある。
一方、ビレットを保持しながら回転させる他の手法としては、ビレットの両端を保持するものが考えられる。しかし、一般的に、ビレットの形状は高精度が求められるものではないことから、ビレットの端面(切断面)は、ビレットの中心軸線に対して完全な垂直面ではなく、ビレットの中心軸線に対して非垂直に傾斜していることが一般的に多いが、そのような場合であってもビレットの両端をしっかりと保持しながら回転させることは、難しかった。
【0005】
この発明は、上述した課題を解決するためのものであり、仮にビレットの端面が傾斜している場合であっても、ビレットの両端をしっかりと保持しながら回転させることができる、ビレット回転保持装置、及び、ビレット保持ユニットを、提供することを目的とするものである。
【課題を解決するための手段】
【0006】
〔1〕ビレットを保持しながら回転させるように構成された、ビレット回転保持装置であって、
電動機軸を有する、電動機と、
軸線方向において前記電動機軸と対向するように配置された加圧機軸を有する、加圧機と、
ビレット保持ユニットと、
を備え、
前記ビレット保持ユニットは、
前記電動機軸に取り付けられ、前記ビレットの軸線方向第1側の端面を保持するように構成された、電動機側保持具と、
前記加圧機軸に取り付けられ、前記ビレットの軸線方向第2側の端面を保持するように構成された、加圧機側保持具と、
を備え、
前記加圧機は、前記加圧機軸を介して、前記軸線方向第1側への加圧力を出力するように構成されており、
前記ビレット保持ユニットは、前記加圧機軸から出力される前記軸線方向第1側への加圧力を用いて、前記電動機側保持具及び前記加圧機側保持具によって前記ビレットの軸線方向両側の端面を挟持するように、構成されており、
前記電動機側保持具及び前記加圧機側保持具は、それぞれ、
前記電動機軸又は前記加圧機軸に固定されるように構成され、少なくとも軸線方向ビレット側が開放された内部空間を有する、固定部と、
前記固定部の前記内部空間内で前記軸線方向に遊動可能に構成され、前記固定部との間で回転トルクを伝達可能に構成され、前記ビレットの前記軸線方向第1側又は前記軸線方向第2側の端面を保持するように構成された保持面を前記軸線方向ビレット側に有する、遊動部と、
前記固定部の前記内部空間内において前記固定部と前記遊動部との間で前記固定部と略同軸に配置された、1つ又は複数の皿バネからなる、本体弾性部と、
を備えている、ビレット回転保持装置。
【0007】
〔2〕前記電動機側保持具及び前記加圧機側保持具は、それぞれ、
前記遊動部の外周面が、それぞれ径方向において凸状又は凹状に構成され、周方向に沿って配列された、複数の係合部を、有しており、
前記固定部において前記内部空間を区画する内周面が、それぞれ径方向において凹状又は凸状に構成され、周方向に沿って配列され、前記複数の係合部と係合する、複数の被係合部を、有しており、
前記複数の係合部と前記複数の被係合部とが係合していることにより、前記固定部と前記遊動部の間で回転トルクを伝達可能にされている、〔1〕に記載のビレット回転保持装置。
【0008】
〔3〕前記電動機側保持具の前記保持面は、それぞれ略径方向に延在するとともに周方向に沿って交互に配列された、凹条及び凸条を、有している、〔1〕又は〔2〕に記載のビレット回転保持装置。
【0009】
〔4〕各前記凸条の前記軸線方向ビレット側の突出先端縁は、径方向内側に向かうにつれて軸線方向反ビレット側へ向かうように延在している、〔3〕に記載のビレット回転保持装置。
【0010】
〔5〕前記電動機側保持具は、前記ビレットから前記保持面に加わる前記軸線方向第1側への力が所定値以下になると、前記保持面よりも前記軸線方向第2側へ突出して前記ビレットを前記軸線方向第2側へ押し出すように構成された、押出部を、有している、〔3〕又は〔4〕に記載のビレット回転保持装置。
(【0011】以降は省略されています)
この特許をJ-PlatPat(特許庁公式サイト)で参照する
関連特許
テラル株式会社
ポンプ
13日前
テラル株式会社
ビレット回転保持装置、及び、ビレット保持ユニット
14日前
テラル株式会社
ディスポーザシステム、及び、ディスポーザ制御方法
3か月前
個人
フライス盤
1か月前
個人
加工機
5か月前
麗豊実業股フン有限公司
ラクトバチルス・パラカセイNB23菌株及びそれを筋肉量の増加や抗メタボリック症候群に用いる用途
5か月前
日東精工株式会社
ねじ締め機
1か月前
日東精工株式会社
ねじ締め機
4か月前
日東精工株式会社
ねじ締め機
2か月前
日東精工株式会社
ねじ締め機
13日前
株式会社北川鉄工所
回転装置
4か月前
株式会社不二越
ドリル
5か月前
株式会社ダイヘン
溶接電源装置
2か月前
日東精工株式会社
ねじ締め装置
3か月前
株式会社ダイヘン
溶接電源装置
2か月前
日東精工株式会社
ねじ締め装置
1か月前
株式会社ダイヘン
溶接電源装置
3か月前
株式会社FUJI
工作機械
12日前
株式会社FUJI
工作機械
3か月前
株式会社FUJI
工作機械
19日前
個人
切削油供給装置
1か月前
株式会社FUJI
工作機械
3か月前
株式会社アンド
半田付け方法
5か月前
個人
型枠製造装置のフレーム
23日前
株式会社アンド
半田付け方法
5か月前
株式会社アンド
半田付け方法
1か月前
中国電力株式会社
養生シート
6日前
キヤノン電子株式会社
加工システム
2か月前
株式会社ツガミ
工作機械
1か月前
大見工業株式会社
ドリル
2か月前
村田機械株式会社
レーザ加工機
4か月前
村田機械株式会社
レーザ加工機
4か月前
株式会社トヨコー
被膜除去方法
4か月前
トヨタ自動車株式会社
溶接マスク
3か月前
トヨタ自動車株式会社
溶接ヘッド
4か月前
住友重機械工業株式会社
加工装置
3か月前
続きを見る
他の特許を見る