TOP
|
特許
|
意匠
|
商標
特許ウォッチ
Twitter
他の特許を見る
10個以上の画像は省略されています。
公開番号
2025149841
公報種別
公開特許公報(A)
公開日
2025-10-08
出願番号
2024195896
出願日
2024-11-08
発明の名称
端末、無線通信方法及び基地局
出願人
株式会社NTTドコモ
代理人
インフォート弁理士法人
主分類
H04W
16/28 20090101AFI20251001BHJP(電気通信技術)
要約
【課題】通信品質/スループットを向上させること。
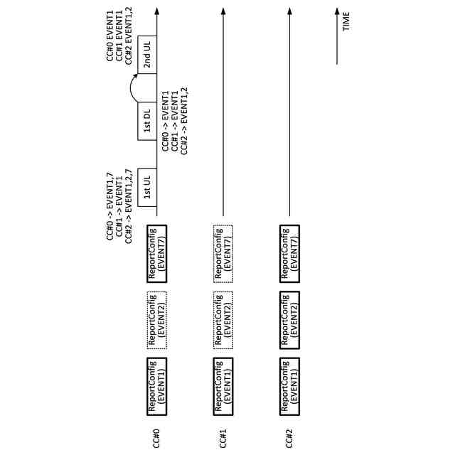
【解決手段】本開示の一態様による端末は、複数のコンポーネントキャリアに対して端末によって開始されるビーム報告が設定される第1のケース、及び、1つのコンポーネントキャリア又は1つの報告設定に対して複数のイベントが設定される第2のケース、の少なくとも1つが満たされる場合、前記ビーム報告に関する第1上りリンク(UL)チャネルと、前記第1ULチャネルに基づく下りリンク(DL)信号と、前記DL信号によってスケジュールされる第2ULチャネルと、のそれぞれが送信されるコンポーネントキャリアと、前記第1ULチャネルに含まれる情報、前記DL信号に含まれる情報、及び、前記第2ULチャネルに含まれる情報と、を決定する制御部と、前記第1ULチャネル及び前記第2ULチャネルの送信と、前記DL信号の受信と、を行う送受信部と、を有する。
【選択図】図2
特許請求の範囲
【請求項1】
複数のコンポーネントキャリアに対して端末によって開始されるビーム報告が設定される第1のケース、及び、1つのコンポーネントキャリア又は1つの報告設定に対して複数のイベントが設定される第2のケース、の少なくとも1つが満たされる場合、前記ビーム報告に関する第1上りリンク(UL)チャネルと、前記第1ULチャネルに基づく下りリンク(DL)信号と、前記DL信号によってスケジュールされる第2ULチャネルと、のそれぞれが送信されるコンポーネントキャリアと、前記第1ULチャネルに含まれる情報、前記DL信号に含まれる情報、及び、前記第2ULチャネルに含まれる情報と、を決定する制御部と、
前記第1ULチャネル及び前記第2ULチャネルの送信と、前記DL信号の受信と、を行う送受信部と、を有する端末。
続きを表示(約 1,100 文字)
【請求項2】
前記制御部は、前記第2のケースが満たされる場合、1つのコンポーネントキャリアにおける前記第2ULチャネルに、1つ又は複数のイベントに対応するビーム報告を含めるよう制御する、請求項1に記載の端末。
【請求項3】
前記送受信部は、前記第1のケースが満たされる場合、前記複数のコンポーネントキャリアのうち、トリガされる報告設定が設定されるコンポーネントキャリア、又は、前記トリガされる報告設定が設定される前記コンポーネントキャリアとは別のコンポーネントキャリア、のいずれかを利用して、前記第2ULチャネルを送信する、請求項1に記載の端末。
【請求項4】
前記制御部は、前記第1のケース及び前記第2のケースの両方が満たされる場合、前記第2ULチャネルに、前記第2ULチャネルに含まれるビーム報告が対応するコンポーネントキャリアの識別子及びイベントの識別子の少なくとも一方を含めるよう制御する、請求項1に記載の端末。
【請求項5】
複数のコンポーネントキャリアに対して端末によって開始されるビーム報告が設定される第1のケース、及び、1つのコンポーネントキャリア又は1つの報告設定に対して複数のイベントが設定される第2のケース、の少なくとも1つが満たされる場合、前記ビーム報告に関する第1上りリンク(UL)チャネルと、前記第1ULチャネルに基づく下りリンク(DL)信号と、前記DL信号によってスケジュールされる第2ULチャネルと、のそれぞれが送信されるコンポーネントキャリアと、前記第1ULチャネルに含まれる情報、前記DL信号に含まれる情報、及び、前記第2ULチャネルに含まれる情報と、を決定するステップと、
前記第1ULチャネル及び前記第2ULチャネルの送信と、前記DL信号の受信と、を行うステップと、を有する端末の無線通信方法。
【請求項6】
複数のコンポーネントキャリアに対して端末によって開始されるビーム報告が設定される第1のケース、及び、1つのコンポーネントキャリア又は1つの報告設定に対して複数のイベントが設定される第2のケース、の少なくとも1つが満たされる場合、前記ビーム報告に関する第1上りリンク(UL)チャネルと、前記第1ULチャネルに基づく下りリンク(DL)信号と、前記DL信号によってスケジュールされる第2ULチャネルと、のそれぞれが送信されるコンポーネントキャリアと、前記第1ULチャネルに含まれる情報、前記DL信号に含まれる情報、及び、前記第2ULチャネルに含まれる情報と、を決定する制御部と、
前記第1ULチャネル及び前記第2ULチャネルの送信と、前記DL信号の受信と、を行う送受信部と、を有する基地局。
発明の詳細な説明
【技術分野】
【0001】
本開示は、次世代移動通信システムにおける端末、無線通信方法及び基地局に関する。
続きを表示(約 1,700 文字)
【背景技術】
【0002】
Universal Mobile Telecommunications System(UMTS)ネットワークにおいて、更なる高速データレート、低遅延などを目的としてLong Term Evolution(LTE)が仕様化された(非特許文献1)。また、LTE(Third Generation Partnership Project(3GPP(登録商標)) Release(Rel.)8、9)の更なる大容量、高度化などを目的として、LTE-Advanced(3GPP Rel.10-14)が仕様化された。
【0003】
LTEの後継システム(例えば、5th generation mobile communication system(5G)、5G+(plus)、6th generation mobile communication system(6G)、New Radio(NR)、3GPP Rel.15以降などともいう)も検討されている。
【先行技術文献】
【非特許文献】
【0004】
3GPP TS 36.300 V8.12.0 “Evolved Universal Terrestrial Radio Access (E-UTRA) and Evolved Universal Terrestrial Radio Access Network (E-UTRAN); Overall description; Stage 2 (Release 8)”、2010年4月
【発明の概要】
【発明が解決しようとする課題】
【0005】
将来の無線通信システム(例えば、NR、Rel.19以降)において、端末(ユーザ端末(user terminal)、User Equipment(UE))によって開始される(イベントに基づく(イベントベースド))ビーム報告(又は、イベントトリガードビーム報告/UE-initiated Beam Report(UEIBR)と呼ばれてもよい)がサポートされることが検討されている。
【0006】
このようなビーム報告は、Rel.19以降のMIMO/モビリティにおいてサポートされることが検討されている。
【0007】
しかしながら、このようなビーム報告について検討が十分でないケースがある。この検討が十分でない場合、より低遅延の通信を実現することができず、通信品質/スループットの向上の抑制を招くおそれがある。
【0008】
そこで、本開示は、通信品質/スループットを向上させることができる端末、無線通信方法及び基地局を提供することを目的の1つとする。
【課題を解決するための手段】
【0009】
本開示の一態様による端末は、複数のコンポーネントキャリアに対して端末によって開始されるビーム報告が設定される第1のケース、及び、1つのコンポーネントキャリア又は1つの報告設定に対して複数のイベントが設定される第2のケース、の少なくとも1つが満たされる場合、前記ビーム報告に関する第1上りリンク(UL)チャネルと、前記第1ULチャネルに基づく下りリンク(DL)信号と、前記DL信号によってスケジュールされる第2ULチャネルと、のそれぞれが送信されるコンポーネントキャリアと、前記第1ULチャネルに含まれる情報、前記DL信号に含まれる情報、及び、前記第2ULチャネルに含まれる情報と、を決定する制御部と、前記第1ULチャネル及び前記第2ULチャネルの送信と、前記DL信号の受信と、を行う送受信部と、を有する。
【発明の効果】
【0010】
本開示の一態様によれば、通信品質/スループットを向上させることができる。
【図面の簡単な説明】
(【0011】以降は省略されています)
この特許をJ-PlatPat(特許庁公式サイト)で参照する
関連特許
個人
監視カメラシステム
3日前
キーコム株式会社
光伝送線路
4日前
サクサ株式会社
中継装置
10日前
WHISMR合同会社
収音装置
1か月前
サクサ株式会社
中継装置
9日前
個人
スキャン式車載用撮像装置
3日前
アイホン株式会社
電気機器
1か月前
キヤノン株式会社
撮像装置
1か月前
サクサ株式会社
無線通信装置
9日前
株式会社リコー
画像形成装置
1か月前
株式会社リコー
画像形成装置
1か月前
サクサ株式会社
無線通信装置
9日前
株式会社リコー
画像形成装置
2か月前
サクサ株式会社
無線システム
8日前
キヤノン電子株式会社
画像読取装置
2日前
個人
ワイヤレスイヤホン対応耳掛け
29日前
キヤノン電子株式会社
画像読取装置
1か月前
ブラザー工業株式会社
読取装置
2か月前
個人
発信機及び発信方法
8日前
日本電気株式会社
海底分岐装置
4日前
キヤノン株式会社
撮像システム
1か月前
キヤノン電子株式会社
シート材搬送装置
2か月前
沖電気工業株式会社
画像形成装置
19日前
株式会社松平商会
携帯機器カバー
1か月前
シャープ株式会社
端末装置
1日前
大日本印刷株式会社
写真撮影装置
1か月前
キヤノン電子株式会社
画像処理システム
2日前
パテントフレア株式会社
超高速電波通信
1か月前
株式会社小糸製作所
画像照射装置
1か月前
沖電気工業株式会社
画像形成装置
11日前
株式会社JVCケンウッド
通信システム
15日前
有限会社フィデリックス
マイクロフォン
15日前
株式会社NTTドコモ
端末
4日前
国立大学法人電気通信大学
小型光学装置
1か月前
株式会社NTTドコモ
端末
3日前
株式会社NTTドコモ
端末
4日前
続きを見る
他の特許を見る