TOP
|
特許
|
意匠
|
商標
特許ウォッチ
Twitter
他の特許を見る
公開番号
2025150243
公報種別
公開特許公報(A)
公開日
2025-10-09
出願番号
2024051027
出願日
2024-03-27
発明の名称
建物
出願人
大和ハウス工業株式会社
代理人
個人
,
個人
主分類
E04H
1/02 20060101AFI20251002BHJP(建築物)
要約
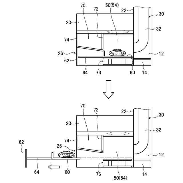
【課題】屋内の収容空間にごみを溜められるように構成され、且つ、収容空間内のごみを合理的に(経済的に)乾燥及び収縮させることが可能な建物を提供する。
【解決手段】本発明の一つの実施形態に係る住宅10は、宅内に設けられたごみ収容空間50と、宅内においてガスコンロ20の上方に配置された開口24から延出し、ガスコンロ20の使用に起因して加熱される空気が流れるダクト30と、を備え、ダクト30は、ごみ収容空間50まで延出した第1ダクト部32を有する。
【選択図】図2
特許請求の範囲
【請求項1】
建物内に設けられ、ごみを収容するごみ収容空間と、
前記建物内において加熱機器の上方に配置された開口から延出し、前記加熱機器の使用に起因して加熱される空気が流れるダクトと、を備え、
前記ダクトは、前記ごみ収容空間まで延出した部分を有する、建物。
続きを表示(約 1,000 文字)
【請求項2】
前記ダクトは、前記ダクトの途中位置にて、前記ごみ収容空間まで延出した第1ダクト部と、屋外空間と隣接した排気口まで延出した第2ダクト部に分岐しており、
前記ダクトには、前記第1ダクト部及び前記第2ダクト部のうちのいずれか一方のみを開通させるための弁が設けられ、
前記弁は、前記加熱機器の使用中には前記第1ダクト部が開通するように操作される、請求項1に記載の建物。
【請求項3】
前記ごみ収容空間は、生ごみを収容する第1収容空間と、プラスチック材料のごみを収容する第2収容空間とを含み、
前記第1ダクト部は、前記第1ダクト部の途中位置にて、前記第1収容空間まで延出した第3ダクト部と、前記第2収容空間まで延出した第4ダクト部とに分岐している、請求項2に記載の建物。
【請求項4】
前記第1収容空間には、前記第1収容空間の底部をなし、排水用の貫通孔が複数形成された底板が配置されており、
前記底板の下方には、前記貫通孔を通過した水を受ける排水溝が設けられている、請求項3に記載の建物。
【請求項5】
前記第1収容空間及び前記第2収容空間の各々には、前記第1収容空間及び前記第2収容空間の各々の底部をなし、前記第1収容空間及び前記第2収容空間の各々に対して出し入れ可能な底板が配置されている、請求項3に記載の建物。
【請求項6】
前記第2収容空間内のごみを圧縮する圧縮機構をさらに有する、請求項3に記載の建物。
【請求項7】
投入口と連続し、前記投入口から投入されたごみを受け入れるごみ受け入れ空間を有し、
前記ごみ受け入れ空間と前記ごみ収容空間とは、互いに隣り合う位置に配置されており、
前記ごみ受け入れ空間と前記ごみ収容空間との間に可動扉が設けられている、請求項1に記載の建物。
【請求項8】
前記可動扉は、前記ごみ受け入れ空間と前記ごみ収容空間とを仕切る通常位置と、前記通常位置よりも前記ごみ収容空間側に入り込んで前記ごみ受け入れ空間と前記ごみ収容空間とを連通させる連通位置との間を移動する一方で、前記通常位置よりも前記ごみ受け入れ空間側には移動しない、請求項7に記載の建物。
【請求項9】
前記加熱機器は、ガスコンロであり、
前記開口は、前記ガスコンロと隣接する壁面に設けられており、
前記ごみ収容空間は、前記ガスコンロの下に設けられている、請求項1に記載の建物。
発明の詳細な説明
【技術分野】
【0001】
本発明は、建物に係り、特に、屋内の収容空間にごみを溜められるように構成された建物に関する。
続きを表示(約 1,700 文字)
【背景技術】
【0002】
住宅等の建物内に収容スペースを設け、その収容スペースにごみ(具体的には、生ごみやプラスチックごみ等)を一時的に収容しておくことは、周知である。例えば、特許文献1に記載の住宅では、キッチンカウンターにごみ収容部を設け、キッチン側から当該ごみ収容部にごみを投入することができる。
【先行技術文献】
【特許文献】
【0003】
特開2023-120019号公報
【発明の概要】
【発明が解決しようとする課題】
【0004】
しかしながら、建物内にごみ、特に生ごみを溜めておくと、ごみの腐敗等による臭気が発生して、建物内の環境を汚染してしまう。また、ごみが嵩張った場合や収容スペース内のごみが過剰に増えた場合には、そのごみが収容スペースに入りきれない可能性がある。
【0005】
一方、加熱された空気をごみの収容スペースに投入することができれば、ごみを乾燥させて収縮させることができる。ただし、ごみ処理用の加熱空気を生成するために天然ガスや石油等の燃料を新たに消費すると、その分のコストが発生し、家計や建物の運営等において負担となってしまう。
【0006】
そこで、本発明は、上記の課題に鑑みてなされたものであり、その目的とするところは、屋内の収容空間にごみを溜められるように構成され、且つ、収容空間内のごみを合理的に(経済的に)乾燥及び収縮させることが可能な建物を提供することである。
【課題を解決するための手段】
【0007】
上記の課題は、本発明の建物によれば、建物内に設けられ、ごみを収容するごみ収容空間と、建物内において加熱機器の上方に配置された開口から延出し、加熱機器の使用に起因して加熱される空気が流れるダクトと、を備え、ダクトは、ごみ収容空間まで延出した部分を有することにより解決される。
上記のように構成された本発明の建物であれば、加熱機器の使用により加熱された空気を回収し、回収した空気を利用して、ごみ収容空間内のごみを合理的に(経済的に)乾燥及び収縮させることができる。
【0008】
また、本発明の建物において、ダクトは、ダクトの途中位置にて、ごみ収容空間まで延出した第1ダクト部と、屋外空間と隣接した排気口まで延出した第2ダクト部に分岐してもよい。この場合、ダクトには、第1ダクト部及び第2ダクト部のうちのいずれか一方のみを開通させるための弁が設けられ、弁は、加熱機器の使用中には第1ダクト部が開通するように操作されるとよい。
上記の構成であれば、加熱機器が使用される間、加熱された空気を回収して、その加熱された空気を、ごみ収容空間に適切に送ることができる。
【0009】
また、本発明の建物において、ごみ収容空間は、生ごみを収容する第1収容空間と、プラスチック材料のごみを収容する第2収容空間とを含んでもよい。この場合、第1ダクト部は、第1ダクト部の途中位置にて、第1収容空間まで延出した第3ダクト部と、第2収容空間まで延出した第4ダクト部とに分岐してもよい。
上記の構成であれば、ごみ収容空間において生ごみとプラスチック材料のごみを分別して溜めておくことができ、また、それぞれの種類のごみに対して、加熱機器の使用により加熱された空気を利用して処理(具体的には、乾燥及び収縮)することができる。
【0010】
また、本発明の建物において、第1収容空間には、第1収容空間の底部をなし、排水用の貫通孔が複数形成された底板が配置されており、底板の下方には、貫通孔を通過した水を受ける排水溝が設けられてもよい。
上記の構成であれば、生ごみ由来の水及び液状物を第1収容空間から速やかに除去することができるため、第1収容空間内の生ごみを、加熱機器の使用により加熱された空気によって効率よく乾燥させることができる。
(【0011】以降は省略されています)
この特許をJ-PlatPat(特許庁公式サイト)で参照する
関連特許
個人
接合構造
7日前
個人
タッチミー
6日前
個人
屋台
24日前
個人
野良猫ハウス
1か月前
個人
フェンス
1か月前
個人
転落防止用手摺
1か月前
個人
居住車両用駐車場
1か月前
積水樹脂株式会社
柵体
1か月前
個人
ベンリナアングル
6日前
個人
地下型マンション
3か月前
ニチハ株式会社
建築板
1か月前
個人
筋交自動設定装置
14日前
個人
壁断熱パネル
4か月前
株式会社タナクロ
テント
3か月前
個人
鋼管結合資材
3か月前
個人
熱抵抗多層断熱建材
1か月前
個人
柵
2か月前
個人
補強部材
1か月前
個人
身体用シェルター
14日前
個人
身体用シェルター
14日前
個人
循環流水式屋根融雪装置
3か月前
成友建設株式会社
建物
1か月前
鹿島建設株式会社
壁体
1か月前
イワブチ株式会社
組立柱
1か月前
三協立山株式会社
構造体
3か月前
三協立山株式会社
構造体
4か月前
個人
可搬型供養墓
12日前
インターマン株式会社
天井構造
2か月前
三協立山株式会社
構造体
14日前
三協立山株式会社
構造体
14日前
株式会社熊谷組
吊り治具
11日前
三協立山株式会社
構造体
14日前
株式会社熊谷組
床構成材
4日前
三協立山株式会社
構造体
14日前
株式会社熊谷組
木質材料
24日前
三協立山株式会社
構造体
14日前
続きを見る
他の特許を見る