TOP
|
特許
|
意匠
|
商標
特許ウォッチ
Twitter
他の特許を見る
10個以上の画像は省略されています。
公開番号
2025150665
公報種別
公開特許公報(A)
公開日
2025-10-09
出願番号
2024051675
出願日
2024-03-27
発明の名称
マイクロ光共振器、及び光周波数コム発生装置
出願人
国立大学法人徳島大学
代理人
主分類
G02F
1/365 20060101AFI20251002BHJP(光学)
要約
【課題】光周波数コムの起動において、温度上昇に伴う共振器の熱変形による共振波長および屈折率が変化するため、励起光の波長を精度よくソリトン化する領域に移動させることが難しいという課題があった。また、励起光を掃引する機能は、励起光の波長を変化させる必要があり小型化およびコスト面で大きな課題であった。
【解決手段】励起光の掃引を行わず、かつ直径が統計的な確立に基づいて無秩序に分布する同一呼び径の複数の第1から第n番目のリング導波路を設ける。この複数の第1から第n番目のリング導波路内に、熱変形アクチュエーターがそれぞれ設けられ、熱変形アクチュエーターがアクチュエーターヒーターで同時に加熱し、その後冷却することでソリトン光コムの立ち上げを行う。複数個ある第1から第n番目のリング導波路の中のどれか一つが励起光の波長がリング導波路のソリトン化領域に合わせればよいので、ソリトン光コム生成をより確実にできる。
【選択図】図1
特許請求の範囲
【請求項1】
レーザー光源装置から照射される所定の波長を有する励起光の入力を受け付ける入力部と、3次非線形光学効果を有する材質により構成され、直径が統計的な確立に基づいて無秩序に分布する同一呼び径の第1から第n番目のリング導波路と、前記入力部からの前記励起光を入力し、第1~第n番目の前記リング導波路と光学的にそれぞれ結合する位置に設けられ、少なくとも前記励起光の一部を第1から第n番目の前記リング導波路のうちの特定のリング導波路に前記励起光のエヴァネッセント光を入力し、前記第1の導波路から互いに等しい周波数間隔である複数の櫛状のスペクトラムを有する光周波数コムを取り出す直線導波路と、前記直線導波路および第1から第n番目のリング導波路の周りを囲み、前記直線導波路および第1から第n番目の前記リング導波路の屈折率より低い屈折率で形成されたクラッドと、第1から第n番目の前記リング導波路の内側にそれぞれ形成された第1から第n番目の前記リング導波路の径を増減させる第1から第n番目の熱変形アクチュエーターと、第1から第n番目の前記熱変形アクチュエーターを加熱する第1から第n番目のアクチュエーターヒーターと、前記熱変形アクチュエーターの温度を検出するアクチュエーター温度センサーと、前記熱変形アクチュエーターを冷却する基板と、を有することを特徴とするマイクロ光共振器。
続きを表示(約 1,000 文字)
【請求項2】
第1から第n番目の前記熱変形アクチュエーターと第1から第n番目の前記アクチュエーターヒーターがそれぞれ接していることを特徴とする請求項1から2記載のマイクロ光共振器。
【請求項3】
第1から第n番目の前記熱変形アクチュエーターと前記基板が接していることを特徴とする請求項1から3記載のマイクロ光共振器。
【請求項4】
レーザー光源装置から照射される所定の波長を有する励起光の入力を受け付ける入力部と、3次非線形光学効果を有する材質により構成され、直径が統計的な確立に基づいて無秩序に分布する同一呼び径の第1から第n番目のリング導波路と、前記入力部からの前記励起光を入力し、第1から第n番目の前記リング導波路と光学的にそれぞれ結合する位置に設けられ、少なくとも前記励起光の一部を第1から第n番目の前記リング導波路のうちの特定のリング導波路に前記励起光のエヴァネッセント光を入力し、前記第1の導波路から互いに等しい周波数間隔である複数の櫛状のスペクトラムを有する光周波数コムを取り出す直線導波路と、前記直線導波路および第1から第n番目の前記リング導波路の周りを囲み、前記直線導波路および第1から第n番目の前記リング導波路の屈折率より低い屈折率で形成されたクラッドと、前記第1から第n番目のリング導波路の内側にそれぞれ形成された前記リング導波路の径を増減させる第1から第n番目の熱変形アクチュエーターと、前記第1から第n番目の前記熱変形アクチュエーターを加熱する第1から第n番目のアクチュエーターヒーターと、前記熱変形アクチュエーターの温度を検出するアクチュエーター温度センサーと、前記熱変形アクチュエーターを冷却する基板と、前記クラッドを所定の温度に加熱する第2のヒーターと、前記クラッドの温度を検出する第2の温度センサーと、前記クラッドの基準温度を周囲環境温度より高い値に制御する温度制御装置と、を有することを特徴とする光周波数コム発生装置。
【請求項5】
前記直線導波路から出力されるソリトン光コムを検出するソリトン光コム検出器と、ソリトン光コム立ち上げ時毎に、前記クラッドの基準温度を一定量ずつ上昇させるクラッド温度調整部と、ソリトン光コムの立ち上げをコントロールするソリトン光コム起動制御部とを有する請求項4記載の光周波数コム発生装置。
発明の詳細な説明
【技術分野】
【0001】
本発明は、光周波数コムの周波数制御装置及び方法に関し、特に、ソリトン光コムの起動を確実に行い、かつ連続してソリトン光コムを生成し維持するためのマイクロ光共振器、及び光周波数コム発生装置に関する。
続きを表示(約 2,600 文字)
【背景技術】
【0002】
光周波数コムは、周波数軸上に等間隔に並んだ成分(モード)からなる櫛(コム)形のスペクトラムを持つ光信号である。光周波数コムを起動するには、キャビティ内を異常分散状態にするだけでは不十分であり、特殊な手順を踏む必要がある。この手法は2014年に、周回型光導波路へ導入する連続波(CW)レーザー光源の波長を、その共振周波数付近で連続的に掃引する手法が発見され、この方法を基本とする手法が多く研究されている。しかし上記の手法による起動では、周回型光導波路における二つの要因による共振周波数のシフト、具体的にはカー非線形効果による光学的なシフトと、温度上昇による材料そのものの屈折率の変化及び熱膨張に起因する熱的なシフトの両方を考慮しなければならず、非常に複雑である。
【0003】
以下に従来の光周波数コム発生装置について説明する。
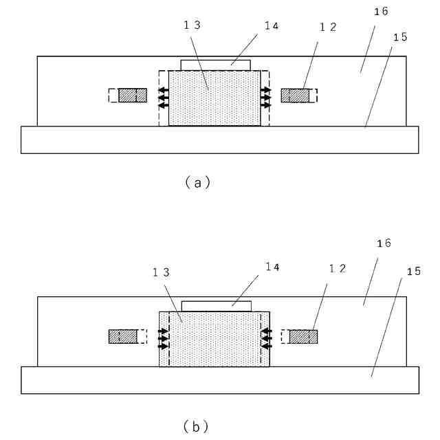
そのマイクロ光共振器を図14に示す。図14(a)は導波路の平面図であり、図14(b)は、x軸の断面図を表している。30aはシリコン基板29上に成膜された二酸化ケイ素(SiO2)で形成された第1のクラッド層である。この第1のクラッド層30aの一部をエッチング除去して周回型光共振器である共振器32および導波路31が埋め込まれている。その上に第2のクラッド層30bが形成される。共振器32はリング状であり、導波路31は直線で構成される。共振器32と導波路31は僅かな隙間dを介して配置されている。なお、隙間dのz方向側面は、ドライエッチングで加工された面によって形成されている。また、共振器32と導波路31は窒化シリコンで構成されている。
【0004】
以上のように構成された従来の光周波数コム発生装置について、以下その動作について説明する。
導波路31には、図外の連続波(CW)レーザー光源光源装置から照射される励起光の入力を受け付ける入力部33が接続され、CWレーザー光源光源装置からCWレーザー光である励起光34が導波路31に入射される。入射される励起光34は波長λ1を有する連続波である。図15(a)に入射励起光34の波長スペクトラムを示す。励起光34の共振波長λ1と共振器32の共振波長が重なると、励起光34は導波路31から染み出たいわゆるエヴァネッセント波として共振器32内に取り込まれる。そして共振器内の異なる波長を有する各モードがそろった状態になると、ピークが重なり強め合う干渉により、パルス37が発生する。この状態をモード同期という。また、このパルスを光コムという。
【0005】
図16にモード同期の概念を示す。モード間隔は繰り返し周波数frepで表され、
frep =mc/(2nL) m=1,2,3,・・・・
となる。nは導波路の材質の有効屈折率で、Lは共振器の周長、cは光速である。
光コムは、周波数軸上で見たとき、図15(b)のようなモードが櫛のように等間隔に並ぶスペクトラムを有する。
【0006】
ここで、図17を用いてマイクロ光共振器の波長掃引について説明する。
光コムは励起光34をマイクロ光共振器の共振波形36の共振波長λ2に対して、短波長側から長波長側へ波長掃引することで発生する。ここで励起光34の波長λ1とマイクロ光コムの共振波長λ2との距離をデチューニング量とする。共振波長λ2の位置をゼロデチューンという。ゼロデチューンより短波長側をブルーデチューン、長波長側をレッドデチューンと言い、ブルーデチューン側からデチューン量を小さくしていくと、励起光34は導波路31からエヴァネッセント波として共振してカップリングパワーが共振器32内に導かれる。これによって共振器32内の光パワーが徐々に増加していく。そして励起光34のカップリングパワーが非線形光学効果の閾値より大きくなった時、四光波混合(FWM)によってコムモードが発生する。このとき発生するのはカオス光コムである。
【0007】
マイクロ光共振器を用いて発生する櫛状スペクトル群を大別すると、カオス光コムとソリトン光コムに分けることができる。このうちモード同期されない状態の光コムをカオス光コムという。一方、モード同期されており位相、周波数、パルス波形などの面で最も安定した状態の光コムをソリトン光コムという。ソリトン光コムを発生させるためには、励起光34の波長λ1がゼロチューンの波長λ2を超えたレッドデチューンに移行したソリトン化領域38を捉える必要がある。
【0008】
図18は、励起光34がレッドデチューンのソリトン化領域に至る経過を示した図である。図18(1)において励起光34は波長λ1を長波長側へシフトしていく。図18(2)において励起光34が共振波形にかかると徐々に光エネルギーが共振器32内に流入する。この光エネルギーによって共振器32は発熱する。この熱によって共振器32のリング径が熱膨張し共振波長λ2が長波長側にシフトする。35は熱による共振器の共振波長変化(δλ2)である。さらにリング内の光強度が高くなれば、発熱により屈折率も増加する。また、カー効果も表れる。
【0009】
これらを回避するには速いスピードで共振のピークを通り抜ける必要がある。その後、図18(3)において、励起光34が共振のピークを追い越してレッドチューンの中のソリトン化領域に達し停止する。このように励起光34が、共振波形36のピークを通過し、高い光強度を共振器32内に注入した後、ソリトン化領域に至り停止させる必要がある。以上、これらの動作でソリトン光コムが得られることになる。なお前述の励起光34をマイクロ光共振器の共振波形36の共振波形36の共振波長λ2に対して、短波長側から長波長側へ波長掃引する手段として、高速波長シフターを用いる。また、高速波長シフターにより減衰した光強度を増幅する光信号増幅器(EDFA)が必要となる。
【先行技術文献】
【特許文献】
【0010】
米国特許第316829号明細書
【非特許文献】
(【0011】以降は省略されています)
この特許をJ-PlatPat(特許庁公式サイト)で参照する
関連特許
国立大学法人徳島大学
光位相変調モジュール
5か月前
国立大学法人徳島大学
ゼオライトの製造方法
4か月前
国立大学法人徳島大学
マイクロコム制御装置
1か月前
国立大学法人徳島大学
多重光周波数コム生成装置
7日前
国立大学法人徳島大学
肝細胞様細胞の製造方法及びその利用
21日前
国立大学法人徳島大学
光共振器、及び光周波数コム発生装置
1日前
国立大学法人徳島大学
光共振器、及び光周波数コム発生装置
1日前
国立大学法人徳島大学
マイクロ光共振器、及び光周波数コム発生装置
21日前
国立大学法人徳島大学
マイクロ光共振器、及び光周波数コム発生装置
1日前
国立大学法人徳島大学
マイクロ光共振器、及び光周波数コム発生装置
21日前
国立大学法人徳島大学
マイクロ光共振器、及び光周波数コム発生装置
21日前
国立大学法人徳島大学
マイクロ光共振器、及び光周波数コム発生装置
21日前
国立大学法人徳島大学
紫外線波長変換素子、及び紫外線分光測定装置
8か月前
国立大学法人徳島大学
マイクロ光共振器、および光周波数コム制御方法
1日前
JFEスチール株式会社
リン化合物の製造方法
5か月前
国立大学法人徳島大学
分析プログラム、分析装置、分析方法、および測定装置
1か月前
株式会社マルイ
透気測定装置、透気測定方法、及び透気測定システム
5か月前
国立大学法人徳島大学
コンクリート構造物の劣化診断装置、コンクリート構造物の劣化診断方法
7日前
国立大学法人徳島大学
高偏極化対象物、並びに、その製造方法、高偏極化方法及び高偏極化装置
4か月前
国立大学法人徳島大学
骨および/または軟骨再生用の組成物、骨および/または軟骨の疾患の処置および/または予防用の組成物
14日前
ナノミストテクノロジーズ株式会社
使用環境に対する超音波振動子の寿命を検出する超音波霧化システム
4か月前
国立大学法人徳島大学
器具の洗浄方法、原液処理装置および原液処理装置の操作方法
4か月前
国立大学法人徳島大学
腐敗菌情報検索方法、システム及びデータ構造並びにそのデータ構造を用いる食品安全・衛生管理システム及び方法
7か月前
東レ株式会社
積層フィルム
2日前
アイカ工業株式会社
反射防止フィルム
8日前
スタンレー電気株式会社
照明装置
3日前
インターマン株式会社
立体映像表示装置
21日前
日本電気株式会社
光集積回路素子
今日
住友化学株式会社
積層体
今日
日東電工株式会社
調光フィルム
1日前
日本精機株式会社
ヘッドアップディスプレイ装置
1日前
日本分光株式会社
赤外顕微鏡
7日前
旭化成株式会社
成形体
7日前
旭化成株式会社
成形体
7日前
キヤノン株式会社
レンズ装置および撮像装置
9日前
住友ベークライト株式会社
積層体の製造方法
1日前
続きを見る
他の特許を見る