TOP
|
特許
|
意匠
|
商標
特許ウォッチ
Twitter
他の特許を見る
10個以上の画像は省略されています。
公開番号
2025151006
公報種別
公開特許公報(A)
公開日
2025-10-09
出願番号
2024052210
出願日
2024-03-27
発明の名称
走行車システム
出願人
村田機械株式会社
代理人
個人
,
個人
,
個人
,
個人
主分類
B61B
10/00 20060101AFI20251002BHJP(鉄道)
要約
【課題】走行車が自走不能な作業用軌道において、コンパクトかつ簡易な制御で走行車を移動させることができる、走行車システムを提供する。
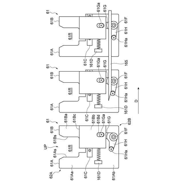
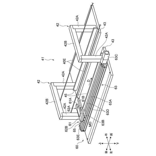
【解決手段】走行車システム1は、作業用軌道41において、走行車6を一方向に移動させる移動ユニット60を備える。移動ユニット60は、走行車6の一部を把持可能な移動ブロック61を有する。走行車6は、移動ブロック61によって把持される被把持部53を有する。移動ブロック61は、第一位置にある被把持部53を第一把持部61Aと第二把持部61Bとによって挟持することで把持する把持部62Aと、被把持部53が把持される閉状態から被把持部53が把持されない開状態となるように、又は、開状態から閉状態となるように、把持部62Aの状態を切り替える把持機構62Bと、を有する。
【選択図】図3
特許請求の範囲
【請求項1】
走行車と、
前記走行車が自走可能な区間となる自走用軌道と、
前記走行車が自走できない区間となる作業用軌道と、
前記作業用軌道において、前記走行車を一方向に移動させる移動ユニットと、を備え、
前記移動ユニットは、
前記走行車の走行方向に沿って移動可能に設けられると共に、前記走行車の一部を把持可能な移動ブロックを有し、
前記走行車は、
前記走行車の一部であって、前記移動ブロックによって把持される被把持部と、
前記移動ブロックによって前記被把持部が把持される第一位置と前記移動ブロックから離反した第二位置との間で前記被把持部の位置を切り替える切替機構と、を有し、
前記移動ブロックは、
前記第一位置にある前記被把持部を第一把持部と第二把持部とによって挟持することで把持する把持部と、
前記被把持部が把持される閉状態から前記被把持部が把持されない開状態となるように、又は、前記開状態から前記閉状態となるように、前記把持部の状態を切り替える、把持機構と、を有する、走行車システム。
続きを表示(約 430 文字)
【請求項2】
前記把持機構は、前記走行車の走行方向に沿って、前記第一把持部及び前記第二把持部の少なくとも一方を移動させることで、前記把持部の状態を切り替える、請求項1記載の走行車システム。
【請求項3】
前記把持機構は、前記移動ブロックの移動に連動して、前記第一把持部及び前記第二把持部の少なくとも一方を移動させる、請求項2記載の走行車システム。
【請求項4】
前記走行車の走行方向において、前記作業用軌道の上流端部に位置する前記走行車の前記被把持部の位置を上流側被把持部位置、前記作業用軌道の下流端に位置する前記走行車の前記被把持部の位置を下流側被把持部位置としたとき、
前記把持機構は、前記上流側被把持部位置において前記開状態、前記上流側被把持部位置と前記下流側被把持部位置との間を前記閉状態、前記下流側被把持部位置において前記開状態となるように、前記把持部の状態を切り替える、請求項3記載の走行車システム。
発明の詳細な説明
【技術分野】
【0001】
本発明の一側面は、走行車システムに関する。
続きを表示(約 1,900 文字)
【背景技術】
【0002】
軌道に沿って走行可能な走行部を有する天井走行車が知られている。このような走行車では、走行部を点検したり、クリーニングしたりする等のメンテナンスを定期的に行う必要がある。メンテナンス箇所が筒状の軌道の内部を走行する走行部である場合には、メンテナンス箇所を軌道から露出させる必要がある。しかしながら、軌道には、走行部に電源を供給する給電線又は磁気プレート等が配置されているので、上述したようにメンテナンス箇所を露出させるような軌道構成にすると、走行部が自走できなくなる。特許文献1には、このような課題を解決することができる走行車システムが開示されている。
【先行技術文献】
【特許文献】
【0003】
国際公開WO2020/202856号公報
【発明の概要】
【発明が解決しようとする課題】
【0004】
しかしながら、上記従来の走行車システムでは、様々な走行車のサイズに合わせるために走行部を前後から挟み込む機構と、走行部を挟み込んだ状態で走行部を移動させる機構と、を備えており、装置構成が大きくなり、かつ複雑な制御が必要であった。
【0005】
そこで、本発明の一側面の目的は、走行車が自走不能な作業用軌道において、コンパクトかつ簡易な制御で走行車を移動させることができる、走行車システムを提供することにある。
【課題を解決するための手段】
【0006】
(1)本発明の一側面に係る走行車システムは、走行車と、走行車が自走可能な区間となる自走用軌道と、走行車が自走できない区間となる作業用軌道と、作業用軌道において、走行車を一方向に移動させる移動ユニットと、を備え、移動ユニットは、走行車の走行に沿って移動可能に設けられると共に、走行車の一部を把持可能な移動ブロックを有し、走行車は、走行車の一部であって、移動ブロックによって把持される被把持部と、移動ブロックによって被把持部が把持される第一位置と移動ブロックから離反した第二位置との間で被把持部の位置を切り替える切替機構と、を有し、移動ブロックは、第一把持部と第二把持部とによって第一位置にある被把持部を挟持することで把持する把持部と、被把持部が把持される閉状態から被把持部が把持されない開状態となるように、又は、開状態から閉状態となるように、把持部の状態を切り替える、把持機構と、を有する。
【0007】
この構成の走行車システムでは、走行車全体を前後から挟み込むのではなく、走行車の一部に設けられた被把持部を把持可能な把持部が設けられるので、走行車全体を前後から挟み込むような移動機構に比べてコンパクトな構成とすることができる。更に、この構成の走行車システムでは、被把持部を把持した後は、走行車の走行方向に沿って把持部を移動させるだけのシンプルな制御で走行車を移動させることができる。この結果、走行車が自走不能な作業用軌道において、コンパクトかつ簡易な制御で走行車を移動させることができる。
【0008】
(2)上記(1)に記載の走行車システムでは、把持機構は、走行車の走行方向に沿って、第一把持部及び第二把持部の少なくとも一方を移動させることで、把持部の状態を切り替えてもよい。この構成では、簡易な構成で、把持部の状態、すなわち開状態と閉状態との切り替えができる。
【0009】
(3)上記(2)に記載の走行車システムでは、把持機構は、移動ブロックの移動に連動して、第一把持部及び第二把持部の少なくとも一方を移動させてもよい。この構成では、移動ブロックの走行方向の移動に連動して、開状態と閉状態とが自動的に切り替わる。この結果、移動ブロックの移動位置に応じて、把持部の状態を適切に切り替えることができる。
【0010】
(4)上記(3)に記載の走行車システムでは、走行車の走行方向において、作業用軌道の上流端部に位置する走行車の被把持部の位置を上流側被把持部位置、作業用軌道の下流端に位置する走行車の被把持部の位置を下流側被把持部位置としたとき、把持機構は、上流側被把持部位置において開状態、上流側被把持部位置と下流側被把持部位置との間において閉状態、下流側被把持部位置において開状態となるように、前記把持部の状態を切り替えてもよい。これにより、移動ブロックは、被把持部をしっかりと把持した状態で走行車を移動させるので、走行車をスムーズに移動させることができる。
【発明の効果】
(【0011】以降は省略されています)
この特許をJ-PlatPat(特許庁公式サイト)で参照する
関連特許
村田機械株式会社
紡績機
4日前
村田機械株式会社
自動倉庫
2日前
村田機械株式会社
糸巻取機
1か月前
村田機械株式会社
糸巻取機
1か月前
村田機械株式会社
糸巻取機
1か月前
村田機械株式会社
自動倉庫
8日前
村田機械株式会社
天井搬送車
22日前
村田機械株式会社
搬送システム
22日前
村田機械株式会社
搬送車システム
2日前
村田機械株式会社
走行車システム
2日前
村田機械株式会社
ピッキングシステム
1か月前
村田機械株式会社
ピッキングシステム
1か月前
村田機械株式会社
糸巻取装置及び自動ワインダ
1か月前
村田機械株式会社
空気紡績機及び吸引捕捉装置
1か月前
村田機械株式会社
繊維束の合流方法及び繊維束合流装置
10日前
村田機械株式会社
ストレージシステム、および第一記憶システム
1か月前
村田機械株式会社
ストレージシステム、および第一記憶システム
1か月前
住友理工株式会社
制振ストッパー及び自動倉庫のラック
1か月前
日本信号株式会社
ホーム柵
1か月前
日本信号株式会社
ホーム柵
1か月前
日本信号株式会社
検査装置
9か月前
個人
車両及び走行システム
5か月前
近畿車輌株式会社
耐火床構造
12日前
日本車輌製造株式会社
鉄道車両
4日前
日本信号株式会社
ホーム柵装置
6か月前
日本車輌製造株式会社
台車組立装置
4か月前
日本信号株式会社
列車接近警報装置
2か月前
近畿車輌株式会社
鉄道車両の床構造
10か月前
近畿車輌株式会社
鉄道車両の床構造
10か月前
近畿車輌株式会社
鉄道車両の床構造
10か月前
ナブテスコ株式会社
ホームドア装置
2か月前
川崎車両株式会社
鉄道車両用パネル
7か月前
カヤバ株式会社
鉄道車両用制振装置
9か月前
保線機器整備株式会社
保線用カート
8か月前
日本信号株式会社
ホームドア制御装置
3か月前
日本信号株式会社
物体検知装置
6か月前
続きを見る
他の特許を見る