TOP
|
特許
|
意匠
|
商標
特許ウォッチ
Twitter
他の特許を見る
10個以上の画像は省略されています。
公開番号
2025135820
公報種別
公開特許公報(A)
公開日
2025-09-19
出願番号
2024033807
出願日
2024-03-06
発明の名称
搬送システム
出願人
村田機械株式会社
代理人
個人
,
個人
,
個人
,
個人
,
個人
,
個人
主分類
B65G
1/137 20060101AFI20250911BHJP(運搬;包装;貯蔵;薄板状または線条材料の取扱い)
要約
【課題】周回搬送装置上の荷物の混雑を抑制しながら、搬送効率を向上させることができる搬送システムを提供する。
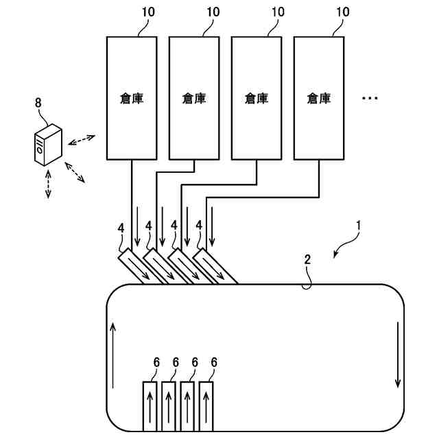
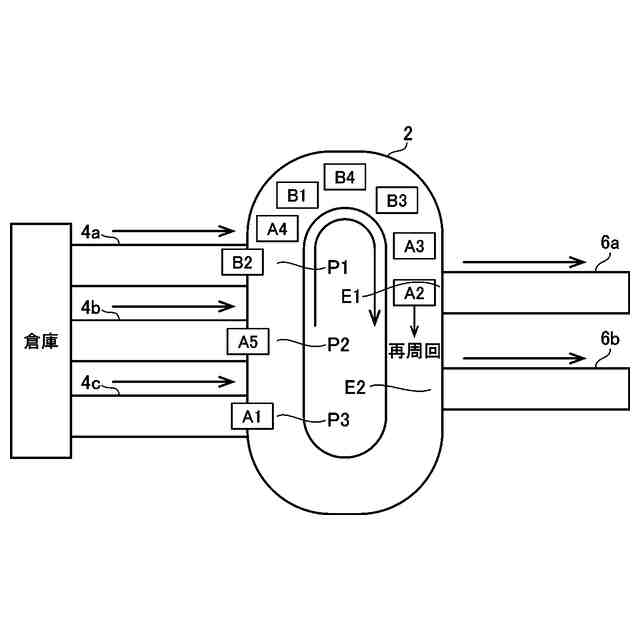
【解決手段】本発明は搬送システム(1)であって、周回搬送装置(2)と、周回搬送装置に投入する複数列の入力搬送装置(4)と、荷物を予め決められた順序に従って周回搬送装置から受け取る複数列の出力搬送装置(6)と、入力搬送装置の先頭に位置する荷物の、周回搬送装置への投入又は待機を制御する制御装置(8)と、を有し、制御装置は、各入力搬送装置の先頭に位置する荷物のうち、周回搬送装置へ投入した場合に、周回搬送装置上で周回経路を1周以上周回することなく出力搬送装置に払い出し可能な荷物である即出荷物を周回搬送装置へ投入する一方、即出荷物以外の荷物である非即出荷物のうちの一部の荷物を優先荷物として選択し、この優先荷物を周回搬送装置へ投入し、その他の荷物は待機させることを特徴としている。
【選択図】図4
特許請求の範囲
【請求項1】
搬入された荷物を、予め決められた順序に従って複数列で搬出する搬送システムであって、
所定の周回経路に沿って荷物を搬送する周回搬送装置と、
搬入された順序で荷物を搬送して、上記周回搬送装置に投入する複数列の入力搬送装置と、
上記周回搬送装置によって搬送されてきた荷物を、予め決められた順序に従って受け取るための複数列の出力搬送装置と、
上記複数列の入力搬送装置によって搬送されてきた先頭に位置する荷物の、上記周回搬送装置への投入又は待機を制御する制御装置と、
を有し、
上記制御装置は、上記各入力搬送装置の先頭に位置する荷物のうち、上記周回搬送装置へ投入した場合に、上記周回搬送装置上で上記周回経路を1周以上周回することなく上記出力搬送装置に払い出し可能な荷物である即出荷物を上記周回搬送装置へ投入する一方、
上記即出荷物以外の荷物である非即出荷物のうちの一部の荷物を優先荷物として選択し、この優先荷物を上記周回搬送装置へ投入し、その他の荷物は待機させることを特徴とする搬送システム。
続きを表示(約 980 文字)
【請求項2】
上記制御装置は、上記各出力搬送装置に荷物を払い出すべき順序、及び上記各入力搬送装置によって搬送されている荷物の順序に基づいて、上記優先荷物を選択する請求項1記載の搬送システム。
【請求項3】
上記制御装置は、或る非即出荷物について、その非即出荷物を払い出すべき出力搬送装置における荷物の順序、及びその他の出力搬送装置における荷物の順序に基づいて、上記優先荷物として選択するか否かを決定する請求項1記載の搬送システム。
【請求項4】
上記制御装置は、上記入力搬送装置の先頭に位置する上記非即出荷物のうち、先に払い出す必要がある荷物が後方に存在する非即出荷物を上記優先荷物として選択する請求項1記載の搬送システム。
【請求項5】
上記制御装置は、有向グラフモデルを使用して上記優先荷物を選択するように構成され、
上記制御装置は、
上記入力搬送装置によって搬送中の荷物を、上記出力搬送装置によって受け取られるべき順序に配列した有向グラフを作成するグラフ作成ステップと、
このグラフ作成ステップで作成された有向グラフにおいて、上記入力搬送装置上で即出荷物の前方に位置する荷物から即出荷物に向けて有向辺を追加する有向辺追加ステップと、
この有向辺追加ステップにおいて有向辺が追加された有向グラフにおいて、有向グラフの下流側から順に、各非即出荷物に対し、その非即出荷物よりも有向グラフの上流側に、上記入力搬送装置上で後ろ側に位置する荷物があるか否かを確認し、ある場合には、その非即出荷物と直近の上流側にある荷物との間の有向辺を削除する有向辺削除ステップと、
この有向辺削除ステップにおいて有向辺が削除された有向グラフにおいて、有向グラフを上流側に遡り、最も上流側に位置する荷物を上記優先荷物として選択する優先荷物選択ステップと、
を実行して優先荷物を選択する請求項1記載の搬送システム。
【請求項6】
上記制御装置は、上記グラフ作成ステップにおいて、上記有向グラフを隣接行列として表現し、この隣接行列に対する演算により、上記有向辺追加ステップ、上記有向辺削除ステップ、及び上記優先荷物選択ステップを実行する請求項5記載の搬送システム。
発明の詳細な説明
【技術分野】
【0001】
本発明は、搬送システムに関し、搬入された荷物を、予め決められた順序に従って複数列で搬出する搬送システムに関する。
続きを表示(約 1,900 文字)
【背景技術】
【0002】
特開2021-95244号公報(特許文献1)には、搬送システムが記載されている。この搬送システムは、荷物の投入を行う複数の投入装置と、荷物を一方通行で周回する周回経路で搬送する搬送装置と、搬送装置が搬送している荷物が払い出されるシュートとを備えている。そして、コントローラにより、順番制御及び保管制御を行うことにより、搬送装置によって周回経路上で搬送されている荷物が、各シュートに予め決められた順序で払い出されるように制御を行っている。
【先行技術文献】
【特許文献】
【0003】
特開2021-95244号公報
【発明の概要】
【発明が解決しようとする課題】
【0004】
特許文献1記載の搬送システムにおいては、搬送されてきた荷物は、搬送された順序で全て搬送装置の周回経路に投入される。そして、搬送装置に荷物が投入される順序は、シュートに払い出される荷物の順序とは異なっている。このため、シュートに払い出されるべき順序が後の荷物は、先に払い出されるべき荷物がシュートに払い出されるまで、搬送装置によって周回経路上を何周も搬送されながら、払い出しが可能となるまで待機することになる。これにより、払い出しが可能となるまで待機している荷物によって、搬送装置が混み合うという問題が発生する。
【0005】
一方、特許文献1記載の搬送システムとは異なり、搬送されてきた荷物のうち、シュートへの払い出しが可能となった荷物のみを搬送装置の周回経路に投入する搬送システムも知られている。このような搬送システムでは、搬送装置の周回経路に投入された荷物は、全てシュートへの払い出しが可能な状態であるため、投入された荷物が周回経路上で待機することはなく、投入された荷物が周回経路上で元の位置まで戻ることはない。しかしながら、このようなタイプの搬送システムでは、荷物が投入を待つ時間が長くなり、搬送効率が低下するという問題がある。また、投入を待っている先頭の荷物よりも後に、先に払い出されるべき荷物が並んでいる場合には、デッドロックが生じ、搬送作業が停滞してしまう虞もある。
【0006】
従って、本発明は、周回搬送装置(周回経路)上の荷物の混雑を抑制しながら、搬送効率を向上させることができる搬送システムを提供することを目的としている。
【課題を解決するための手段】
【0007】
上述した課題を解決するために、本発明は、搬入された荷物を、予め決められた順序に従って複数列で搬出する搬送システムであって、所定の周回経路に沿って荷物を搬送する周回搬送装置と、搬入された順序で荷物を搬送して、周回搬送装置に投入する複数列の入力搬送装置と、周回搬送装置によって搬送されてきた荷物を、予め決められた順序に従って受け取るための複数列の出力搬送装置と、複数列の入力搬送装置によって搬送されてきた先頭に位置する荷物の、周回搬送装置への投入又は待機を制御する制御装置と、を有し、制御装置は、各入力搬送装置の先頭に位置する荷物のうち、周回搬送装置へ投入した場合に、周回搬送装置上で周回経路を1周以上周回することなく出力搬送装置に払い出し可能な荷物である即出荷物を周回搬送装置へ投入する一方、即出荷物以外の荷物である非即出荷物のうちの一部の荷物を優先荷物として選択し、この優先荷物を周回搬送装置へ投入し、その他の荷物は待機させることを特徴としている。
【0008】
このように構成された本発明によれば、即出荷物を周回搬送装置へ投入する一方、即出荷物以外の非即出荷物のうちの一部の荷物を優先荷物として選択し、この優先荷物を周回搬送装置へ投入し、その他の荷物は待機させるので、周回搬送装置上が荷物で混み合うのを抑制しながら、デッドロックの発生を効果的に防止することができ、搬送効率を向上させることができる。
【0009】
本発明において、好ましくは、制御装置は、各出力搬送装置に荷物を搬出すべき順序、及び各入力搬送装置によって搬送されている荷物の順序に基づいて、優先荷物を選択する。
【0010】
このように構成された本発明によれば、各出力搬送装置に荷物を搬出すべき順序、及び各入力搬送装置によって搬送されている荷物の順序に基づいて、優先荷物が選択されるので、各荷物の搬送状況を的確に把握することができ、各荷物を効率的に搬送することができる。
(【0011】以降は省略されています)
この特許をJ-PlatPat(特許庁公式サイト)で参照する
関連特許
村田機械株式会社
紡績機
5日前
村田機械株式会社
自動倉庫
3日前
村田機械株式会社
自動倉庫
9日前
村田機械株式会社
搬送車システム
3日前
村田機械株式会社
走行車システム
3日前
村田機械株式会社
繊維束の合流方法及び繊維束合流装置
11日前
個人
箱
12か月前
個人
収容箱
2か月前
個人
ゴミ箱
11か月前
個人
コンベア
4か月前
個人
容器
8か月前
個人
段ボール箱
6か月前
個人
段ボール箱
6か月前
個人
ゴミ収集器
6か月前
個人
宅配システム
6か月前
個人
角筒状構造体
5か月前
個人
パウチ補助具
11か月前
個人
土嚢運搬器具
8か月前
個人
バンド
1か月前
個人
楽ちんハンド
4か月前
個人
コード類収納具
7か月前
個人
包装容器
23日前
個人
お薬の締結装置
5か月前
個人
廃棄物収容容器
2か月前
個人
閉塞装置
9か月前
個人
貯蔵サイロ
6か月前
個人
蓋閉止構造
3か月前
株式会社バンダイ
物品
4日前
株式会社コロナ
梱包材
5か月前
個人
把手付米袋
4か月前
個人
蓋閉止構造
3か月前
個人
積み重ね用補助具
2か月前
個人
ゴミ処理機
8か月前
株式会社和気
包装用箱
8か月前
三甲株式会社
容器
5か月前
三甲株式会社
容器
5か月前
続きを見る
他の特許を見る