TOP
|
特許
|
意匠
|
商標
特許ウォッチ
Twitter
他の特許を見る
公開番号
2025151082
公報種別
公開特許公報(A)
公開日
2025-10-09
出願番号
2024052321
出願日
2024-03-27
発明の名称
車両製造方法
出願人
トヨタ自動車株式会社
代理人
弁理士法人太陽国際特許事務所
主分類
B62D
25/20 20060101AFI20251002BHJP(鉄道以外の路面車両)
要約
【課題】締結部材の軸力の低下の抑制と部品をセットするために必要な間隙を確保することが可能な車両製造方法を得る。
【解決手段】車両製造方法では、冷却工程、加熱工程、組付工程及び締結工程を含んでいる。冷却工程では、リアモジュール18が冷却され、収縮により左右一対のリアサイドメンバ40車両幅方向の離間距離は小さくなる。また、加熱工程では、電池フレーム28が加熱され、膨張により左右一対のサイドフレーム30の車両幅方向の離間距離は大きくなる。これにより、両者の間で間隙を設けることができ、両者をセットすることができる。そして、締結工程では、左右一対のリアサイドメンバ40と左右一対のサイドフレーム30とが略同じ温度を保持した状態で両者を締結する。このように、両者を略同じ温度で保持することで当該間隙は小さくなる。この状態で締結することによって締結ボルトの軸力の低下を抑制することが可能となる。
【選択図】図1
特許請求の範囲
【請求項1】
車両の下部に配設され、電池パックを支持すると共に車両幅方向の両外側に配置された左右一対のサイドフレームを備え、前記左右一対のサイドフレームが一体化された電池フレームと、
車両前部及び車両後部の少なくとも一方に配設され、車両前後方向に延在された左右一対のサイドメンバを備え、前記左右一対のサイドメンバが一体化された骨格部材と、
を備えた車両骨格構造の車両製造方法であって、
少なくとも前記左右一対のサイドメンバを冷却する冷却工程と、
少なくとも前記左右一対のサイドフレームを加熱する加熱工程と、
前記左右一対のサイドメンバと前記左右一対のサイドフレームが異なる温度を保持した状態で前記左右一対のフレームの車両幅方向の内側に前記左右一対のサイドメンバを組付ける組付工程と、
前記左右一対のサイドメンバと前記左右一対のサイドフレームとが略同じ温度を保持した状態で前記左右一対のサイドフレームと前記左右一対のサイドメンバを締結する締結工程と、
を含んでいる車両製造方法。
続きを表示(約 440 文字)
【請求項2】
前記骨格部材は前記車両後部に配設されたリアモジュールであり、
前記リアモジュールは、
前記左右一対のサイドメンバの車両後方側にそれぞれ設けられ車両幅方向の外側に配置される左右一対のホイールアーチと、
前記左右一対のホイールアーチを支持する支持部材と、
をさらに備え、
前記左右一対のサイドメンバ、前記左右一対のホイールアーチ及び前記支持部材はダイキャストによって一体に成形されている請求項1に記載の車両製造方法。
【請求項3】
前記電池パックは電池フレームを備え、
前記電池フレームは、車両後方側に配置されると共に車両幅方向に延在され前記左右一対のサイドメンバと接続されるクロス部材を含んで構成されている請求項2に記載の車両製造方法。
【請求項4】
前記冷却工程において前記ダイキャスト全体を冷却し、前記加熱工程において前記電池フレーム全体を加熱する請求項3に記載の車両製造方法。
発明の詳細な説明
【技術分野】
【0001】
本発明は、車両製造方法に関する。
続きを表示(約 1,500 文字)
【背景技術】
【0002】
例えば、下記特許文献1には、リアフレームの車両幅方向の外側からサイドシルを取り付ける構造について開示されている。
【先行技術文献】
【特許文献】
【0003】
特開2022-151482号公報
【発明の概要】
【発明が解決しようとする課題】
【0004】
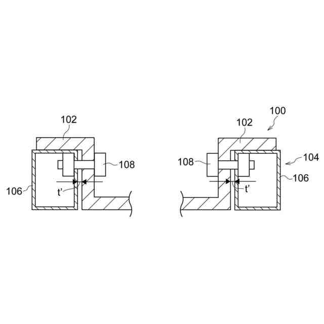
ここで、例えば、左右のリアフレームを一体(リアモジュール)に成形し、左右のサイドシルを一体(センタモジュール)に成形して、リアモジュールとセンタモジュールとを締結ボルトにより締結する場合、締結ボルト(締結部材)の軸力の低下を避けるため、両者の間隙をゼロにする必要がある。その一方で、両方の部品をセットするためには、両者の間で間隙が必要となる。つまり、間隙に関してボルト締結と部品のセットとは背反の関係にあり両方を両立させることは困難である。
【0005】
本発明は上記事実を考慮し、部品をセットするために必要な間隙の確保と当該間隙による締結部材の軸力の低下を抑制することが可能な車両製造方法を得ることを目的とする。
【課題を解決するための手段】
【0006】
請求項1に係る車両製造方法は、車両の下部に配設され、電池パックを支持すると共に車両幅方向の両外側に配置された左右一対のサイドフレームを備え、前記左右一対のサイドフレームが一体化された電池フレームと、車両前部及び車両後部の少なくとも一方に配設され、車両前後方向に延在された左右一対のサイドメンバを備え、前記左右一対のサイドメンバが一体化された骨格部材と、を備えた車両骨格構造の車両製造方法であって、少なくとも前記左右一対のサイドメンバを冷却する冷却工程と、少なくとも前記左右一対のサイドフレームを加熱する加熱工程と、前記左右一対のサイドメンバと前記左右一対のサイドフレームが異なる温度を保持した状態で前記左右一対のフレームの車両幅方向の内側に前記左右一対のサイドメンバを組付ける組付工程と、前記左右一対のサイドメンバと前記左右一対のサイドフレームとが略同じ温度を保持した状態で前記左右一対のサイドフレームと前記左右一対のサイドメンバを締結する締結工程と、を含んでいる。
【0007】
請求項1に係る車両製造方法では、電池フレームと車両前部及び車両後部の少なくとも一方に配設された骨格部材とを備えた車両骨格構造の車両製造方法において、冷却工程と、加熱工程と、組付工程と、締結工程と、を含んでいる。
【0008】
電池フレームは、車両の下部に配設されており、電池パックを支持すると共に車両幅方向の両外側には左右一対のサイドフレームを備えている。この左右一対のサイドフレームは一体化されている。一方、車両前部及び車両後部の少なくとも一方には、骨格部材が配設されており、当該骨格部材には車両前後方向に延在された左右一対のサイドメンバを備えており、当該左右一対のサイドメンバは一体化されている。
【0009】
このため、本発明では、電池フレームの一部を構成する左右一対のサイドフレームと車両前部及び車両後部の少なくとも一方に配設された骨格部材の一部を構成する左右一対のサイドメンバは締結される。
【0010】
このように、電池フレームの左右一対のサイドフレームと骨格部材の左右一対のサイドメンバが締結される前に、本発明では、冷却工程、加熱工程、組付工程が行われる。なお、冷却工程、加熱工程については、対象となる部材が異なるため時間的な前後関係は問わない。
(【0011】以降は省略されています)
この特許をJ-PlatPat(特許庁公式サイト)で参照する
関連特許
トヨタ自動車株式会社
電池
5日前
トヨタ自動車株式会社
車両
3日前
トヨタ自動車株式会社
車両
9日前
トヨタ自動車株式会社
電池
4日前
トヨタ自動車株式会社
車両
9日前
トヨタ自動車株式会社
車両
2日前
トヨタ自動車株式会社
電動車
9日前
トヨタ自動車株式会社
電解液
9日前
トヨタ自動車株式会社
回転子
9日前
トヨタ自動車株式会社
電動車
9日前
トヨタ自動車株式会社
固定子
3日前
トヨタ自動車株式会社
電動車
9日前
トヨタ自動車株式会社
ケース
4日前
トヨタ自動車株式会社
電動車
5日前
トヨタ自動車株式会社
加熱器
2日前
トヨタ自動車株式会社
蓄電装置
4日前
トヨタ自動車株式会社
蓄電装置
2日前
トヨタ自動車株式会社
制御装置
4日前
トヨタ自動車株式会社
路側装置
4日前
トヨタ自動車株式会社
バッテリ
3日前
トヨタ自動車株式会社
バッテリ
3日前
トヨタ自動車株式会社
塗工装置
3日前
トヨタ自動車株式会社
二次電池
3日前
トヨタ自動車株式会社
製造装置
3日前
トヨタ自動車株式会社
ロボット
5日前
トヨタ自動車株式会社
車両構造
2日前
トヨタ自動車株式会社
監視装置
3日前
トヨタ自動車株式会社
蓄電装置
9日前
トヨタ自動車株式会社
電動車両
9日前
トヨタ自動車株式会社
制御装置
9日前
トヨタ自動車株式会社
車載装置
2日前
トヨタ自動車株式会社
駆動装置
9日前
トヨタ自動車株式会社
通話装置
2日前
トヨタ自動車株式会社
電源装置
9日前
トヨタ自動車株式会社
制御装置
2日前
トヨタ自動車株式会社
切断装置
9日前
続きを見る
他の特許を見る