TOP
|
特許
|
意匠
|
商標
特許ウォッチ
Twitter
他の特許を見る
10個以上の画像は省略されています。
公開番号
2025152249
公報種別
公開特許公報(A)
公開日
2025-10-09
出願番号
2024054062
出願日
2024-03-28
発明の名称
建設機械
出願人
株式会社日立建機ティエラ
代理人
弁理士法人広和特許事務所
主分類
E02F
9/18 20060101AFI20251002BHJP(水工;基礎;土砂の移送)
要約
【課題】メンテナンスの作業性を低下させることなくアンテナ装置を取付ける。
【解決手段】カウンタウエイト10の後部上端には、後方に向けて斜め下向きに傾斜する第1上端傾斜面12B,13Bが形成され、第1上端傾斜面12B,13Bには、第1上端傾斜面12B,13Bから上向きに突出する左アンテナ取付座19,右アンテナ取付座20が設けられている。左アンテナ取付座19の上面には左アンテナ装置21が取付けられ、右アンテナ取付座20の上面には右アンテナ装置22が取付けられる。
【選択図】図2
特許請求の範囲
【請求項1】
自走可能な車体と、
前記車体に設けられ、機器が収容される機械室と、
前記機械室の内外を連通する開口を開閉可能に覆うカバーと、
前記車体の後部に設けられ、前記カバーに隣接し、かつ、前記機械室の後側に配置されたカウンタウエイトと、
前記車体の位置情報を取得するために前記車体に設けられたアンテナ装置と、を備えた建設機械において、
前記カウンタウエイトの後部上端には、後方に向けて斜め下向きに傾斜する第1上端傾斜面が形成され、
前記第1上端傾斜面には、前記第1上端傾斜面から上向きに突出し上面に前記アンテナ装置が取付けられるアンテナ取付座が設けられていることを特徴とする建設機械。
続きを表示(約 1,000 文字)
【請求項2】
前記アンテナ装置は、左アンテナ装置および右アンテナ装置を有し、
前記アンテナ取付座は、前記左アンテナ装置が取り付けられる左アンテナ取付座と、前記右アンテナ装置が取り付けられる右アンテナ取付座とからなり、
前記カウンタウエイトは、左右方向に延びるベースウエイト部と、左右方向で間隔をもって対向しつつ前記ベースウエイト部から上方に立上がる左ウエイト部および右ウエイト部とを有し、
前記左ウエイト部には、前記第1上端傾斜面および前記左アンテナ取付座が設けられ、前記右ウエイト部には、前記第1上端傾斜面および前記右アンテナ取付座が設けられていることを特徴とする請求項1に記載の建設機械。
【請求項3】
前記カウンタウエイトの前記左ウエイト部と前記右ウエイト部との間には、前記機械室を後方から開閉可能に覆う原動機カバーが設けられ、
前記左アンテナ装置および前記右アンテナ装置は、前記車体に搭載されたコントローラにそれぞれケーブルを介して接続され、
前記車体には、前記左アンテナ装置および前記右アンテナ装置にそれぞれ接続された2本のアンテナ側ケーブルと、前記コントローラに接続されたコントローラ側ケーブルと、前記2本のアンテナ側ケーブルと前記コントローラ側ケーブルとの間を接続する2個のコネクタとが搭載され、
前記2個のコネクタは、前記原動機カバーによって開閉される前記機械室内に配置されることを特徴とする請求項2に記載の建設機械。
【請求項4】
前記カウンタウエイトの前記アンテナ取付座は、前記カウンタウエイトを吊り上げるときの吊具が取付けられる吊具取付座を兼ねることを特徴とする請求項1に記載の建設機械。
【請求項5】
前記カバーは、
前記カウンタウエイトの左側に隣接して設けられる左後カバーと、
前記カウンタウエイトの右側に隣接して設けられる右後カバーと、
を有し、
前記左後カバーには、上端から前記車体の外側方向に向けて斜め下向きに傾斜する第2上端傾斜面が形成され、
前記右後カバーには、上端から前記車体の外側方向に向けて斜め下向きに傾斜する第3上端傾斜面が形成され、
第2上端傾斜面および第3上端傾斜面は、それぞれ隣接する前記カウンタウエイトの前記第1上端傾斜面に沿うように形成されることを特徴とする請求項1に記載の建設機械。
発明の詳細な説明
【技術分野】
【0001】
本開示は、アンテナ装置が搭載された油圧ショベル等の建設機械に関する。
続きを表示(約 2,100 文字)
【背景技術】
【0002】
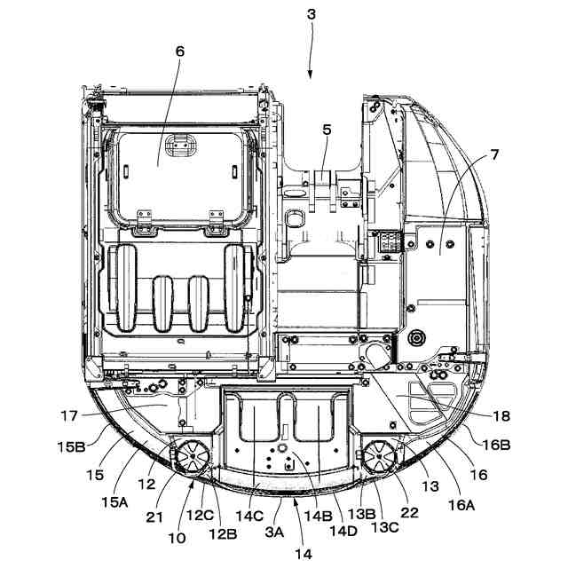
建設機械を代表する油圧ショベルは、自走可能な下部走行体と、下部走行体上に旋回可能に設けられた上部旋回体と、上部旋回体の前側に設けられた作業装置とを備えている。上部旋回体の後端側には、作業装置との重量バランスをとるカウンタウエイトが配置されている。カウンタウエイトの前側には、原動機、油圧ポンプ、熱交換器等の各種機器類を収容する機械室およびオペレータが搭乗する運転室が設けられている。機械室の上方にはメンテナンス用の開口部が形成され、この開口部はカバー類によって上方から覆われている。ここで、オペレータがキャブの後窓等を通じて後方を目視できる範囲、すなわち、オペレータの後方視界を可及的に大きく確保できるように、カウンタウエイトの後部上端が傾斜して形成され、カウンタウエイトの上面が狭くなる場合がある。
【0003】
一方、上部旋回体に2台のアンテナ装置が搭載された油圧ショベルが知られている。このアンテナ装置は、例えばGPS(Global Positioning System)アンテナ等のGNSS(Global Navigation Satellite System)アンテナからなっている。アンテナ装置を備えた油圧ショベルは、2台のアンテナ装置によって衛星から油圧ショベルの位置情報を受信し、この位置情報に基づいて掘削作業等の施工管理を支援することができる(特許文献1参照)。特許文献1では、カウンタウエイトの上面が狭い場合のアンテナ装置の取付けに関する技術を開示している。
【先行技術文献】
【特許文献】
【0004】
特開2020-41369号公報
【発明の概要】
【発明が解決しようとする課題】
【0005】
しかし、特許文献1による2台のアンテナ装置は、カウンタウエイトの左右両端側に1台ずつ取付けられている。この場合、アンテナ装置が取付けられるカウンタウエイトは、左右方向の中央部に位置する中央ウエイト部と、中央ウエイト部の左右方向の両端側から前側に向けて突出した左右の突出部とを有し、アンテナ装置は、左右の突出部の外側側面に取付けられている。このため、特許文献1では、アンテナ装置を設置するための左右の突出部の分およびアンテナ装置が設置される足場の分、機械室の上方に形成される開口部の面積が小さくなる。この結果、機械室内に収容された原動機等の各種機器類に対し、開口部を通じてメンテナンスを行うときの作業性が低下してしまうという問題がある。
【0006】
本発明は上述した従来技術の問題に鑑みなされたもので、本発明の目的は、オペレータの後方視界の低下およびメンテナンスの作業性の低下を抑制しつつ、アンテナ装置を取付けることができるようにした建設機械を提供することを目的としている。
【課題を解決するための手段】
【0007】
本発明は、自走可能な車体と、前記車体に設けられ、機器が収容される機械室と、前記機械室の内外を連通する開口を開閉可能に覆うカバーと、前記車体の後部に設けられ、前記カバーに隣接し、かつ、前記機械室の後側に配置されたカウンタウエイトと、前記車体の位置情報を取得するために前記車体に設けられたアンテナ装置と、を備えた建設機械において、前記カウンタウエイトの後部上端には、後方に向けて斜め下向きに傾斜する第1上端傾斜面が形成され、前記第1上端傾斜面には、前記第1上端傾斜面から上向きに突出し上面に前記アンテナ装置が取付けられるアンテナ取付座が設けられていることを特徴とする。
【発明の効果】
【0008】
本発明によれば、原動機等に対するメンテナンスの作業性を低下させることなく、カウンタウエイトにアンテナ装置を取付けることができる。
【図面の簡単な説明】
【0009】
本発明の実施形態による油圧ショベルを示す左側面図である。
キャブが取外された上部旋回体を右後方から見た斜視図である。
キャブが取外された上部旋回体を後方から見た背面図である。
上部旋回体を上方から見た平面図である。
カウンタウエイトを単体で示す斜視図である。
原動機カバーおよび左後カバーを開いた状態で、左側のアンテナ装置を見た斜視図である。
原動機カバーおよび左後カバーを開いた状態で、機械室内に配置された左側コネクタ等を示す斜視図である。
原動機カバーおよび右後カバーを開いた状態で、右側のアンテナ装置を見た斜視図である。
原動機カバーおよび右後カバーを開いた状態で、機械室内に配置された右側コネクタ等を示す斜視図である。
【発明を実施するための形態】
【0010】
以下、本発明の実施形態について油圧ショベルを例に挙げ、図1ないし図9を参照しつつ詳細に説明する。
(【0011】以降は省略されています)
この特許をJ-PlatPat(特許庁公式サイト)で参照する
関連特許
鈴健興業株式会社
敷板部材
16日前
株式会社クボタ
作業車
18日前
株式会社クボタ
作業車
18日前
個人
擁壁用ブロックおよび擁壁
17日前
株式会社ネクステリア
平板基礎
16日前
千代田工営株式会社
回転貫入杭
3日前
株式会社大林組
建物の構造
17日前
株式会社熊谷組
地盤改良方法
12日前
株式会社熊谷組
山留壁用親杭
9日前
株式会社熊谷組
密度計測方法
18日前
日本車輌製造株式会社
建設機械
5日前
日立建機株式会社
作業機械
9日前
日立建機株式会社
作業機械
9日前
日立建機株式会社
作業機械
9日前
日立建機株式会社
建設機械
10日前
日立建機株式会社
建設機械
16日前
日立建機株式会社
建設機械
10日前
日立建機株式会社
作業車両
5日前
日立建機株式会社
作業機械
10日前
日立建機株式会社
作業機械
3日前
ヤンマーホールディングス株式会社
作業機械
2日前
ヤンマーホールディングス株式会社
作業機械
2日前
カナデビア株式会社
サクション基礎
10日前
ライト工業株式会社
鉄筋保持用治具
10日前
鹿島建設株式会社
接続方法および接続構造
5日前
株式会社竹内製作所
作業用車両
9日前
株式会社竹内製作所
作業用車両
9日前
株式会社竹内製作所
作業用車両
9日前
株式会社竹内製作所
作業用車両
9日前
JFEスチール株式会社
鋼管矢板の継手構造
10日前
日立建機株式会社
電動式作業機械
16日前
山形新興株式会社
建築物の基礎及び基礎成形型
4日前
株式会社日立建機ティエラ
建設機械
11日前
浙江工業大学
多機能土柱モデル装置及び使用方法
16日前
清水建設株式会社
遮水層の構築方法
9日前
清水建設株式会社
免震装置の基礎構造
10日前
続きを見る
他の特許を見る