TOP
|
特許
|
意匠
|
商標
特許ウォッチ
Twitter
他の特許を見る
10個以上の画像は省略されています。
公開番号
2025122443
公報種別
公開特許公報(A)
公開日
2025-08-21
出願番号
2024017920
出願日
2024-02-08
発明の名称
電子部品
出願人
TDK株式会社
代理人
個人
,
個人
,
個人
主分類
H01G
4/30 20060101AFI20250814BHJP(基本的電気素子)
要約
【課題】電歪クラックを抑制すると共に、内部電極のコーナー部における応力を緩和できる電子部品を提供する。
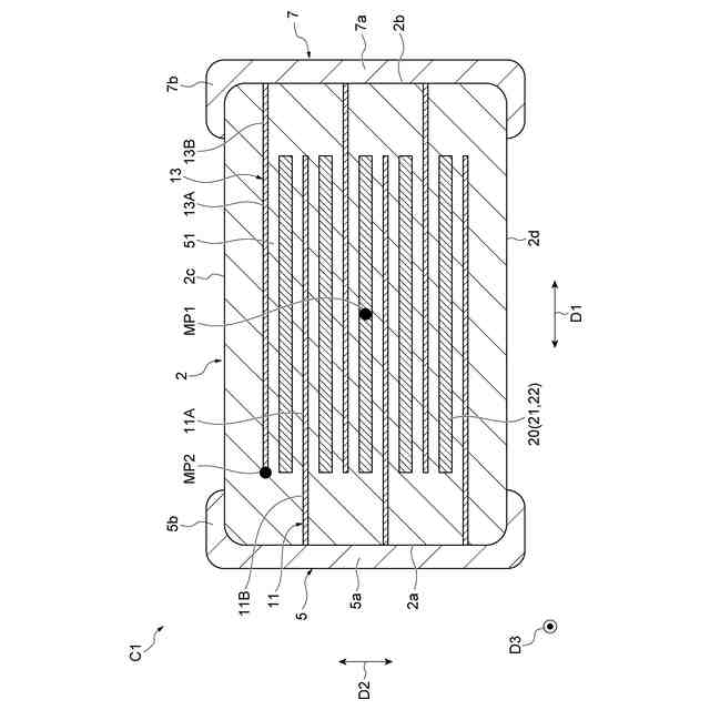
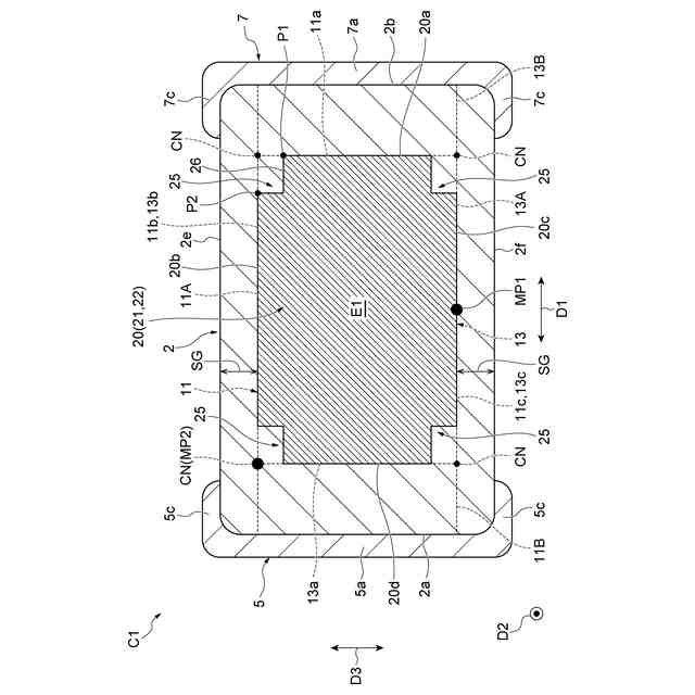
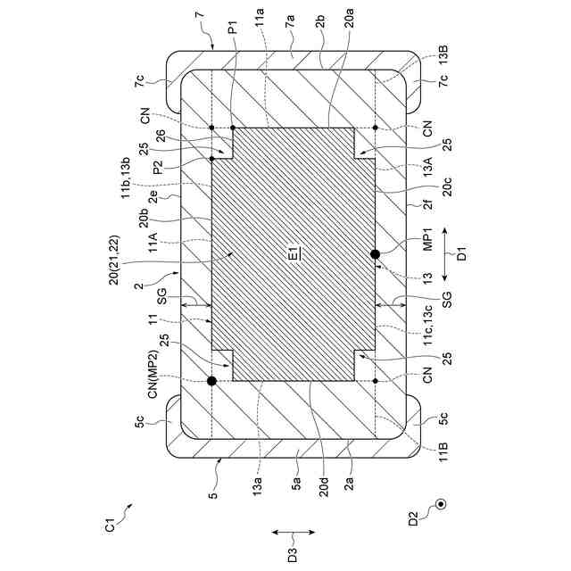
【解決手段】第1内部電極11と第2内部電極13とが、第2方向D2に、素体2と異なる材料からなる異種材料層21を介して対向する。このように、内部電極11,13に加えて異種材料層21を重ねることで、素体2より線膨張係数が大きい部材の体積を増やすことで、内部電極11,13と素体2の側面2e,2fとの間のサイドギャップ部SGに圧縮応力を導入することができる。これにより、電圧印加時に電歪振動が発生しても、サイドギャップ部SGでの第2方向D2における中央部の引張応力を低減することで、電歪クラックの発生を抑制できる。第2方向D2から見て、異種材料層は、内部電極11,13のコーナー部CNと重ならない。そのため、最外層の内部電極11,13におけるコーナー部CNでの応力緩和が可能となる。
【選択図】図5
特許請求の範囲
【請求項1】
第1方向に互いに対向する一対の端面を有する素体と、
前記第1方向の一方側の前記端面に配置された第1端子電極と、
前記第1方向の他方側の前記端面に配置された第2端子電極と、
前記素体内に配置されていると共に、前記第1端子電極に接続される第1内部電極と、
前記素体内に配置されていると共に、前記第2端子電極に接続される第2内部電極と、
前記素体内に配置されていると共に、前記素体と異なる材料からなる異種材料層と、を備え、
前記第1内部電極と前記第2内部電極とは、前記第1方向と直交する第2方向に、前記異種材料層を介して対向し、
前記異種材料層は、前記素体の線膨張係数より大きい線膨張係数を有し、
前記第1内部電極及び前記第2内部電極は、前記素体内に位置するコーナー部を含み、
前記第2方向から見て、前記異種材料層は、前記コーナー部と重ならない、電子部品。
続きを表示(約 860 文字)
【請求項2】
前記素体が、セラミック材料からなり、
前記異種材料層が、金属層である、請求項1に記載の電子部品。
【請求項3】
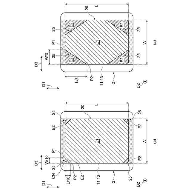
前記第1内部電極と前記第2内部電極とが前記第2方向に重なる領域において、前記第1方向及び前記第2方向に直交する第3方向の寸法をWとすると、
前記コーナー部における前記異種材料層と重ならない領域の前記第3方向における寸法は、W/10以上であり、W/3以下である、請求項1に記載の電子部品。
【請求項4】
前記第1内部電極と前記第2内部電極とが前記第2方向に重なる領域において、前記第1方向の寸法をLとすると、
前記コーナー部における前記異種材料層と重ならない領域の前記第1方向における寸法は、L/10以上であり、L/3以下である、請求項1に記載の電子部品。
【請求項5】
前記異種材料層は、前記コーナー部に対応する位置に切欠部を有し、
前記第2方向から見て、前記切欠部は、前記コーナー部から内周側へ遠ざかる形状を有する、請求項1に記載の電子部品。
【請求項6】
前記異種材料層は、前記コーナー部に対応する位置に切欠部を有し、
前記切欠部は、前記第2方向から見て曲線を描く曲部を有する、請求項1に記載の電子部品。
【請求項7】
前記第2方向から見て、前記曲部は、前記コーナー部から内周側へ遠ざかるように湾曲する、請求項6に記載の電子部品。
【請求項8】
前記コーナー部は、外周側へ突出する形状を有する、請求項1に記載の電子部品。
【請求項9】
前記異種材料層の厚みは、前記第1内部電極及び前記第2内部電極の厚みより大きい、請求項1に記載の電子部品。
【請求項10】
前記異種材料層の厚みは、前記第1内部電極及び前記第2内部電極の厚みの1.3倍以上である、請求項9に記載の電子部品。
(【請求項11】以降は省略されています)
発明の詳細な説明
【技術分野】
【0001】
本発明は、電子部品に関する。
続きを表示(約 1,800 文字)
【背景技術】
【0002】
互いに対向する一対の端面を有する素体と、一対の端面上に配置された一対の端子電極と、各端子電極に接続された内部電極を備える電子部品が知られている(例えば、特許文献1参照)。
【先行技術文献】
【特許文献】
【0003】
特開2000-124064号公報
【発明の概要】
【発明が解決しようとする課題】
【0004】
ここで、上述のような電子部品においては、電圧を印加すると、内部電極が重なり合う箇所にて電歪現象による体積変化が生じ、サイドギャップ部にクラックが生じることがあった。このような電歪クラックの抑制のために、内部電極の体積を増加させる方法があるが、体積増加のために誘電体層を薄層多層化すると高温負荷上の劣化が生じるという問題がある。また、電歪によるクラックへの対策を行うことで、内部電極のコーナー部における応力が増加してしまうことがあった。
【0005】
そこで、本発明は、電歪クラックを抑制すると共に、内部電極のコーナー部における応力を緩和できる電子部品を提供することを目的とする。
【課題を解決するための手段】
【0006】
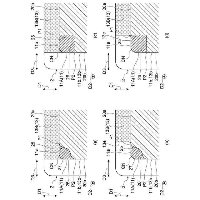
電子部品は、第1方向に互いに対向する一対の端面を有する素体と、第1方向の一方側の端面に配置された第1端子電極と、第1方向の他方側の端面に配置された第2端子電極と、素体内に配置されていると共に、第1端子電極に接続される第1内部電極と、素体内に配置されていると共に、第2端子電極に接続される第2内部電極と、素体内に配置されていると共に、素体と異なる材料からなる異種材料層と、を備え、第1内部電極と第2内部電極とは、第1方向と直交する第2方向に、異種材料層を介して対向し、異種材料層は、素体の線膨張係数より大きい線膨張係数を有し、第1内部電極及び第2内部電極は、素体内に位置するコーナー部を含み、第2方向から見て、異種材料層は、コーナー部と重ならない。
【0007】
電子部品では、第1内部電極と第2内部電極とが、第2方向に、素体と異なる材料からなる異種材料層を介して対向する。このように、内部電極に加えて異種材料層を重ねることで、素体より線膨張係数が大きい部材の体積を増やすことで、内部電極と素体の側面との間のサイドギャップ部に圧縮応力を導入することができる。これにより、電圧印加時に電歪振動が発生しても、サイドギャップ部での第2方向における中央部の引張応力を低減することで、電歪クラックの発生を抑制できる。また、誘電体層の薄層多層化とは異なり、高温負荷上の劣化を抑制しながら、電歪クラックの抑制ができる。ここで、第2方向から見て、異種材料層は、内部電極のコーナー部と重ならない。そのため、最外層の内部電極におけるコーナー部での応力緩和が可能となる。以上より、電歪クラックを抑制すると共に、内部電極のコーナー部における応力を緩和できる。
【0008】
素体が、セラミック材料からなり、異種材料層が、金属層であってよい。この場合、異種材料層の線膨張係数を素体よりも高くすることができる。
【0009】
第1内部電極と第2内部電極とが第2方向に重なる領域において、第1方向及び第2方向に直交する第3方向の寸法をWとすると、コーナー部における異種材料層と重ならない領域の第3方向における寸法は、W/10以上であり、W/3以下であってよい。この場合、コーナー部における異種材料層と重ならない領域の広さを十分確保できると共に、当該領域が広くなりすぎることを抑制することで圧縮応力を十分にサイドギャップ部へ導入することができる。
【0010】
第1内部電極と第2内部電極とが第2方向に重なる領域において、第1方向の寸法をLとすると、コーナー部における異種材料層と重ならない領域の第1方向における寸法は、L/10以上であり、L/3以下であってよい。この場合、コーナー部における異種材料層と重ならない領域の広さを十分確保できると共に、当該領域が広くなりすぎることを抑制することで圧縮応力を十分にサイドギャップ部へ導入することができる。
(【0011】以降は省略されています)
この特許をJ-PlatPat(特許庁公式サイト)で参照する
関連特許
TDK株式会社
センサ
10日前
TDK株式会社
圧電素子
4日前
TDK株式会社
電子部品
14日前
TDK株式会社
電子部品
14日前
TDK株式会社
電子部品
1か月前
TDK株式会社
電子部品
1か月前
TDK株式会社
フィルタ
14日前
TDK株式会社
電子部品
1か月前
TDK株式会社
電子部品
3日前
TDK株式会社
電子部品
10日前
TDK株式会社
フィルタ
4日前
TDK株式会社
電子部品
10日前
TDK株式会社
電子部品
1か月前
TDK株式会社
電子部品
3日前
TDK株式会社
電子部品
4日前
TDK株式会社
電子部品
4日前
TDK株式会社
電子部品
1か月前
TDK株式会社
コイル装置
1か月前
TDK株式会社
ガスセンサ
1か月前
TDK株式会社
ガスセンサ
5日前
TDK株式会社
コイル部品
14日前
TDK株式会社
コイル部品
1か月前
TDK株式会社
コイル部品
14日前
TDK株式会社
コイル部品
14日前
TDK株式会社
コイル部品
6日前
TDK株式会社
コイル装置
1か月前
TDK株式会社
ガスセンサ
14日前
TDK株式会社
ガスセンサ
10日前
TDK株式会社
コイル部品
10日前
TDK株式会社
コイル部品
10日前
TDK株式会社
コイル部品
12日前
TDK株式会社
ガスセンサ
11日前
TDK株式会社
センサ装置
11日前
TDK株式会社
磁気センサ
1か月前
TDK株式会社
圧力センサ
6日前
TDK株式会社
光検知装置
11日前
続きを見る
他の特許を見る