TOP
|
特許
|
意匠
|
商標
特許ウォッチ
Twitter
他の特許を見る
公開番号
2025152836
公報種別
公開特許公報(A)
公開日
2025-10-10
出願番号
2024054961
出願日
2024-03-28
発明の名称
金属コンポジット焼結板およびリチウムイオン電池
出願人
日本碍子株式会社
代理人
個人
,
個人
,
個人
,
個人
主分類
H01M
4/131 20100101AFI20251002BHJP(基本的電気素子)
要約
【課題】高温かつ振動のある環境下での劣化が少ないリチウムイオン電池を提供すること、また、このようなリチウムイオン電池を構成するために好適な負極材料を提供すること。
【解決手段】リチウムイオン電池の電極に用いられる焼結板であって、チタン酸リチウム粒子と、前記チタン酸リチウム粒子の間に分散的に存在する金属粒子と、を含有する、金属コンポジット焼結板である。また、リチウム複合酸化物を含む正極と、前記金属コンポジット焼結板を含む負極と、前記正極と前記負極との間に設けられたセパレータと、を含むリチウムイオン電池である。
【選択図】図1
特許請求の範囲
【請求項1】
リチウムイオン電池の電極に用いられる焼結板であって、
チタン酸リチウム粒子と、前記チタン酸リチウム粒子の間に分散的に存在する金属粒子と、を含有する、
金属コンポジット焼結板。
続きを表示(約 690 文字)
【請求項2】
前記金属コンポジット焼結板において、
前記チタン酸リチウム粒子および前記金属粒子の合計に対する前記金属粒子の含有量が、5体積%以上40体積%以下である、
請求項1に記載の金属コンポジット焼結板。
【請求項3】
前記金属粒子が、Ag、Pt、AlおよびAuからなる群から選択される1種または2種以上の金属粒子である、
請求項1または請求項2に記載の金属コンポジット焼結板。
【請求項4】
前記金属粒子のアスペクト比が1.1以上である、
請求項1または請求項2に記載の金属コンポジット焼結板。
【請求項5】
前記チタン酸リチウム粒子の長手方向長さ(L
1
)に対する、前記金属粒子の長手方向長さ(L
2
)が、L
2
/L
1
≧1.1を満たす、
請求項1または請求項2に記載の金属コンポジット焼結板。
【請求項6】
前記電極が負極である、請求項1または請求項2に記載の金属コンポジット焼結板。
【請求項7】
リチウム複合酸化物を含む正極と、
請求項1または請求項2に記載の金属コンポジット焼結板を含む負極と、
前記正極と前記負極との間に設けられたセパレータと、を含むリチウムイオン電池。
【請求項8】
前記正極と、前記負極と、前記セパレータとが、全体として一体に焼成された一体焼結板である、
請求項7に記載のリチウムイオン電池。
発明の詳細な説明
【技術分野】
【0001】
本開示は、金属コンポジット焼結板およびリチウムイオン電池に関する。
続きを表示(約 1,300 文字)
【背景技術】
【0002】
リチウムイオン電池において、負極活物質としてリチウムチタン複合酸化物を用いたものが公知である。例えば特許文献1(特開2007-87909号公報)には、リチウムイオン電池において、負極集電体である金属箔に、負極活物質と、負極導電剤と、結着剤とを含むスラリーを塗工して負極を構成することが開示されている。集電性能を高め、集電体との接触抵抗を抑えるための負極導電剤として、アセチレンブラック、カーボンブラック、黒鉛等が挙げられている。
【0003】
特許文献2(特開2019-96599号公報)は、チタン酸リチウム焼結板である負極を備えるリチウムイオン電池を開示している。特許文献2に開示されたチタン酸リチウム焼結板は、一次粒子の粒径、気孔率、気孔の形態やその分布等、焼結板の形態に特徴を有する。特許文献2の焼結板は、負極活物質であるチタン酸リチウムの一次粒子が結合した構造を有し、バインダー等の補助成分を含まないことが開示されている。
【先行技術文献】
【特許文献】
【0004】
特開2007-87909号公報
特開2019-96599号公報
【発明の概要】
【発明が解決しようとする課題】
【0005】
リチウムイオン電池の適用範囲は拡大を続けており、高温、かつ、継続的に振動が発生する高負荷環境下においても長期間使用が可能なリチウムイオン電池が求められている。このようなニーズに対応するため、高温かつ振動のある環境下での劣化が少ない電池が望まれている。
【0006】
この状況に鑑み、高温かつ振動のある環境下での劣化が少ないリチウムイオン電池を提供すること、また、このようなリチウムイオン電池を構成するために好適な電極材料を提供することが、本開示にかかる発明の目的の1つである。
【課題を解決するための手段】
【0007】
本開示に従った金属コンポジット焼結板は、リチウムイオン電池の電極に用いられる焼結板であって、チタン酸リチウム粒子と、前記チタン酸リチウム粒子の間に分散的に存在する金属粒子と、を含有する。
【発明の効果】
【0008】
上記金属コンポジット焼結板によれば、高温かつ振動のある環境下での劣化が少ないリチウムイオン電池が提供される。
【図面の簡単な説明】
【0009】
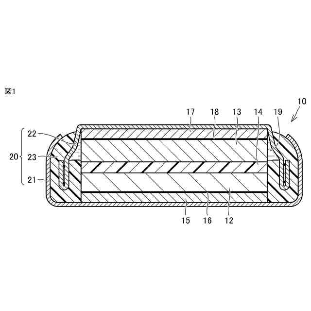
図1は、本開示に従うリチウムイオン電池を示す概略断面模式図である。
図2は、本開示に従う金属コンポジット焼結板の断面を示す走査型電子顕微鏡画像である。
図3は、本開示に従う金属コンポジット焼結板の断面を示す走査型電子顕微鏡画像である。
【発明を実施するための形態】
【0010】
[実施態様の概要]
最初に本開示の実施態様を列記して説明する。本開示に従った金属コンポジット焼結板は、リチウムイオン電池の電極に用いられる焼結板であって、チタン酸リチウム粒子と、前記チタン酸リチウム粒子の間に分散的に存在する金属粒子と、を含有する。
(【0011】以降は省略されています)
この特許をJ-PlatPat(特許庁公式サイト)で参照する
関連特許
日本碍子株式会社
電池
1か月前
日本碍子株式会社
熱交換器
12日前
日本碍子株式会社
把持方法
8日前
日本碍子株式会社
熱交換器
4日前
日本碍子株式会社
ガスセンサ
1か月前
日本碍子株式会社
ガスセンサ
2か月前
日本碍子株式会社
焼成システム
3か月前
日本碍子株式会社
熱ダイオード
3か月前
日本碍子株式会社
亜鉛二次電池
3日前
日本碍子株式会社
空調システム
1か月前
日本碍子株式会社
ハニカム構造体
1日前
日本碍子株式会社
ハニカム構造体
12日前
日本碍子株式会社
ハニカム構造体
8日前
日本碍子株式会社
ハニカム構造体
23日前
日本碍子株式会社
ハニカム構造体
1か月前
日本碍子株式会社
電気加熱式担体
2日前
日本碍子株式会社
ハニカム構造体
2日前
日本碍子株式会社
電気加熱式担体
1日前
日本碍子株式会社
ハニカム構造体
2か月前
日本碍子株式会社
ハニカム構造体
1日前
日本碍子株式会社
金属溶湯濾過部材
2か月前
日本碍子株式会社
メタン製造反応器
1日前
日本碍子株式会社
ハニカムフィルタ
1日前
日本碍子株式会社
アルカリ二次電池
12日前
日本碍子株式会社
導波素子の製造方法
15日前
日本碍子株式会社
半導体製造装置用部材
2か月前
日本碍子株式会社
半導体製造装置用部材
1か月前
日本碍子株式会社
ウォーキングビーム炉
3日前
日本碍子株式会社
三相型ハニカムヒータ
1日前
日本碍子株式会社
センサ素子およびガスセンサ
1か月前
日本碍子株式会社
セラミックス部材の製造方法
3日前
日本碍子株式会社
センサ素子およびガスセンサ
10日前
日本碍子株式会社
複合基板、複合基板の製造方法
3か月前
日本碍子株式会社
AlN単結晶基板及びデバイス
12日前
日本碍子株式会社
ロボットハンドおよびロボット
8日前
日本碍子株式会社
ロボットハンドおよびロボット
8日前
続きを見る
他の特許を見る