TOP
|
特許
|
意匠
|
商標
特許ウォッチ
Twitter
他の特許を見る
公開番号
2025153462
公報種別
公開特許公報(A)
公開日
2025-10-10
出願番号
2024055956
出願日
2024-03-29
発明の名称
電気自動車とアダプタのセット
出願人
トヨタ自動車株式会社
代理人
弁理士法人 快友国際特許事務所
主分類
H02J
7/00 20060101AFI20251002BHJP(電力の発電,変換,配電)
要約
【課題】本明細書は、電気自動車とアダプタのセットに関し、アダプタを保護する技術を提供する。
【解決手段】本明細書が開示するセットの電気自動車は、充電インレットと電流制限器を備える。充電インレットは、外部電源をバッテリに接続するためのコネクタである。充電インレットは、第1規格に適合している。電流制限器は、充電インレットに流れる電流を制限する。アダプタは、充電インレットに接続される第1コネクタと、第1コネクタと導通しており第1規格とは異なる第2規格に適合した第2コネクタを備える。充電インレットはアダプタ検知スイッチを備える。アダプタは、第1コネクタが充電インレットに接続されたときにアダプタ検知スイッチを押す突起を備える。電流制限器は、アダプタ検知スイッチがオンされた場合、充電インレットに流れる電流の上限値を第1上限値から第2上限値へ下げる。
【選択図】図1
特許請求の範囲
【請求項1】
外部電源をバッテリに接続するための充電インレットであって第1規格に適合した前記充電インレットと、前記充電インレットに流れる電流を制限する電流制限器を有する電気自動車と、
前記充電インレットに接続される第1コネクタと、前記第1コネクタと導通しており前記第1規格とは異なる第2規格に適合した第2コネクタを備えているアダプタと、
を備えており、
前記充電インレットはアダプタ検知スイッチを備えており、
前記アダプタは、前記第1コネクタが前記充電インレットに接続されたときに前記アダプタ検知スイッチを押す突起を備えており、
前記電流制限器は、前記アダプタ検知スイッチがオンされた場合、前記充電インレットに流れる電流の上限値を第1上限値から第2上限値へ下げる、
電気自動車とアダプタのセット。
発明の詳細な説明
【技術分野】
【0001】
本明細書が開示する技術は、第1規格に適合した充電インレットを有する電気自動車と、第1規格とは異なる第2規格に適合した給電プラグを充電インレットに接続するためのアダプタのセットに関する。
続きを表示(約 1,600 文字)
【背景技術】
【0002】
異なる規格のコネクタを接続するのにアダプタが用いられる。例えば、外国のコンセントの規格が日本の電気製品のプラグの規格と異なる場合にアダプタが用いられる。特許文献1には、外部電源の給電プラグと、電気自動車の充電インレットとの間に接続されるアダプタが開示されている。
【先行技術文献】
【特許文献】
【0003】
特開2013-55774号公報
【発明の概要】
【発明が解決しようとする課題】
【0004】
外部電源と電気自動車の間にアダプタを用いる場合、外部電源の最大出力電流がアダプタの許容電流を超えるとアダプタがダメージを受けるおそれがある。本明細書は、電気自動車とアダプタのセットに関し、アダプタを保護する技術を提供する。
【課題を解決するための手段】
【0005】
本明細書が開示するセットの電気自動車は、充電インレットと電流制限器を備える。充電インレットは、外部電源をバッテリに接続するためのコネクタである。充電インレットは、第1規格に適合している。電流制限器は、充電インレットに流れる電流を制限する。アダプタは、充電インレットに接続される第1コネクタと、第1コネクタと導通しており第1規格とは異なる第2規格に適合した第2コネクタを備える。充電インレットはアダプタ検知スイッチを備える。アダプタは、第1コネクタが充電インレットに接続されたときにアダプタ検知スイッチを押す突起を備える。電流制限器は、アダプタ検知スイッチがオンされた場合、充電インレットに流れる電流の上限値を第1上限値から第2上限値へ下げる。第1上限値はアダプタの許容電流を超える値であり、第2上限値はアダプタの許容電流を下回る値である。
【0006】
本明細書が開示するセットは、アダプタを用いない場合は、第2上限値を超える電流でバッテリを充電することができる。また、アダプタを用いる場合には、アダプタに流れる電流を制限し、アダプタを保護することができる。
【0007】
本明細書が開示する技術の詳細とさらなる改良は以下の「発明を実施するための形態」にて説明する。
【図面の簡単な説明】
【0008】
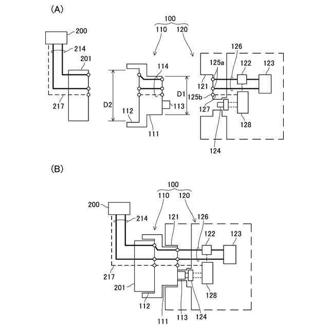
実施例の電気自動車とアダプタの回路図である。図1(A)はアダプタ接続前の状態を示しており、図1(B)はアダプタ接続後の状態を示している。
【発明を実施するための形態】
【0009】
図面を参照して実施例のセット100を説明する。セット100は、電気自動車120とアダプタ110のセットである。図1に、セット100(電気自動車120とアダプタ110)と、アダプタ110を用いて電気自動車120に接続される外部電源200の回路図を示す。図1(A)は、アダプタ110を接続する前の状態を示しており、図1(B)はアダプタ110を接続した後の状態を示している。図1では、電気自動車120は、バッテリ123の充電に関するデバイスのみを示している。
【0010】
電気自動車120は、搭載されたバッテリ123を外部電源200で充電することができる。そのため、電気自動車120は、外部電源200から延びる電力ケーブル214の給電プラグを接続するための充電インレット121を備えている。充電インレット121の電力端子125aは電力線126を介してバッテリ123に接続されており、通信端子125bは通信線127を介してコントローラ128に接続されている。なお、電力端子125aとバッテリ123を接続する電力線126の途中には、電力線126に流れる電流(充電インレット121に流れる電流)を制限する電流制限器122が接続されている。電流制限器122はコントローラ128によって制御される。図1では、太い実線が電力線を表しており、点線は通信線を表している。
(【0011】以降は省略されています)
この特許をJ-PlatPat(特許庁公式サイト)で参照する
関連特許
トヨタ自動車株式会社
電池
4日前
トヨタ自動車株式会社
車両
1日前
トヨタ自動車株式会社
電池
3日前
トヨタ自動車株式会社
車両
12日前
トヨタ自動車株式会社
車両
2日前
トヨタ自動車株式会社
電池
12日前
トヨタ自動車株式会社
車両
8日前
トヨタ自動車株式会社
車両
8日前
トヨタ自動車株式会社
電解液
8日前
トヨタ自動車株式会社
ケース
3日前
トヨタ自動車株式会社
回転子
8日前
トヨタ自動車株式会社
固定子
2日前
トヨタ自動車株式会社
電動車
8日前
トヨタ自動車株式会社
加熱器
1日前
トヨタ自動車株式会社
電動車
8日前
トヨタ自動車株式会社
電動車
10日前
トヨタ自動車株式会社
電動車
8日前
トヨタ自動車株式会社
ロータ
10日前
トヨタ自動車株式会社
電動車
4日前
トヨタ自動車株式会社
車両構造
1日前
トヨタ自動車株式会社
蓄電装置
12日前
トヨタ自動車株式会社
蓄電装置
10日前
トヨタ自動車株式会社
塗布装置
10日前
トヨタ自動車株式会社
蓄電装置
8日前
トヨタ自動車株式会社
製造装置
2日前
トヨタ自動車株式会社
監視装置
2日前
トヨタ自動車株式会社
蓄電セル
8日前
トヨタ自動車株式会社
路側装置
3日前
トヨタ自動車株式会社
ロボット
4日前
トヨタ自動車株式会社
検査装置
12日前
トヨタ自動車株式会社
駆動装置
8日前
トヨタ自動車株式会社
蓄電装置
9日前
トヨタ自動車株式会社
蓄電セル
10日前
トヨタ自動車株式会社
蓄電セル
10日前
トヨタ自動車株式会社
切断装置
8日前
トヨタ自動車株式会社
二次電池
2日前
続きを見る
他の特許を見る