TOP
|
特許
|
意匠
|
商標
特許ウォッチ
Twitter
他の特許を見る
公開番号
2025154229
公報種別
公開特許公報(A)
公開日
2025-10-10
出願番号
2024057112
出願日
2024-03-29
発明の名称
バッテリパック、及び、作業用車両
出願人
株式会社竹内製作所
代理人
めぶき弁理士法人
主分類
H01M
50/271 20210101AFI20251002BHJP(基本的電気素子)
要約
【課題】電装品が収容された電装品収容室へのアクセスが容易であり、電装品のメンテナンス性が向上した作業用車両において使用するバッテリパックを提供すること。
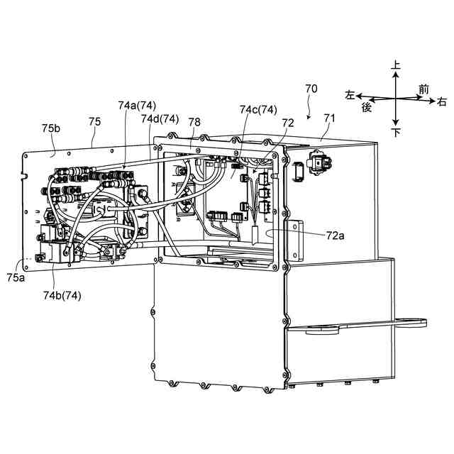
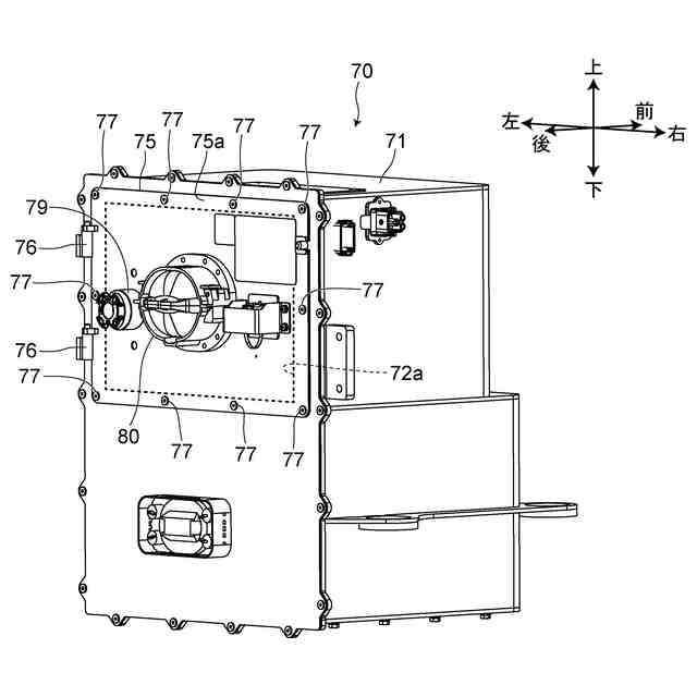
【解決手段】バッテリパック70は、バッテリモジュール73と、電装品74と、バッテリモジュール73及び電装品74を収容する筐体71とを備える。筐体71は、電装品74を収容する電装品収容室72を有し、電装品収容室72は、外部から電装品収容室72にアクセスすることを可能にする開口部72aと、開口部72aを塞ぐことが可能に構成されたメンテナンスカバー75と、を有し、メンテナンスカバー75は、ヒンジによって筐体71に取り付けられている。
【選択図】図3
特許請求の範囲
【請求項1】
バッテリモジュールと、電装品と、前記バッテリモジュール及び前記電装品を収容する筐体と、を備えるバッテリパックであって、
前記筐体は、前記電装品を収容する電装品収容室を有し、
前記電装品収容室は、外部から前記電装品収容室にアクセスすることを可能にする開口部と、前記開口部を塞ぐことが可能に構成されたメンテナンスカバーと、を有し、
前記メンテナンスカバーは、ヒンジによって前記筐体に取り付けられていること、を特徴とするバッテリパック。
続きを表示(約 620 文字)
【請求項2】
請求項1に記載のバッテリパックであって、
前記電装品は、ヒューズ又はコンタクタを含み、
前記電装品は、前記メンテナンスカバーの前記電装品収容室に対向する面に配置されていること、を特徴とするバッテリパック。
【請求項3】
請求項1に記載のバッテリパックであって、
前記電装品は、集積回路が実装された基板を含み、
前記基板は、前記電装品収容室の壁に配置されていること、を特徴とするバッテリパック。
【請求項4】
請求項1に記載のバッテリパックであって、
前記メンテナンスカバーは、前記バッテリパックを作業用車両に載置したときに、前記作業用車両においてバッテリカバーを開けたときに形成される開口の下端より高い位置に配置されていること、を特徴とするバッテリパック。
【請求項5】
バッテリモジュールと、電装品と、前記バッテリモジュール及び前記電装品を収容する筐体と、を有するバッテリパックを備え、
前記筐体は、前記電装品を収容する電装品収容室を有し、
前記電装品収容室は、前記電装品収容室に外部からアクセスすることを可能とする開口部と、前記開口部を塞ぐことが可能に構成されたメンテナンスカバーと、を有し、
前記メンテナンスカバーは、ヒンジによって前記筐体に取り付けられていること、を特徴とする作業用車両。
発明の詳細な説明
【技術分野】
【0001】
本発明は、バッテリパック、及び、作業用車両に関する。
続きを表示(約 1,300 文字)
【背景技術】
【0002】
建設機械等の作業用車両の分野において、電動モータによって作業し、走行する作業用車両が普及し始めている。電動モータによって作業し、走行する作業用車両は、電動モータの電源として、バッテリパックが車両に搭載されている。
【0003】
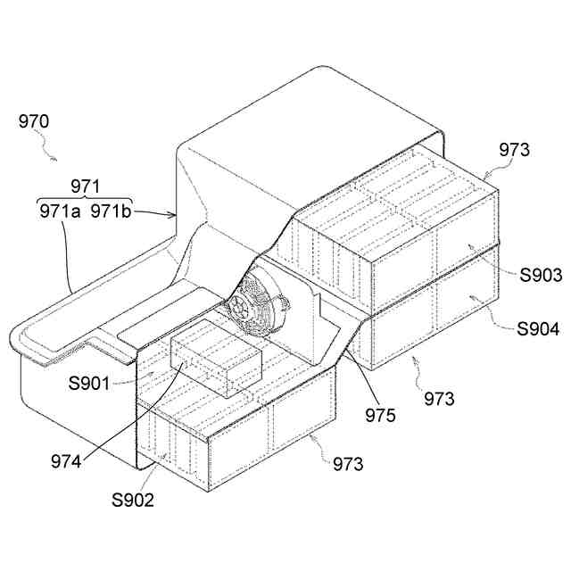
図7は、特許文献1に記載された、作業用車両に搭載されるバッテリパック970を説明するために示す図である。バッテリパック970は、前ケース部971aと後ケース部971bとからなる密閉されたバッテリケース971と、前ケース部971aの内部を上下方向で第1空間S901と第2空間S902とに区分けするとともに、後ケース部971bの内部を上下方向で第3空間S903と第4空間S904とに区分けする水平仕切り壁975と、電装ユニット974とバッテリモジュール973とを備える。
【0004】
電装ユニット974は、第1空間S901と第2空間S902と第3空間S903と第4空間S904のうちのいずれか1つの空間に収容され、バッテリモジュール973は、第1空間S901と第2空間S902と第3空間S903と第4空間S904のうちの電装ユニット974を収容しない残りの空間に収容される。
【0005】
バッテリパック970は、外部からの異物の侵入を抑制しながら、バッテリケース971の中の空間の温度を均一に保ち、各バッテリモジュールを効率的に動作させることができる。
【先行技術文献】
【特許文献】
【0006】
特開2017-91963号公報
【発明の概要】
【発明が解決しようとする課題】
【0007】
しかしながら、特許文献1に記載されたバッテリパック970は、バッテリパック970の筐体内に配置された電装ユニット974のメンテナンスに関し、十分な配慮がなされているとは言い難い。
【0008】
すなわち、電装ユニット974は、密閉された空間であるバッテリケース971の中に収容されており、バッテリパック970は、作業用車両の後輪が配置された位置から作業用車両の後端にかけた位置に配置されている。よって、電装ユニット974を作業用車両に乗せたままメンテナンスを行うためには、後輪が障害になる。このため、バッテリパックを作業用車両から取り外し、メンテナンス作業を行う必要があった。
【0009】
電装ユニットのメンテナンスの都度、バッテリパックを作業用車両から取り外し、メンテナンス作業が終了した後、バッテリパックを作業用車両に搭載するのは、煩雑である。
【0010】
本発明はこのような課題に鑑みてなされたものであり、電装品が収容された電装品収容室(電装品ユニット)へのアクセスが容易であり、電装品のメンテナンス性が向上したバッテリパックを提供すること、また、そのようなバッテリパックを備える作業用車両を提供することを目的とする。
【課題を解決するための手段】
(【0011】以降は省略されています)
この特許をJ-PlatPat(特許庁公式サイト)で参照する
関連特許
株式会社竹内製作所
作業用車両
9日前
株式会社竹内製作所
作業用車両
9日前
株式会社竹内製作所
作業用車両
9日前
株式会社竹内製作所
作業用車両
9日前
株式会社竹内製作所
作業用車両
9日前
株式会社竹内製作所
作業用車両
9日前
株式会社竹内製作所
作業用車両
23日前
株式会社竹内製作所
バッテリパック、及び、作業用車両
9日前
株式会社竹内製作所
作業用車両および作業用車両の制御方法
16日前
日本発條株式会社
積層体
20日前
個人
フレキシブル電気化学素子
9日前
ローム株式会社
半導体装置
18日前
個人
防雪防塵カバー
20日前
日新イオン機器株式会社
イオン源
5日前
ローム株式会社
半導体装置
18日前
ローム株式会社
半導体装置
18日前
ローム株式会社
半導体装置
16日前
ローム株式会社
半導体装置
11日前
株式会社ユーシン
操作装置
9日前
オムロン株式会社
電磁継電器
10日前
株式会社GSユアサ
蓄電装置
16日前
株式会社ホロン
冷陰極電子源
3日前
株式会社GSユアサ
蓄電装置
20日前
太陽誘電株式会社
コイル部品
9日前
太陽誘電株式会社
全固体電池
16日前
個人
半導体パッケージ用ガラス基板
19日前
株式会社ホロン
冷陰極電子源
16日前
株式会社GSユアサ
蓄電設備
9日前
株式会社GSユアサ
蓄電設備
9日前
トヨタ自動車株式会社
蓄電装置
9日前
日東電工株式会社
積層体
10日前
ローム株式会社
電子装置
20日前
トヨタ自動車株式会社
二次電池
20日前
トヨタ自動車株式会社
バッテリ
10日前
日本特殊陶業株式会社
保持装置
16日前
日本特殊陶業株式会社
保持装置
16日前
続きを見る
他の特許を見る