TOP
|
特許
|
意匠
|
商標
特許ウォッチ
Twitter
他の特許を見る
10個以上の画像は省略されています。
公開番号
2025154657
公報種別
公開特許公報(A)
公開日
2025-10-10
出願番号
2024057774
出願日
2024-03-29
発明の名称
真空ポンプシステム及びインターフェース回路
出願人
エドワーズ株式会社
代理人
個人
主分類
F04D
19/04 20060101AFI20251002BHJP(液体用容積形機械;液体または圧縮性流体用ポンプ)
要約
【課題】顧客監視制御用ツールからインターフェース回路を介して複数台の真空ポンプを監視制御する際に、複数台の真空ポンプを1台のインターフェース回路で監視制御自在の真空ポンプシステム及びインターフェース回路を提供する。
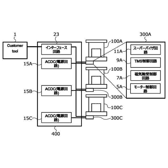
【解決手段】ターボ分子ポンプ100と制御装置300とは対で構成されている。インターフェース回路23やAC/DC電源回路15A、15B、15Cは同じ制御装置300内に含めずに別体の統合ユニット400内に構成される。従来のインターフェース回路13A、13B、13Cは、制御装置200A、200B、200Cに対応して監視制御するためにターボ分子ポンプ100毎に設けられていたが、インターフェース回路23は、制御装置300A、300B、300Cに対する監視制御を統括して行うように構成されている。このため、インターフェース回路23は3台のターボ分子ポンプ100に対して1台で構成される。
【選択図】図1
特許請求の範囲
【請求項1】
複数の真空ポンプと、
前記複数の真空ポンプをそれぞれ制御する複数の制御装置と、
を備えた真空ポンプシステムにおいて、
前記複数の制御装置とは独立して配設され、前記複数の制御装置との間の操作信号及び取得情報信号のやりとりを統括する一方で、それぞれの制御装置に対して制御自在の操作処理部と、前記複数の制御装置からの情報を取得する情報取得処理部を有するインターフェース回路を備えたことを特徴とする真空ポンプシステム。
続きを表示(約 1,500 文字)
【請求項2】
前記インターフェース回路は、
前記複数の制御装置の監視及び制御を行うための入出力手段と、
前記複数の真空ポンプの内のいずれかを識別するためのポンプポジションと操作若しくは情報取得用のコマンドを含む信号が前記入出力手段から伝えられ、該信号を解析する信号解析手段と、を備え、
該信号解析手段による前記信号の解析結果で、前記信号内のコマンドが操作用のコマンドのときには該コマンドは前記操作処理部に渡され、
前記信号内のコマンドが情報取得用のコマンドのときには該コマンドは前記情報取得処理部に渡されることを特徴とする請求項1記載の真空ポンプシステム。
【請求項3】
前記複数の制御装置に対し電力供給する電源部が前記インターフェース回路と共にユニット化され、統合ユニットとして前記複数の制御装置とは独立して配置されたことを特徴とする請求項1又は請求項2記載の真空ポンプシステム。
【請求項4】
前記情報取得処理部は、前記複数の真空ポンプの情報を巡回取得し、該取得した情報を保持する全ポンプ情報収集部を備え、
前記信号内のコマンドが受信されたとき、該コマンドから解析されたポンプポジションと取得情報種別を基に前記全ポンプ情報収集部から必要な情報が抽出され、該抽出された情報が前記入出力手段によって外部に出力されることを特徴とする請求項2記載の真空ポンプシステム。
【請求項5】
前記情報取得処理部では、
前記信号内のコマンドを受信したとき、該コマンドから解析されたポンプポジションと取得情報種別を基に前記複数の制御装置から逐次情報を取得し、該取得された情報が前記入出力手段によって外部に出力されることを特徴とする請求項2記載の真空ポンプシステム。
【請求項6】
前記情報取得処理部で取得された情報を監視し、異常が確認されたとき前記複数の真空ポンプの内対象となる真空ポンプを停止させるスーパーバイザ部を備えたことを特徴とする請求項1、4又は5のいずれか一項に記載の真空ポンプシステム。
【請求項7】
前記インターフェース回路と前記複数の制御装置間の通信規格が一つの通信規格に統一されたことを特徴とする請求項1又は請求項2記載の真空ポンプシステム。
【請求項8】
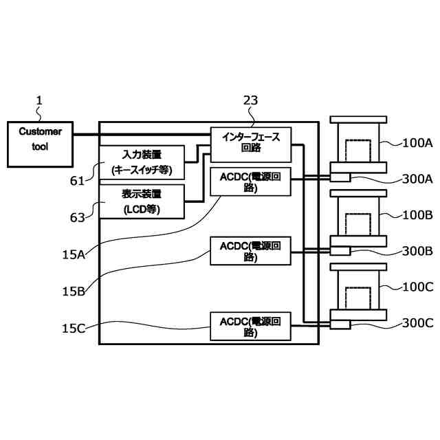
キー入力の信号を読み取り、該キー入力で指示される操作を行うために入力信号を前記操作処理部に渡すキー入力読み取り部と、前記情報取得処理部より抽出された信号を表示する表示データ出力部を備え、
前記キー入力読み取り部と前記表示データ出力部が前記統合ユニットに取り付けられたことを特徴とする請求項3記載の真空ポンプシステム。
【請求項9】
複数の真空ポンプと、
前記複数の真空ポンプをそれぞれ制御する複数の制御装置と、
を備えた真空ポンプシステムに搭載されたインターフェース回路であって、
前記複数の制御装置とは独立して配設され、前記複数の制御装置との間の操作信号及び取得情報信号のやりとりを統括する一方で、それぞれの制御装置に対して制御自在の操作処理部と、前記複数の制御装置からの情報を取得する情報取得処理部を有することを特徴とするインターフェース回路。
【請求項10】
前記複数の制御装置に対し電力供給する電源部と共にユニット化され、前記複数の制御装置とは独立して配置されたことを特徴とする請求項9記載のインターフェース回路。
(【請求項11】以降は省略されています)
発明の詳細な説明
【技術分野】
【0001】
本発明は真空ポンプシステム及びインターフェース回路に係わり、特に、顧客監視制御用ツールからインターフェース回路を介して複数台の真空ポンプを監視制御する際に、複数台の真空ポンプを1台のインターフェース回路で監視制御自在の真空ポンプシステム及びインターフェース回路に関する。
続きを表示(約 2,000 文字)
【背景技術】
【0002】
近年のエレクトロニクスの発展に伴い、メモリや集積回路といった半導体の需要が急激に増大している。
これらの半導体は、きわめて純度の高い半導体基板に不純物をドープして電気的性質を与えたり、エッチングにより半導体基板上に微細な回路を形成したりなどして製造される。
【0003】
そして、これらの作業は空気中の塵等による影響を避けるため高真空状態のチャンバ内で行われる必要がある。このチャンバの排気には、一般に真空ポンプが用いられているが、特に残留ガスが少なく、保守が容易等の点から真空ポンプの中の一つであるターボ分子ポンプが多用されている。
また、半導体の製造工程では、さまざまなプロセスガスを半導体の基板に作用させる工程が数多くあり、ターボ分子ポンプはチャンバ内を真空にするのみならず、これらのプロセスガスをチャンバ内から排気するのにも使用される。
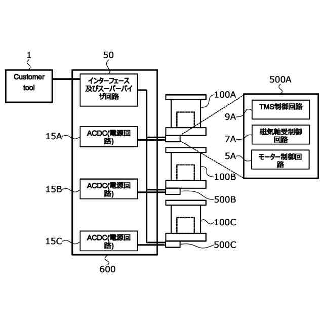
【0004】
図11には、顧客監視制御用ツールから複数台のターボ分子ポンプを監視制御する従来の真空ポンプシステムの構成図を示す。図11において、従来、顧客監視制御用ツール1と制御装置200A間には、RS232、RS485、EtherCAT、Profibusなどの通信インターフェースケーブル3Aが接続されていた。図11では、制御装置200Aはターボ分子ポンプ100Aと接続されている場合を示しているが、離隔されている場合もある。
【0005】
制御装置200Aには、ターボ分子ポンプ100A内のモータを駆動するためのモータ制御回路5A、磁気軸受装置を制御するための磁気軸受制御回路7A、プロセスガスに起因する析出物の堆積を防止するためのTMS制御回路9A、ポンプの状態の異常を検出するためのスーパーバイザ回路11A、インターフェース回路13A、AC/DC電源回路15Aが搭載されている。インターフェース回路13Aは、顧客監視制御用ツール1からの操作指令、情報取得指令を制御装置200A内の上述した各回路に伝えたり、制御装置200A内の各回路から取得された情報を顧客監視制御用ツール1に伝送する役割を有している。AC/DC電源回路15Aは、制御装置200A内の各回路に電力を供給するために配設されている(例えば特許文献1参照)。
【先行技術文献】
【特許文献】
【0006】
特開2001-349295号公報
【発明の概要】
【発明が解決しようとする課題】
【0007】
ところで、制御装置200A内の各回路は、ターボ分子ポンプ100Bと接続される制御装置200B、ターボ分子ポンプ100Cと接続される制御装置200Cにも同様に配設されており、制御装置200B、制御装置200Cはそれぞれ通信インターフェースケーブル3B、通信インターフェースケーブル3Cで顧客監視制御用ツール1と直接接続されている。
即ち、顧客監視制御用ツール1は、ターボ分子ポンプ100の台数分の制御装置と接続されている。
このため、設置されるケーブルの本数も多く、ケーブル配線の手間もかかり煩雑であった。また、制御装置毎に同種類の回路が内蔵されており、制御装置に必要なサイズも大きく、その分コストも高く要していた。
【0008】
本発明はこのような従来の課題に鑑みてなされたもので、顧客監視制御用ツールからインターフェース回路を介して複数台の真空ポンプを監視制御する際に、複数台の真空ポンプを1台のインターフェース回路で監視制御自在の真空ポンプシステム及びインターフェース回路を提供することを目的とする。
【課題を解決するための手段】
【0009】
このため本発明(請求項1)は、複数の真空ポンプと、前記複数の真空ポンプをそれぞれ制御する複数の制御装置と、を備えた真空ポンプシステムにおいて、前記複数の制御装置とは独立して配設され、前記複数の制御装置との間の操作信号及び取得情報信号のやりとりを統括する一方で、それぞれの制御装置に対して制御自在の操作処理部と、前記複数の制御装置からの情報を取得する情報取得処理部を有するインターフェース回路を備えて構成した。
【0010】
複数の制御装置との間の操作信号及び取得情報信号のやりとりを統括するように構成したので、従来のように複数台のポンプに対して同じ台数のインターフェース回路が必要だった場合に比べてコストダウン、省スペースである。また、通信用配線が簡素化されるため、通信用配線の手間が簡略化される。
一つのインターフェース回路で複数の真空ポンプの監視制御が自在となる。このため、インターフェース回路の個数が真空ポンプの個数よりも少なくて済む。
(【0011】以降は省略されています)
この特許をJ-PlatPat(特許庁公式サイト)で参照する
関連特許
エドワーズ株式会社
真空排気装置
15日前
エドワーズ株式会社
真空排気システム
14日前
エドワーズ株式会社
真空ポンプシステム及びインターフェース回路
14日前
個人
海流製造装置。
1か月前
株式会社スギノマシン
圧縮機
15日前
株式会社ツインバード
送風装置
1か月前
株式会社ツインバード
送風装置
1か月前
ダイニチ工業株式会社
空調装置
4か月前
カヤバ株式会社
電動ポンプ
2か月前
日機装株式会社
遠心ポンプ
7日前
ビッグボーン株式会社
送風装置
1か月前
株式会社不二越
蓄圧装置
2か月前
株式会社ノーリツ
ロータリ圧縮機
1か月前
株式会社酉島製作所
ポンプ
3か月前
株式会社酉島製作所
ポンプ
5か月前
株式会社ニクニ
液封式ポンプ装置
4か月前
個人
携帯型扇風機用の送風ノズル
4か月前
樫山工業株式会社
真空ポンプ
16日前
サンデン株式会社
スクロール圧縮機
21日前
サンデン株式会社
スクロール圧縮機
21日前
株式会社坂製作所
スクロール圧縮機
3か月前
サンデン株式会社
スクロール圧縮機
21日前
株式会社不二越
ベーンポンプ
2か月前
株式会社ノーリツ
ロータリー圧縮機
3か月前
小倉クラッチ株式会社
ルーツブロア
2か月前
株式会社不二越
油圧ユニット
4か月前
個人
連結式螺旋翼体及び流体移送装置
4か月前
株式会社コスメック
ピストン型ポンプ
4か月前
株式会社島津製作所
真空ポンプ
1か月前
エドワーズ株式会社
真空ポンプ
29日前
株式会社豊田自動織機
流体機械
1か月前
株式会社島津製作所
真空ポンプ
2か月前
株式会社アイシン
ポンプケース
28日前
株式会社チロル
送風機、送風機付衣服
1か月前
株式会社豊田自動織機
電動圧縮機
1か月前
株式会社豊田自動織機
電動圧縮機
1か月前
続きを見る
他の特許を見る