TOP
|
特許
|
意匠
|
商標
特許ウォッチ
Twitter
他の特許を見る
10個以上の画像は省略されています。
公開番号
2025155993
公報種別
公開特許公報(A)
公開日
2025-10-14
出願番号
2025037892
出願日
2025-03-11
発明の名称
2段式吐出ユニット
出願人
イリノイ トゥール ワークス インコーポレイティド
代理人
個人
,
個人
,
個人
,
個人
主分類
B05C
5/00 20060101AFI20251002BHJP(霧化または噴霧一般;液体または他の流動性材料の表面への適用一般)
要約
【課題】ディスペンサー、吐出ユニット、及び、ディスペンサーを動作させる方法の提供。
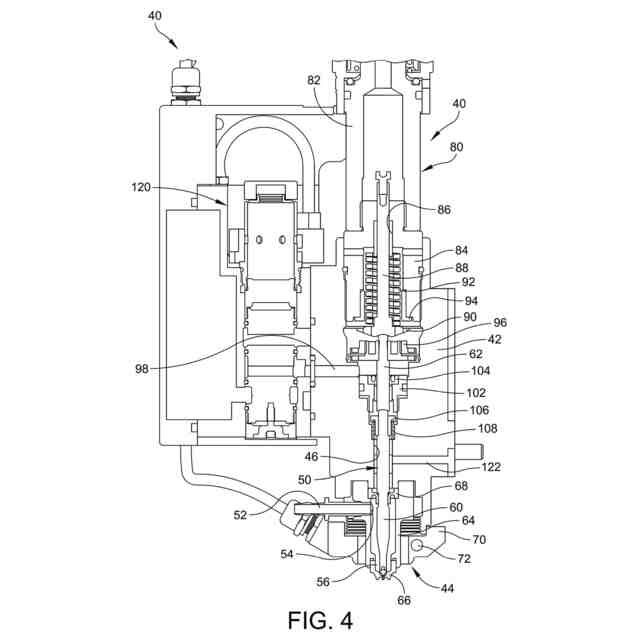
【解決手段】吐出ユニットは、主チャンバーを有する主ハウジングと、往復動ピストンと、ノズルと、調整器アセンブリとを備える。調整器アセンブリは、調整器チャンバー内に配置され、調整器チャンバー内で軸線方向に移動可能なアクチュエータを更に備える。アクチュエータは、往復動ピストンアセンブリと係合し、往復動ピストンアセンブリの下向きの移動を駆動するように構成されている。往復動ピストンアセンブリは、ノズルのオリフィス内の流体を加圧するように構成された下端部を有する第1のピストン部分と、第1のピストン部分とは別個であり、アクチュエータと係合するように構成された上端部を有する、第2のピストン部分とを備える。第1のピストン部分は、第1の距離を移動するように構成され、第2のピストン部分は、第2の距離を移動するように構成されている。
【選択図】図4
特許請求の範囲
【請求項1】
基板上に材料を吐出するように構成されたディスペンサーであって、
フレームと、
前記フレームに連結され、前記基板を受け取るように構成された、支持体と、
前記フレームに連結されたガントリーと、
前記ガントリーによって支持され、前記基板上に材料を吐出するように構成された、吐出ユニットであって、
主チャンバーを有する主ハウジングと、
前記主チャンバー内に配置され、前記主チャンバー内で軸線方向に移動可能な、往復動ピストンアセンブリと、
前記主ハウジングに連結されたノズルであって、前記ハウジングの前記主チャンバーと同軸のオリフィスを有する、ノズルと、
前記吐出ユニットに連結され、前記往復動ピストンアセンブリの上下運動を駆動するように構成された、アセンブリであって、
前記主ハウジングに連結されたハウジングであって、前記主チャンバーと同軸のチャンバーを有する、ハウジングと、
前記チャンバー内に配置され、前記チャンバー内で軸線方向に移動可能な、アクチュエータであって、前記往復動ピストンアセンブリと係合するように、かつ、前記往復動ピストンアセンブリの下向きの移動を駆動するように、構成された、アクチュエータと、
を有する、アセンブリと、
を備える、吐出ユニットと、
を備え、
前記往復動ピストンアセンブリは、前記ノズルの前記オリフィス内の流体を加圧するように構成された下端部を有する第1のピストン部分と、前記第1のピストン部分から離間され、前記アクチュエータと係合するように構成された上端部を有する、第2のピストン部分と、を備え、
前記第1のピストン部分は、第1の距離を移動するように構成され、前記第2のピストン部分は、第2の距離を移動するように構成されている、
ディスペンサー。
続きを表示(約 1,600 文字)
【請求項2】
前記ハウジングは、前記第2のピストン部分の前記第2の距離を調整するように前記主ハウジングにねじ込み式に連結されている、請求項1に記載のディスペンサー。
【請求項3】
前記吐出ユニットは、前記チャンバー内に配置され、前記アクチュエータと係合するように構成された、ばねを更に備え、前記ばねは、前記アクチュエータを下方向に付勢するように構成されている、請求項2に記載のディスペンサー。
【請求項4】
前記吐出ユニットは、前記第2のピストン部分に固定された空気リフトピストン本体を更に備え、前記空気リフトピストン本体は、加圧空気が前記空気リフトピストン本体の下方の前記主チャンバーの部分に送られたときに前記第2のピストン部分及び前記アクチュエータの上向きの移動を駆動するように構成されている、請求項3に記載のディスペンサー。
【請求項5】
前記アクチュエータは、前記アクチュエータの端部に設けられたフランジを備え、前記フランジは、前記第2の距離を移動するときに前記ハウジングと係合するように構成されている、請求項2に記載のディスペンサー。
【請求項6】
前記吐出ユニットは、前記主ハウジングに固定された流体リフト調整器を更に含み、前記流体リフト調整器は、前記第1のピストン部分の前記第1の距離の移動を制限するように構成されている、請求項1に記載のディスペンサー。
【請求項7】
前記第1のピストン部分は、前記第1のピストン部分の移動の前記第1の距離を制限するよう前記流体リフト調整器と係合するように構成されたカラーを備える、請求項6に記載のディスペンサー。
【請求項8】
基板上に材料を吐出するように構成されたディスペンサーの吐出ユニットであって、
主チャンバーを有する主ハウジングと、
前記主チャンバー内に配置され、前記主チャンバー内で軸線方向に移動可能な、往復動ピストンアセンブリと、
前記主ハウジングに連結されたノズルであって、前記ハウジングの前記主チャンバーと同軸のオリフィスを有する、ノズルと、
前記吐出ユニットに連結され、前記往復動ピストンアセンブリの上下運動を駆動するように構成された、アセンブリであって、
前記主ハウジングに連結されたハウジングであって、前記主チャンバーと同軸のチャンバーを有する、ハウジングと、
前記チャンバー内に配置され、前記調整器チャンバー内で軸線方向に移動可能な、アクチュエータであって、前記往復動ピストンアセンブリと係合するように、かつ、前記往復動ピストンアセンブリの下向きの移動を駆動するように、構成された、アクチュエータと、
を有する、アセンブリと、
を備え、
前記往復動ピストンアセンブリは、前記ノズルの前記オリフィス内の流体を加圧するように構成された下端部を有する第1のピストン部分と、前記第1のピストン部分から離間され、前記アクチュエータと係合するように構成された上端部を有する、第2のピストン部分と、を備え、
前記第1のピストン部分は、第1の距離を移動するように構成され、前記第2のピストン部分は、第2の距離を移動するように構成されている、
吐出ユニット。
【請求項9】
前記ハウジングは、前記第2のピストン部分の前記第2の距離を調整するように前記主ハウジングにねじ込み式に連結されている、請求項8に記載の吐出ユニット。
【請求項10】
前記チャンバー内に配置され、前記アクチュエータと係合するように構成された、ばねを更に備え、前記ばねは、前記アクチュエータを下方向に付勢するように構成されている、請求項9に記載の吐出ユニット。
(【請求項11】以降は省略されています)
発明の詳細な説明
【技術分野】
【0001】
本開示は、包括的には、プリント回路基板等の基板上に粘性材料を吐出するための装置及び吐出する方法に関する。
続きを表示(約 4,200 文字)
【背景技術】
【0002】
電子アセンブリ材料を吐出するための吐出ユニットを有する粘性材料ディスペンサーは種々の方法において動作する。いくつかの既知の吐出ユニットは、サーボモーターを用いて、回転式の刃先(rotary auger)を駆動し、一方、いくつかの吐出ユニットは線形サーボモーターを用いて、ピストンを駆動する。他の吐出ユニットは、電気サーボモーターを使用するのではなく、代わりに、他の作動手段に頼る。1つのそのような吐出ユニットは吐出弁又はユニットを含み、吐出弁又はユニットは、空気圧を用いてピストンを弁座から離隔させ、それにより、ばねを圧縮し、その後、空気圧を解放して、ばねがピストンを加速して、弁座に当接するまでピストンを押し戻すことができるようにすることによって動作する。この吐出ユニットによれば、ピストンが弁座と接触するときに、弁座にあるオリフィスから材料の小滴が押し出される。そのような吐出ユニットでは、通常、ソレノイド弁を用いて、ピストンチャンバー内外への空気(又は他の気体)の流れを制御する。
【0003】
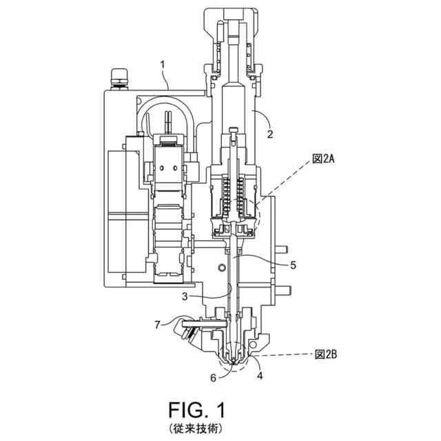
図1は、1つのそのような吐出ユニット1を示す。図示するように、吐出ユニット1は、ハウジング内に形成された長尺状円筒形のチャンバー3を含む主ハウジング2を含む。吐出ユニットは、ハウジング2の下端部に固定されたノズルアセンブリ4と、チャンバー3内に配置された長尺状ピストン5とを更に含む。ピストン5は、チャンバー3内を上下に移動するように構成されている。ピストン5の下端部は、ノズルアセンブリ4に関連付けられた弁座6に係合する。チャンバー3は、材料供給アセンブリから材料を受け取るように適合されている材料供給管7と流体連通している、吐出キャビティを画定している。材料供給管7は、チャンバー3内に入口から粘性材料を導入する。粘性材料は、圧力下でチャンバー内の小さい吐出キャビティに送られる。
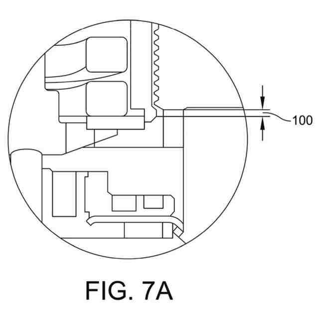
【0004】
往復動ピストン5は、アクチュエータが作動させ、下端部は弁座6と係合するように構成されている。吐出ユニット1によって吐出される材料の量は、吐出ユニットの空気リフト距離8(図2A)及び流体吸入リフト距離9(図2B)によって制御される。具体的には、空気リフト距離8は、ピストン5の速度に影響を与えることにより、噴射ドットサイズに影響を及ぼす。空気リフト距離8が大きいほど、弁座6に対するピストンの衝突速度が増大し、より高いレベルの運動エネルギーが与えられて、より小さいサイズのドットを噴射する能力が向上する。加えて、流体吸入リフト距離9も噴射ドットサイズに影響する。ピストン5の流体吸入リフト距離9が小さいほど、流体吸入量が少なくなり、より小さい噴射ドットが生成される。
【発明の概要】
【0005】
材料のより小さいドットを噴射するために、図1に示す吐出ユニット1では、吐出ユニットは、空気リフト距離8及び流体吸入リフト距離9の独立した調整を可能にしない。図2A及び図2Bに示すように、空気リフト距離8が増大することにより、流体吸入リフト距離9が対応して線形に増大することになり、逆に空気リフト距離8が低減することにより、流体吸入リフト距離9が対応して線形に低減する。ピストン5の構造は、これら2つの要素の独立した調整を妨げる。
【0006】
本開示の1つの態様は、基板上に材料を吐出するように構成されたディスペンサーに関する。1つの実施の形態において、本ディスペンサーは、フレームと、フレームに連結され、基板を受け取るように構成された支持体と、フレームに連結されたガントリーと、ガントリーによって支持され、基板上に材料を吐出するように構成された吐出ユニットとを備える。吐出ユニットは、主チャンバーを有する主ハウジングと、主チャンバー内に配置され、主チャンバー内で軸線方向に移動可能な往復動ピストンアセンブリと、主ハウジングに連結されたノズルとを備える。ノズルは、ハウジングの主チャンバーと同軸であるオリフィスを有する。吐出ユニットは、吐出ユニットに連結され、往復動ピストンアセンブリの上下運動を駆動するように構成されたアセンブリを更に備える。アセンブリは、主ハウジングに連結されたハウジングを備える。ハウジングは、主チャンバーと同軸のチャンバーを有する。アセンブリは、チャンバー内に配置され、チャンバー内で軸線方向に移動可能なアクチュエータを更に備える。アクチュエータは、往復動ピストンアセンブリと係合し、往復動ピストンアセンブリの下向きの移動を駆動するように構成される。往復動ピストンアセンブリは、ノズルのオリフィス内の流体を加圧するように構成された下端部を有する第1のピストン部分と、第1のピストン部分とは別個であり、アクチュエータと係合するように構成された上端部を有する、第2のピストン部分とを含む。第1のピストン部分は、第1の距離を移動するように構成され、第2のピストン部分は、第2の距離を移動するように構成されている。
【0007】
本ディスペンサーの実施の形態は、ハウジングを、第2のピストン部分の第2の距離を調整するように主ハウジングにねじ込み式に連結することを更に含むことができる。吐出ユニットは、チャンバー内に配置され、アクチュエータと係合するように構成された、ばねを更に含むことができる。ばねは、アクチュエータを下方向に付勢するように構成することができる。吐出ユニットは、第2のピストン部分に固定された空気リフトピストン本体を更に含むことができる。空気リフトピストン本体は、加圧空気が空気リフトピストン本体の下方のチャンバーの部分に送られたときに、第2のピストン部分及びアクチュエータの上向きの移動を駆動するように構成することができる。アクチュエータは、アクチュエータの端部に設けられたフランジを含むことができる。第2の距離を移動するときに、フランジは、ハウジングと係合するように構成することができる。吐出ユニットは、主ハウジングに固定された流体リフト調整器を更に含むことができる。流体リフト調整器は、第1のピストン部分の第1の距離の移動を制限するように構成することができる。第1のピストン部分は、第1のピストン部分の移動の第1の距離を制限するよう流体リフト調整器と係合するように構成されたカラーを備えることができる。
【0008】
本開示の別の態様は、基板上に材料を吐出するように構成されたディスペンサーの吐出ユニットに関する。1つの実施の形態において、本吐出ユニットは、主チャンバーを有する主ハウジングと、主チャンバー内に配置され、主チャンバー内で軸線方向に移動可能な往復動ピストンアセンブリと、主ハウジングに連結されたノズルとを備える。ノズルは、ハウジングの主チャンバーと同軸であるオリフィスを有する。吐出ユニットは、吐出ユニットに連結され、往復動ピストンアセンブリの上下運動を駆動するように構成されたアセンブリを更に備える。アセンブリは、主ハウジングに連結されたハウジングを備える。ハウジングは、主チャンバーと同軸のチャンバーを有する。アセンブリは、チャンバー内に配置され、チャンバー内で軸線方向に移動可能なアクチュエータを更に備える。アクチュエータは、往復動ピストンアセンブリと係合し、往復動ピストンアセンブリの下向きの移動を駆動するように構成される。往復動ピストンアセンブリは、ノズルのオリフィス内の流体を加圧するように構成された下端部を有する第1のピストン部分と、第1のピストン部分とは別個であり、アクチュエータと係合するように構成された上端部を有する、第2のピストン部分とを含む。第1のピストン部分は、第1の距離を移動するように構成され、第2のピストン部分は、第2の距離を移動するように構成されている。
【0009】
本吐出ユニットの実施の形態は、ハウジングを、第2のピストン部分の第2の距離を調整するように主ハウジングにねじ込み式に連結することを更に含むことができる。吐出ユニットは、チャンバー内に配置され、アクチュエータと係合するように構成された、ばねを更に備えることができる。ばねは、アクチュエータを下方向に付勢するように構成することができる。吐出ユニットは、第2のピストン部分に固定された空気リフトピストン本体を更に含むことができる。空気リフトピストン本体は、加圧空気が空気リフトピストン本体の下方の主チャンバーの部分に送られたときに、第2のピストン部分及びアクチュエータの上向きの移動を駆動するように構成することができる。アクチュエータは、アクチュエータの端部に設けられたフランジを含むことができる。第2の距離を移動するときに、フランジは、ハウジングと係合するように構成することができる。吐出ユニットは、主ハウジングに固定された流体リフト調整器を更に備えることができる。流体リフト調整器は、第1のピストン部分の第1の距離の移動を制限するように構成することができる。第1のピストン部分は、第1のピストン部分の移動の第1の距離を制限するよう流体リフト調整器と係合するように構成されたカラーを備えることができる。
【0010】
本開示の更に別の態様は、基板上に材料を吐出するようにディスペンサーを動作させる方法である。ディスペンサーは、主チャンバーを有する主ハウジングと、主チャンバー内に配置され、主チャンバー内で軸線方向に移動可能な往復動ピストンアセンブリと、主ハウジングに連結されたノズルとを備える。ノズルは、ハウジングの主チャンバーと同軸であるオリフィスを有する。ディスペンサーは、吐出ユニットに連結され、往復動ピストンアセンブリの上下運動を駆動するように構成されたアセンブリを更に備える。往復動ピストンアセンブリは、第1のピストン部分及び第2のピストン部分を含む。1つの実施の形態において、本方法は、往復動ピストンアセンブリの第1のピストン部分を第1の距離だけ移動させることと、往復動ピストンアセンブリの第2のピストン部分を第2の距離だけ移動させることとを含む。第2の距離は第1の距離よりも長い。
(【0011】以降は省略されています)
この特許をJ-PlatPat(特許庁公式サイト)で参照する
関連特許
ベック株式会社
被膜形成方法
4か月前
ベック株式会社
被膜形成方法
4か月前
ベック株式会社
被膜形成方法
12日前
アイカ工業株式会社
塗料仕上げ工法
1か月前
スズカファイン株式会社
多色性塗膜
20日前
ベック株式会社
装飾被膜の形成方法
2か月前
株式会社吉野工業所
キャップ
3か月前
株式会社カネカ
塗布装置
20日前
プルガティオ株式会社
噴霧装置
3か月前
プルガティオ株式会社
噴霧装置
3か月前
トヨタ自動車株式会社
塗布装置
18日前
プルガティオ株式会社
噴霧装置
3か月前
日本ライナー株式会社
塗装装置
1か月前
能美防災株式会社
水噴霧ヘッド
16日前
個人
スプレー缶高所対応携帯ホルダー
1か月前
ヒット工業株式会社
マスキング具
2か月前
中外炉工業株式会社
塗工装置
2か月前
株式会社吉野工業所
ポンプ式吐出器
3か月前
東レエンジニアリング株式会社
スリットダイ
12日前
ブラザー工業株式会社
塗工装置
9日前
東レエンジニアリング株式会社
粉体吐出装置
10日前
ブラザー工業株式会社
塗工装置
9日前
ブラザー工業株式会社
塗工装置
9日前
株式会社吉野工業所
吐出器
3か月前
旭サナック株式会社
粉体塗装装置
1か月前
株式会社吉野工業所
吐出器
3か月前
積水ハウス株式会社
接着剤塗布装置
2か月前
三菱鉛筆株式会社
多液混合型塗布具
2か月前
トリニティ工業株式会社
回転霧化式塗装機
16日前
AWJ株式会社
ステンシルプレートセット
2か月前
株式会社トーモク
印刷装置および印刷方法
1か月前
株式会社大関
塗装用ローラとその製造方法
4か月前
個人
散水形態を変更可能な吐水装置
17日前
ブラザー工業株式会社
静電塗工装置
9日前
Mipox株式会社
塗装物の製造方法
1か月前
株式会社吉野工業所
ノズル部材
3か月前
続きを見る
他の特許を見る