TOP
|
特許
|
意匠
|
商標
特許ウォッチ
Twitter
他の特許を見る
10個以上の画像は省略されています。
公開番号
2025157566
公報種別
公開特許公報(A)
公開日
2025-10-15
出願番号
2025126411,2023142658
出願日
2025-07-29,2020-03-03
発明の名称
文生成装置、文生成学習装置、文生成方法、文生成学習方法及びプログラム
出願人
NTT株式会社
代理人
弁理士法人ITOH
主分類
G06F
40/279 20200101AFI20251007BHJP(計算;計数)
要約
【課題】文を生成する際に考慮すべき情報をテキストとして付加可能とすること。
【解決手段】文生成装置は、入力文と、前記入力文に含まれる各単語の重要度と、出力長とに基づいて単語のセットを抽出する内容選択部と、前記入力文と前記単語のセットとを入力し、前記入力文と前記単語のセットに基づいて出力文を生成するよう教師あり学習された機械学習モデルに、前記入力文と前記単語のセットに対応する情報を入力することで、前記入力文と前記単語のセットに基づいて出力文を生成する生成部と、を有する。
【選択図】図2
特許請求の範囲
【請求項1】
入力文と、前記入力文に含まれる各単語の重要度と、出力長とに基づいて単語のセットを抽出する内容選択部と、
前記入力文と前記単語のセットとを入力し、前記入力文と前記単語のセットに基づいて出力文を生成するよう教師あり学習された機械学習モデルに、前記入力文と前記単語のセットに対応する情報を入力することで、前記入力文と前記単語のセットに基づいて出力文を生成する生成部と、
を有することを特徴とする文生成装置。
続きを表示(約 2,500 文字)
【請求項2】
入力文と、前記入力文に含まれる各単語の重要度と、出力長とに基づいて単語のセットを抽出する内容選択部と、
前記入力文と前記単語のセットとを入力し、前記入力文と前記単語のセットに基づいて出力文を生成するよう教師あり学習された機械学習モデルに、前記入力文と前記単語のセットに対応する情報を入力することで、前記入力文と前記単語のセットに基づいて出力文を生成する生成部と、
入力文として第1のテキストと、当該第1のテキストから抽出された単語のセットとを入力した前記機械学習モデルからの出力と前記第1のテキストに対応する出力文である第2のテキストとに基づいて前記機械学習モデルのパラメータを更新するパラメータ学習部と、
を有することを特徴とする文生成学習装置。
【請求項3】
入力文と、外部知識に含まれる複数の文の文ごとの重要度及び単語ごとの重要度の少なくとも一方とに基づいて、文のセットを抽出する内容選択部と、
前記入力文と前記文のセットとを入力し、前記入力文と前記文のセットに基づいて出力文を生成するよう教師あり学習された機械学習モデルに、前記入力文と前記文のセットに対応する情報を入力することで、前記入力文と前記文のセットに基づいて出力文を生成する生成部と、
を有することを特徴とする文生成装置。
【請求項4】
入力文と、外部知識に含まれる複数の文の文ごとの重要度及び単語ごとの重要度の少なくとも一方とに基づいて、文のセットを抽出する内容選択部と、
前記入力文と前記文のセットとを入力し、前記入力文と前記文のセットに基づいて出力文を生成するよう教師あり学習された機械学習モデルに、前記入力文と前記文のセットに対応する情報を入力することで、前記入力文と前記文のセットに基づいて出力文を生成する生成部と、
入力文として第1のテキストと、外部知識から抽出された文のセットとを入力した前記機械学習モデルからの出力と前記第1のテキストに対応する出力文である第2のテキストとに基づいて前記機械学習モデルのパラメータを更新するパラメータ学習部と、
を有することを特徴とする文生成学習装置。
【請求項5】
入力文と、前記入力文に含まれる各単語の重要度と、出力長とに基づいて単語のセットを抽出する内容選択部と、
前記単語のセットを入力し、前記単語のセットに基づいて出力文を生成するよう教師あり学習された機械学習モデルに、前記単語のセットに対応する情報を入力することで、前記単語のセットに基づいて出力文を生成する生成部と、
を有することを特徴とする文生成装置。
【請求項6】
入力文と、前記入力文に含まれる各単語の重要度と、出力長とに基づいて単語のセットを抽出する内容選択部と、
前記単語のセットを入力し、前記単語のセットに基づいて出力文を生成するよう教師あり学習された機械学習モデルに、前記単語のセットに対応する情報を入力することで、前記単語のセットに基づいて出力文を生成する生成部と、
入力文として第1のテキストから抽出された単語のセットを入力した前記機械学習モデルからの出力と前記第1のテキストに対応する出力文である第2のテキストとに基づいて前記機械学習モデルのパラメータを更新するパラメータ学習部と、
を有することを特徴とする文生成学習装置。
【請求項7】
複数の入力文と、前記複数の入力文に含まれる各文の重要度と、出力長とに基づいて文のセットを抽出する内容選択部と、
前記文のセットを入力し、前記文のセットに基づいて出力文を生成するよう教師あり学習された機械学習モデルに、前記文のセットに対応する情報を入力することで、前記文のセットに基づいて出力文を生成する生成部と、
を有することを特徴とする文生成装置。
【請求項8】
複数の入力文と、前記複数の入力文に含まれる各文の重要度と、出力長とに基づいて文のセットを抽出する内容選択部と、
前記文のセットを入力し、前記文のセットに基づいて出力文を生成するよう教師あり学習された機械学習モデルに、前記文のセットに対応する情報を入力することで、前記文のセットに基づいて出力文を生成する生成部と、
複数の入力文として第1のテキストと、当該第1のテキストから抽出された文のセットとを入力した前記機械学習モデルからの出力と前記第1のテキストに対応する出力文である第2のテキストとに基づいて前記機械学習モデルのパラメータを更新するパラメータ学習部と、
を有することを特徴とする文生成学習装置。
【請求項9】
入力文と、前記入力文に含まれる各単語の重要度と、出力長とに基づいて単語のセットを抽出する内容選択部と、
前記入力文と前記単語のセットとを入力し、前記入力文と前記単語のセットに基づいて出力文を生成するよう教師あり学習された機械学習モデルに、前記入力文と前記単語のセットに対応する情報を入力することで、前記入力文と前記単語のセットに基づいて出力文を生成する生成部と、
を有することを特徴とする文生成装置。
【請求項10】
入力文と、前記入力文に含まれる各単語の重要度と、出力長とに基づいて単語のセットを抽出する内容選択部と、
前記入力文と前記単語のセットとを入力し、前記入力文と前記単語のセットに基づいて出力文を生成するよう教師あり学習された機械学習モデルに、前記入力文と前記単語のセットに対応する情報を入力することで、前記入力文と前記単語のセットに基づいて出力文を生成する生成部と、
入力文として第1のテキストと、当該第1のテキストから抽出された単語のセットとを入力した前記機械学習モデルからの出力と前記第1のテキストに対応する出力文である第2のテキストとに基づいて前記機械学習モデルのパラメータを更新するパラメータ学習部と、
を有することを特徴とする文生成学習装置。
(【請求項11】以降は省略されています)
発明の詳細な説明
【技術分野】
【0001】
本発明は、文生成装置、文生成学習装置、文生成方法、文生成学習方法及びプログラムに関する。
続きを表示(約 2,200 文字)
【背景技術】
【0002】
ニューラルネットに基づく文の生成技術は進展している。当該生成技術は、テキストを入力として、予め学習済みのニューラルネットワークモデルに基づき、所定の目的の文(例えば要約文)を生成する技術である。
【0003】
例えば、非特許文献1では、入力文書に含まれる文の重要度(attention)と単語の重要度を掛け合わせて求めた単語レベルの重要度を文生成時に反映させる手法が提案されている。
【先行技術文献】
【非特許文献】
【0004】
Wan-Ting Hsu, Chieh-Kai Lin, Ming-Ying Lee, Kerui Min, Jing Tang, Min Sun. 2018. A Unified Model for Extractive and Abstractive Summarization using Inconsistency Loss.
【発明の概要】
【発明が解決しようとする課題】
【0005】
しかしながら、非特許文献1では、文を生成する際に考慮すべき情報を、重要度のスコアや、長さEmbedding等の形式で与えており、テキストとして与えることができない。
【0006】
本発明は、上記の点に鑑みてなされたものであって、文を生成する際に考慮すべき情報をテキストとして付加可能とすることを目的とする。
【課題を解決するための手段】
【0007】
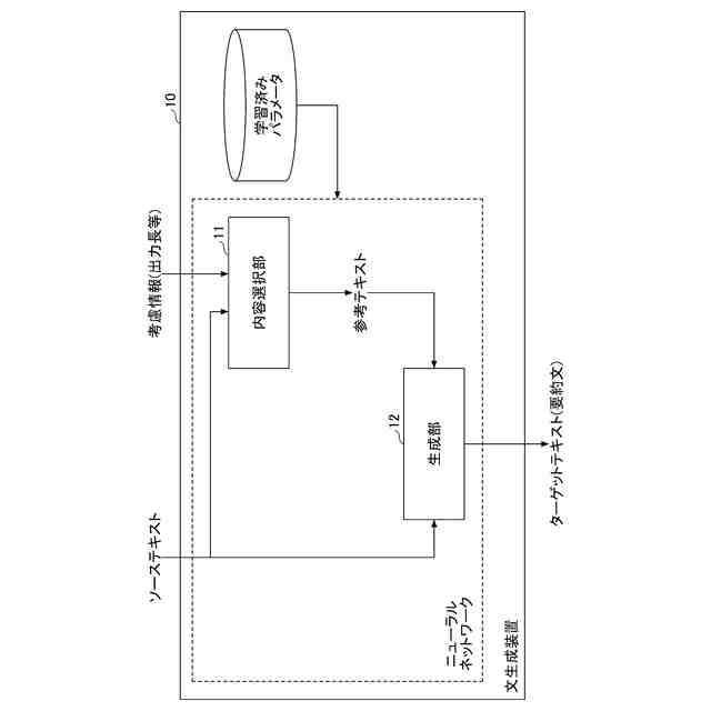
そこで上記課題を解決するため、文生成装置は、入力文と、前記入力文に含まれる各単語の重要度と、出力長とに基づいて単語のセットを抽出する内容選択部と、前記入力文と前記単語のセットとを入力し、前記入力文と前記単語のセットに基づいて出力文を生成するよう教師あり学習された機械学習モデルに、前記入力文と前記単語のセットに対応する情報を入力することで、前記入力文と前記単語のセットに基づいて出力文を生成する生成部と、を有する。
【発明の効果】
【0008】
文を生成する際に考慮すべき情報をテキストとして付加可能とすることができる。
【図面の簡単な説明】
【0009】
第1の実施の形態における文生成装置10のハードウェア構成例を示す図である。
第1の実施の形態における文生成装置10の機能構成例を示す図である。
第1の実施の形態における生成部12の構成例を示す図である。
第1の実施の形態における文生成装置10が実行する処理手順の一例を説明するためのフローチャートである。
各単語に対する重要度の推定を説明するための図である。
第1の実施の形態における生成部12による処理を説明するための図である。
第1の実施の形態における文生成装置10の学習時における機能構成例を示す図である。
第2の実施の形態における生成部12の構成例を示す図である。
第2の実施の形態における生成部12による処理を説明するための図である。
第3の実施の形態における文生成装置10の機能構成例を示す図である。
第3の実施の形態における文生成装置10が実行する処理手順の一例を説明するためのフローチャートである。
知識源DB20の構成例を示す図である。
関連度計算モデルの第1の例を説明するための図である。
関連度計算モデルの第2の例を説明するための図である。
第3の実施の形態における文生成装置10の学習時における機能構成例を示す図である。
第4の実施の形態における文生成装置10の機能構成例を示す図である。
第4の実施の形態における生成部12の構成例を示す図である。
第4の実施の形態におけるモデル構成例を示す図である。
第4の実施の形態における文生成装置10の学習時における機能構成例を示す図である。
第5の実施の形態における文生成装置10の機能構成例を示す図である。
第5の実施の形態における生成部12の構成例を示す図である。
第5の実施の形態におけるモデル構成例を示す図である。
第6の実施の形態における文生成装置10の機能構成例を示す図である。
第6の実施の形態におけるモデル構成例を示す図である。
第6の実施の形態における文生成装置10の学習時における機能構成例を示す図である。
第7の実施の形態における文生成装置10の機能構成例を示す図である。
第7の実施の形態における文生成装置10の学習時における機能構成例を示す図である。
【発明を実施するための形態】
【0010】
以下、図面に基づいて本発明の実施の形態を説明する。図1は、第1の実施の形態における文生成装置10のハードウェア構成例を示す図である。図1の文生成装置10は、それぞれバスBで相互に接続されているドライブ装置100、補助記憶装置102、メモリ装置103、CPU104、及びインタフェース装置105等を有する。
(【0011】以降は省略されています)
この特許をJ-PlatPat(特許庁公式サイト)で参照する
関連特許
NTT株式会社
計算装置
1日前
NTT株式会社
文生成装置、文生成学習装置、文生成方法、文生成学習方法及びプログラム
3日前
個人
詐欺保険
4日前
個人
縁伊達ポイン
4日前
個人
地球保全システム
17日前
個人
QRコードの彩色
8日前
個人
冷凍食品輸出支援構造
1か月前
個人
為替ポイント伊達夢貯
1か月前
個人
表変換編集支援システム
1か月前
個人
農作物用途分配システム
3日前
個人
残土処理システム
10日前
個人
知財出願支援AIシステム
1か月前
個人
知的財産出願支援システム
11日前
個人
パスワード管理支援システム
1か月前
個人
AIによる情報の売買の仲介
1か月前
個人
行動時間管理システム
1か月前
株式会社キーエンス
受発注システム
16日前
個人
パスポートレス入出国システム
1か月前
個人
AIキャラクター制御システム
1か月前
個人
海外支援型農作物活用システム
29日前
株式会社キーエンス
受発注システム
16日前
株式会社アジラ
進入判定装置
1か月前
株式会社キーエンス
受発注システム
16日前
日本精機株式会社
施工管理システム
1か月前
個人
食品レシピ生成システム
16日前
個人
システム及びプログラム
1か月前
キヤノン株式会社
表示システム
16日前
個人
食事受注会計処理システム
1か月前
大同特殊鋼株式会社
疵判定方法
23日前
個人
人格進化型対話応答制御システム
1か月前
サクサ株式会社
中継装置
1か月前
個人
SaaS型勤務調整支援システム
1か月前
個人
音声対話型帳票生成支援システム
1か月前
個人
未来型家系図構築システム
29日前
個人
社会還元・施設向け供給支援構造
1か月前
個人
冷凍加工連携型農場運用システム
1か月前
続きを見る
他の特許を見る