TOP
|
特許
|
意匠
|
商標
特許ウォッチ
Twitter
他の特許を見る
公開番号
2025157768
公報種別
公開特許公報(A)
公開日
2025-10-16
出願番号
2024059990
出願日
2024-04-03
発明の名称
流体制御弁
出願人
CKD株式会社
代理人
弁理士法人コスモス国際特許商標事務所
主分類
F16K
31/122 20060101AFI20251008BHJP(機械要素または単位;機械または装置の効果的機能を生じ維持するための一般的手段)
要約
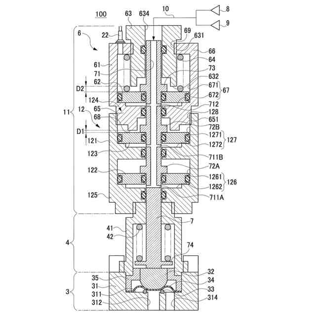
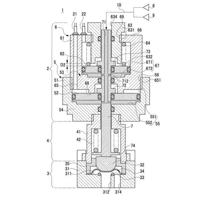
【課題】2段階の開度制御が可能であるとともに、操作流体を供給するための配管スペースを削減することが可能な流体制御弁を提供すること。
【解決手段】駆動軸7は、第1シリンダ5と第2シリンダ6のそれぞれに、圧縮エアを、第1圧力または第2圧力で供給する供給路71を備えること、第1シリンダ5に装填され、圧縮エアが第1シリンダ5に第1圧力で供給されたとき、弁体32が第3開度に動作するまで、駆動軸7を離間方向に動作させる第1ピストン52と、第2シリンダ6に装填され、圧縮エアが第2シリンダ6に第1圧力で供給されたとき、弁体32が第3開度に動作するまで、第1ピストン52とともに駆動軸7を離間方向に動作させ、圧縮エアが第2シリンダ6に第2圧力で供給されたとき、弁体32が第3開度から第2開度に動作するまで、単独で駆動軸7を離間方向に動作させる第2ピストン62と、を備えること。
【選択図】図1
特許請求の範囲
【請求項1】
弁座と、
前記弁座に当接をする第1開度と、前記弁座から最も離間をする第2開度と、の間で当接離間動作をする弁体と、
前記弁体の前記当接離間動作を行うための駆動軸と、
前記駆動軸が前記当接離間動作の方向に沿って挿通されたシリンダ部と、
前記シリンダ部に装填され、前記シリンダ部に供給される操作流体の流体圧を受けることで、前記駆動軸を前記弁体が前記離間をする方向である離間方向に動作させるピストンと、
前記ピストンに対し、前記離間方向とは逆の方向の当接方向に付勢力を与える付勢部材と、
を備える流体制御弁において、
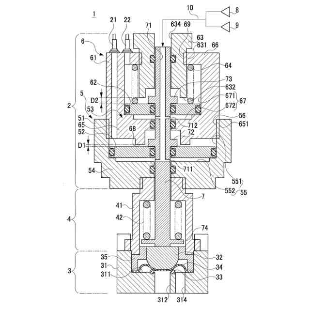
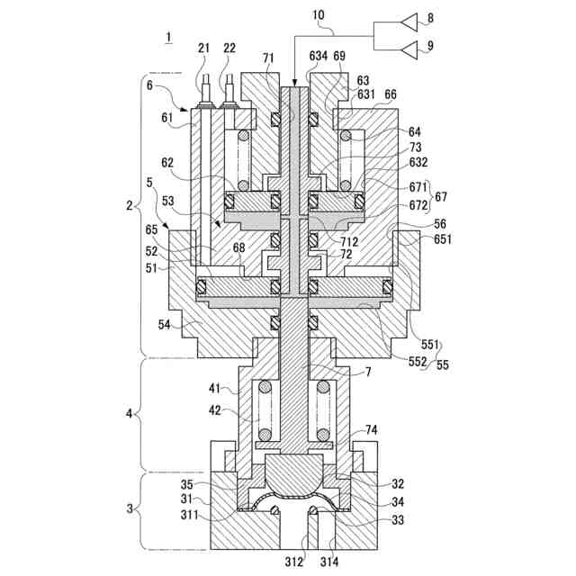
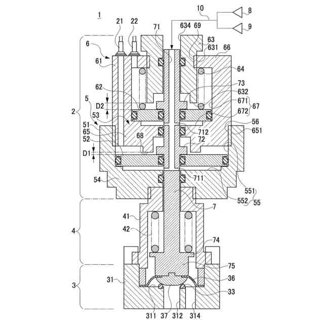
前記シリンダ部は、前記駆動軸の軸方向に沿って積み重なる、第1シリンダと第2シリンダとを備えること、
前記駆動軸は、前記第1シリンダと前記第2シリンダのそれぞれに、前記操作流体を、第1圧力または前記第1圧力よりも高い第2圧力で供給する供給路を備えること、
前記ピストンは、
前記第1シリンダに装填され、前記操作流体が前記第1シリンダに前記第1圧力で供給されたとき、前記弁体が、前記第1開度から、前記第1開度と前記第2開度との間の第3開度に動作するまで、前記駆動軸を前記離間方向に動作させる第1ピストンと、
前記第2シリンダに装填され、前記操作流体が前記第2シリンダに前記第1圧力で供給されたとき、前記弁体が前記第1開度から前記第3開度に動作するまで、前記第1ピストンとともに、前記駆動軸を前記離間方向に動作させ、前記操作流体が前記第2シリンダに前記第2圧力で供給されたとき、前記弁体が前記第3開度から前記第2開度に動作するまで、単独で、前記駆動軸を前記離間方向に動作させる第2ピストンと、
を備えること、
を特徴とする流体制御弁。
続きを表示(約 570 文字)
【請求項2】
請求項1に記載の流体制御弁において、
前記第1シリンダは、前記第1ピストンに前記離間方向の側から当接して、前記弁体を前記第3開度に規制する第1規制部を備えること、
前記第2シリンダは、前記第2ピストンに前記離間方向の側から当接して、前記弁体を前記第2開度に規制する第2規制部を備えること、
を特徴とする流体制御弁。
【請求項3】
請求項2に記載の流体制御弁において、
前記第1規制部は、前記第2シリンダの前記第1シリンダの側の端部に形成されていること、
前記第2シリンダは、前記第1シリンダに対して、前記軸方向における位置を調整可能に螺合されており、前記第2シリンダの位置を調整することで、前記第1規制部の前記軸方向における位置を調整可能なこと、
前記第2規制部は、前記第2シリンダの前記第1シリンダの側とは反対側に、前記第2シリンダに対して、前記軸方向における位置を調整可能に螺合されていること、
を特徴とする流体制御弁。
【請求項4】
請求項1乃至3のいずれか1つに記載の流体制御弁において、
前記第1ピストンの受圧面積は、
前記第2ピストンの受圧面積よりも大きいこと、
を特徴とする流体制御弁。
発明の詳細な説明
【技術分野】
【0001】
本発明は、流体制御弁に関するものである。
続きを表示(約 1,200 文字)
【背景技術】
【0002】
従来、半導体製造工程においては流体制御弁が用いられている。具体的には、流体制御弁は、ウエハが設置される真空チャンバと、ガス供給源との間に設置され、ウエハの成膜処理を行うためのプロセスガスの流量や、真空チャンバのパージを行うための窒素ガスの流量を制御するために用いられる。
【0003】
流体制御弁としては、例えば、特許文献1に開示される流体制御弁が知られている。特許文献1に開示される流体制御弁は、エアオペレイト式開閉弁であり、操作流体により弁体と弁座の当接離間動作を制御する。具体的には、弁体は、以下のように、弁体が弁座に当接する弁閉位置(第1開度とする)と、弁体が弁座から最も離間する最大弁開位置(第2開度とする)と、これらの中間の位置(第3開度とする)に作動される。
【0004】
特許文献1に開示される流体制御弁は、ノーマルクローズ弁であり、操作流体の供給を受けていない状態では、弁体は、弁座に当接する第1開度に位置されている。
【0005】
また、特許文献1に開示される流体制御弁は、第1ピストンが装填された第1加圧室と、第1加圧室に操作流体を供給する第1制御ポートと、を備えており、第1制御ポートから第1加圧室に操作流体が供給されると、第1ピストンが動作し、弁体が第2開度に位置されるようになっている。
【0006】
また、特許文献1に開示される流体制御弁は、第2ピストンが装填された第2加圧室と、第2加圧室に操作流体を供給する第2制御ポートと、を備えており、第2制御ポートから第2加圧室に操作流体が供給されると、第2ピストンが動作し、弁体が第3開度に位置されるようになっている。
【0007】
つまり、特許文献1に開示される流体制御弁は、第1制御ポートを介して第1制御ポートに操作流体を供給するか、第2制御ポートを介して第2加圧室に操作流体を供給するかにより、第2開度と第3開度の2段階で開度制御が可能となっている。
【先行技術文献】
【特許文献】
【0008】
特開平8-170755号公報
【発明の概要】
【発明が解決しようとする課題】
【0009】
上記した流体制御弁は、弁体を第2開度に位置させるための第1制御ポートと、弁体を第3開度に位置させるための第2制御ポートとが別個に設けられているため、操作流体を供給するための配管を、それぞれのポートに接続しなければならないため、その分の配管スペースが必要である。このことは、半導体製造装置の高密度化を阻害するおそれがある。
【0010】
本発明は、上記問題に鑑みてなされたものであり、2段階の開度制御が可能であるとともに、操作流体を供給するための配管スペースを削減することが可能な流体制御弁を提供することを目的とする。
【課題を解決するための手段】
(【0011】以降は省略されています)
この特許をJ-PlatPat(特許庁公式サイト)で参照する
関連特許
個人
留め具
18日前
個人
鍋虫ねじ
2か月前
個人
回転伝達機構
2か月前
個人
紛体用仕切弁
2か月前
個人
差動歯車用歯形
4か月前
個人
給排気装置
25日前
個人
ジョイント
1か月前
個人
地震の揺れ回避装置
3か月前
株式会社不二工機
電磁弁
4か月前
個人
ナット
1か月前
個人
吐出量監視装置
2か月前
カヤバ株式会社
ダンパ
4か月前
柿沼金属精機株式会社
分岐管
2か月前
カヤバ株式会社
緩衝器
3か月前
カヤバ株式会社
緩衝器
3か月前
カヤバ株式会社
ダンパ
4か月前
カヤバ株式会社
緩衝器
24日前
株式会社不二工機
電動弁
25日前
株式会社奥村組
制振機構
1か月前
株式会社奥村組
制振機構
1か月前
株式会社不二工機
電磁弁
2か月前
株式会社三五
ドライブシャフト
10日前
株式会社ノーリツ
分配弁
29日前
株式会社タカギ
水栓装置
2か月前
株式会社ニフコ
クリップ
29日前
アズビル株式会社
回転弁
1か月前
株式会社ノナガセ
免震装置
11日前
株式会社ケアコム
取付器具
3か月前
株式会社有恒商会
伸縮継手
3か月前
井関農機株式会社
作業車両
4か月前
株式会社不二越
転がり軸受
2か月前
アイホン株式会社
電気機器
1か月前
個人
誘導電流活用式差動制限装置
29日前
株式会社オンダ製作所
識別リング
3か月前
個人
ワンウェイベアリング
3か月前
アマテイ株式会社
釘
3日前
続きを見る
他の特許を見る