TOP
|
特許
|
意匠
|
商標
特許ウォッチ
Twitter
他の特許を見る
公開番号
2025119657
公報種別
公開特許公報(A)
公開日
2025-08-15
出願番号
2024014556
出願日
2024-02-02
発明の名称
ディスク装置
出願人
株式会社東芝
,
東芝デバイス&ストレージ株式会社
代理人
弁理士法人酒井国際特許事務所
主分類
G11B
5/60 20060101AFI20250807BHJP(情報記憶)
要約
【課題】部材が接着剤から剥離してしまうことを抑制できるディスク装置を提供する。
【解決手段】一つの実施形態に係るディスク装置は、電子部品と、フレキシブルプリント回路板と、第1の接着剤と、部材と、第1の結合層とを備える。前記フレキシブルプリント回路板は、前記電子部品に向く第1の面と、前記第1の面の反対側に位置する第2の面と、前記第1の面に設けられるとともに導電性の接合体によって前記電子部品に接続されたパッドと、を有する。前記第1の接着剤は、前記第2の面に設けられる。前記部材は、前記第2の面に向く第3の面を有する。前記第1の結合層は、前記第3の面に設けられるとともに当該第3の面の窪みに入り込み、前記第1の接着剤によって前記第2の面に固着させられる。
【選択図】図4
特許請求の範囲
【請求項1】
電子部品と、
前記電子部品に向く第1の面と、前記第1の面の反対側に位置する第2の面と、前記第1の面に設けられるとともに導電性の接合体によって前記電子部品に接続されたパッドと、を有するフレキシブルプリント回路板と、
前記第2の面に設けられた第1の接着剤と、
前記第2の面に向く第3の面を有する部材と、
前記第3の面に設けられるとともに当該第3の面の窪みに入り込み、前記第1の接着剤によって前記第2の面に固着させられた、第1の結合層と、
を具備するディスク装置。
続きを表示(約 1,200 文字)
【請求項2】
前記電子部品、前記フレキシブルプリント回路板、前記第1の接着剤、前記部材、及び前記第1の結合層を収容する筐体と、
前記筐体に収容された磁気ディスクと、
前記磁気ディスクに情報を読み書きするよう構成された磁気ヘッドと、
回転することで前記磁気ヘッドを移動させるよう構成されたキャリッジと、
をさらに具備し、
前記電子部品は、前記接合体によって前記パッドに接続されるとともに前記フレキシブルプリント回路板と前記磁気ヘッドとを電気的に接続するフレキシャ、を有し、
前記部材は、前記キャリッジに取り付けられる、
請求項1のディスク装置。
【請求項3】
第2の結合層、
をさらに具備し、
前記部材は、前記第3の面の反対側に位置するとともに前記キャリッジに向く第4の面を有し、
前記第2の結合層は、前記第4の面に設けられるとともに当該第4の面の窪みに入り込む、
請求項2のディスク装置。
【請求項4】
前記第2の結合層と前記キャリッジとを互いに固着させる第2の接着剤、
をさらに具備する請求項3のディスク装置。
【請求項5】
前記部材は、前記第3の面の反対側に位置するとともに前記キャリッジに接触した第4の面を有する、
請求項2のディスク装置。
【請求項6】
前記第1の結合層は、前記第3の面の全域に設けられた、
請求項1又は請求項2のディスク装置。
【請求項7】
前記第1の結合層は、前記第3の面に付着する第5の面と、前記第5の面の反対側に位置する第6の面と、を有し、
前記第1の接着剤は、前記第6の面の全域に付着した、
請求項6のディスク装置。
【請求項8】
前記第1の接着剤は、前記第6の面の全域と前記フレキシブルプリント回路板とを互いに固着させる、
請求項7のディスク装置。
【請求項9】
前記第3の面は、平面と、当該平面から連続する曲面と、を有し、
前記フレキシブルプリント回路板は、グランドプレーンを有し、
前記グランドプレーンの一部は、前記フレキシブルプリント回路板のうち前記第1の接着剤及び前記第1の結合層を介して前記曲面に固着された部分に設けられた、
請求項8のディスク装置。
【請求項10】
前記第3の面は、平面と、当該平面から連続する曲面と、を有し、
前記フレキシブルプリント回路板は、グランドプレーンを有し、
前記グランドプレーンは、前記フレキシブルプリント回路板のうち前記第1の接着剤及び前記第1の結合層を介して前記曲面に固着された部分から離間している、
請求項8のディスク装置。
(【請求項11】以降は省略されています)
発明の詳細な説明
【技術分野】
【0001】
本発明の実施形態は、ディスク装置に関する。
続きを表示(約 1,800 文字)
【背景技術】
【0002】
ハードディスクドライブ(HDD)のようなディスク装置は、フレキシブルプリント回路板(FPC)と、導電性の接合体によってFPCに接続される電子部品と、FPCに接着される部材とを有する。例えば、フレキシャ(flexure)が半田によってFPCに接続され、金属製の補強板がFPCに接着される。
【先行技術文献】
【特許文献】
【0003】
特許第3940652号公報
【発明の概要】
【発明が解決しようとする課題】
【0004】
例えば接合体の加熱時において、部材は、当該部材をFPCに接着する接着剤から剥離してしまう虞がある。
【0005】
本発明が解決する課題の一例は、部材が接着剤から剥離してしまうことを抑制できるディスク装置を提供することである。
【課題を解決するための手段】
【0006】
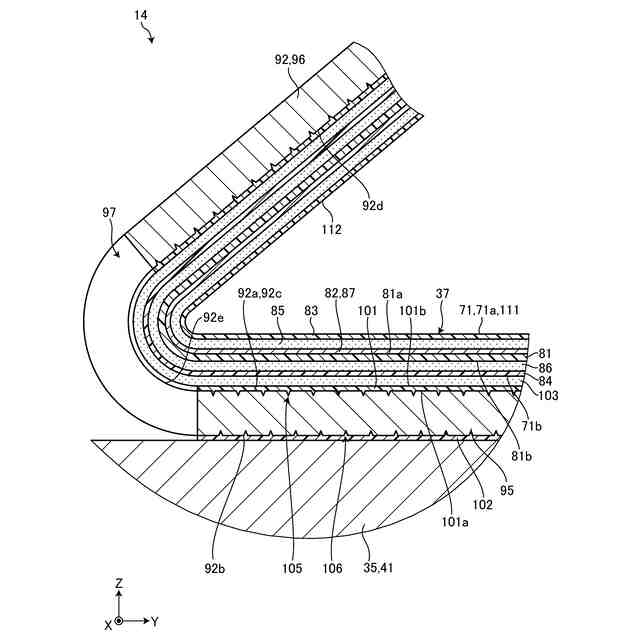
一つの実施形態に係るディスク装置は、電子部品と、フレキシブルプリント回路板と、第1の接着剤と、部材と、第1の結合層とを備える。前記フレキシブルプリント回路板は、前記電子部品に向く第1の面と、前記第1の面の反対側に位置する第2の面と、前記第1の面に設けられるとともに導電性の接合体によって前記電子部品に接続されたパッドと、を有する。前記第1の接着剤は、前記第2の面に設けられる。前記部材は、前記第2の面に向く第3の面を有する。前記第1の結合層は、前記第3の面に設けられるとともに当該第3の面の窪みに入り込み、前記第1の接着剤によって前記第2の面に固着させられる。
【図面の簡単な説明】
【0007】
図1は、第1の実施形態に係るHDDを分解して示す例示的な斜視図である。
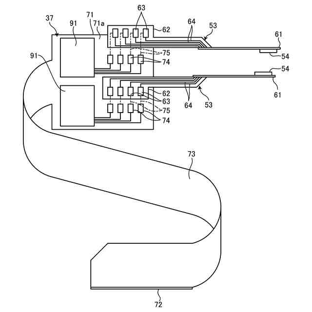
図2は、第1の実施形態のFPC及びフレキシャを分解して模式的に示す例示的な図である。
図3は、第1の実施形態のキャリッジ、FPC、及びフレキシャの一部を模式的に示す例示的な平面図である。
図4は、第1の実施形態のキャリッジ及びFPCの一部を図3のF4-F4線に沿って模式的に示す例示的な断面図である。
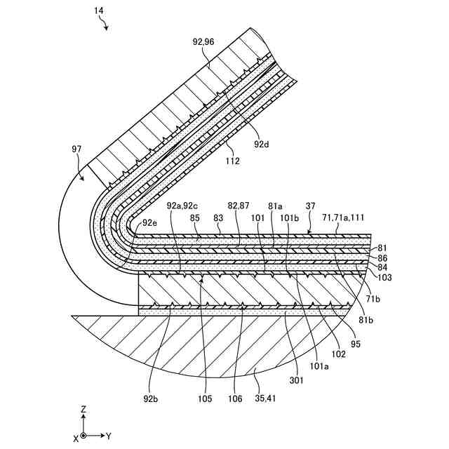
図5は、第2の実施形態に係るキャリッジ及びFPCの一部を模式的に示す例示的な断面図である。
図6は、第3の実施形態に係るキャリッジ及びFPCの一部を模式的に示す例示的な断面図である。
図7は、第4の実施形態に係るキャリッジ、FPC、及びフレキシャの一部を模式的に示す例示的な平面図である。
図8は、第4の実施形態のキャリッジ及びFPCの一部を図7のF8-F8線に沿って模式的に示す例示的な断面図である。
図9は、第5の実施形態に係るキャリッジ及びFPCを模式的に示す例示的な断面図である。
図10は、第6の実施形態に係るキャリッジ、FPC、及びフレキシャの一部を模式的に示す例示的な平面図である。
図11は、第7の実施形態に係るキャリッジ、FPC、及びフレキシャの一部を模式的に示す例示的な平面図である。
【発明を実施するための形態】
【0008】
(第1の実施形態)
以下に、第1の実施形態について、図1乃至図4を参照して説明する。なお、本明細書において、実施形態に係る構成要素及び当該要素の説明が、複数の表現で記載されることがある。構成要素及びその説明は、一例であり、本明細書の表現によって限定されない。構成要素は、本明細書におけるものとは異なる名称でも特定され得る。また、構成要素は、本明細書の表現とは異なる表現によっても説明され得る。
【0009】
以下の説明において、「抑制する」は、例えば、事象、作用、若しくは影響の発生を防ぐこと、又は事象、作用、若しくは影響の度合いを低減させること、として定義される。また、以下の説明において、「制限する」は、例えば、移動若しくは回転を防ぐこと、又は移動若しくは回転を所定の範囲内で許容するとともに当該所定の範囲を超えた移動若しくは回転を防ぐこと、として定義される。
【0010】
図1は、第1の実施形態に係るハードディスクドライブ(HDD)10を分解して示す例示的な斜視図である。HDD10は、ディスク装置の一例であり、電子機器、記憶装置、外部記憶装置、又は磁気ディスク装置とも称され得る。
(【0011】以降は省略されています)
この特許をJ-PlatPat(特許庁公式サイト)で参照する
関連特許
株式会社東芝
センサ
1か月前
株式会社東芝
モータ
12日前
株式会社東芝
センサ
17日前
株式会社東芝
固定子
1か月前
株式会社東芝
センサ
17日前
株式会社東芝
電子装置
11日前
株式会社東芝
吸音装置
12日前
株式会社東芝
ドア構造
1か月前
株式会社東芝
金型構造
17日前
株式会社東芝
粒子加速器
11日前
株式会社東芝
半導体装置
26日前
株式会社東芝
半導体装置
14日前
株式会社東芝
半導体装置
14日前
株式会社東芝
半導体装置
14日前
株式会社東芝
半導体装置
14日前
株式会社東芝
半導体装置
14日前
株式会社東芝
半導体装置
24日前
株式会社東芝
電動送風機
1か月前
株式会社東芝
半導体装置
14日前
株式会社東芝
半導体装置
14日前
株式会社東芝
ラック装置
1か月前
株式会社東芝
異常検出装置
2か月前
株式会社東芝
ディスク装置
1か月前
株式会社東芝
ディスク装置
1か月前
株式会社東芝
開発支援装置
1か月前
株式会社東芝
重量測定装置
10日前
株式会社東芝
ディスク装置
1か月前
株式会社東芝
音響制御装置
10日前
株式会社東芝
差動伝送回路
1か月前
株式会社東芝
電子デバイス
12日前
株式会社東芝
アイソレータ
1か月前
株式会社東芝
海水用構造体
24日前
株式会社東芝
計測システム
2か月前
株式会社東芝
ディスク装置
14日前
株式会社東芝
電子デバイス
12日前
株式会社東芝
ディスク装置
14日前
続きを見る
他の特許を見る