TOP
|
特許
|
意匠
|
商標
特許ウォッチ
Twitter
他の特許を見る
10個以上の画像は省略されています。
公開番号
2025159614
公報種別
公開特許公報(A)
公開日
2025-10-21
出願番号
2024062325
出願日
2024-04-08
発明の名称
シリンダブロック、エンジン、及び車両
出願人
いすゞ自動車株式会社
代理人
弁理士法人鈴榮特許綜合事務所
主分類
F02F
1/10 20060101AFI20251014BHJP(燃焼機関;熱ガスまたは燃焼生成物を利用する機関設備)
要約
【課題】フリクションを低減できるシリンダボアを容易に形成できるシリンダブロック、エンジン、及び車両の提供を目的とする。
【解決手段】本開示の一実施形態にかかるシリンダブロックは、シリンダ部が形成されるとともに、シリンダ部の外周部に形成される冷却液室を有するクーリングジャケットと、を備え、前記冷却液室は、前記シリンダ部の深さ方向において、前記シリンダ部の深さ寸法の40%となる位置よりも浅い位置に、配置される。
【選択図】図1
特許請求の範囲
【請求項1】
シリンダ部が形成されるとともに、シリンダ部の外周部に形成される冷却液室を有するクーリングジャケットと、を備え、
前記冷却液室は、前記シリンダ部の深さ方向において、前記シリンダ部の深さ寸法の40%となる位置よりも浅い位置に、配置される、シリンダブロック。
続きを表示(約 760 文字)
【請求項2】
前記シリンダ部の、スラスト側及び反スラスト側の位置に、ヘッドボルトが締結される締結孔を有する、請求項1に記載のシリンダブロック。
【請求項3】
前記締結孔は、前記シリンダ部の深さ方向において、前記冷却液室の底部よりも深い位置に配される、請求項2に記載のシリンダブロック。
【請求項4】
前記シリンダ部は複数並んで形成され、
複数の前記シリンダ部が並ぶ方向と交差する方向の両側である前記スラスト側及び反スラスト側に、それぞれ複数の前記締結孔が形成される、請求項2に記載のシリンダブロック。
【請求項5】
前記締結孔は、前記シリンダブロックの一方側の端面から、他方側に向けて形成され、
前記シリンダ部の深さ方向において、前記締結孔の他方側の端部は、前記シリンダ部の底部よりも一方側に配置され、
前記シリンダブロックは、前記締結孔の外側において、前記シリンダ部の両側部の外面が外方に突出するボス部を有し、
前記シリンダ部の深さ方向において、前記ボス部の一方側の端部は、前記シリンダ部の底部よりも、一方側の位置に配置され、
前記シリンダブロックは、前記深さ方向において前記ボス部の他方側であって前記シリンダ部の底部よりも一方側の位置において、外面が内側に凹む段差部を有する、請求項2に記載のシリンダブロック。
【請求項6】
前記請求項1乃至5のいずれかに記載のシリンダブロックと、
前記シリンダ部内に配置されるピストンと、
前記シリンダブロックの一方側に対向配置され締結されるシリンダヘッドと、を備える、エンジン。
【請求項7】
請求項6に記載のエンジンを有する車両。
発明の詳細な説明
【技術分野】
【0001】
本開示は、シリンダブロック、エンジン、及び車両に関する。
続きを表示(約 1,700 文字)
【背景技術】
【0002】
自動車やトラックなどの車両に用いられる内燃機関においてシリンダブロック等のシリンダ部材に形成されるシリンダボアは、ヘッドボルトの締付や熱負荷により大きく変形する。この変形により、ピストンとのフリクションロスが増大し、燃費の悪化を招くことがある。
【0003】
このような問題に対し、近年では高度なホーニング技術が開発されており、実運転時において理想的な形状となるようにシリンダボアをホーニング加工することが求められる。
【先行技術文献】
【特許文献】
【0004】
特開平8-61139号公報
【発明の概要】
【発明が解決しようとする課題】
【0005】
本開示は、上記の課題に鑑みてなされたものであり、フリクションを低減できるシリンダボアを容易に形成できるシリンダブロック、エンジン、及び車両の提供を目的とする。
【課題を解決するための手段】
【0006】
本開示の一実施形態にかかるシリンダブロックは、シリンダ部が形成されるとともに、シリンダ部の外周部に形成される冷却液室を有するクーリングジャケットと、を備え、
前記冷却液室は、前記シリンダ部の深さ方向において、前記シリンダ部の深さ寸法の40%未満となる位置よりも浅い位置に、配置される。
【発明の効果】
【0007】
本開示によれば、フリクションを低減できるシリンダボアを容易に形成できるシリンダブロック、エンジン、及び車両の提供が可能となる。
【図面の簡単な説明】
【0008】
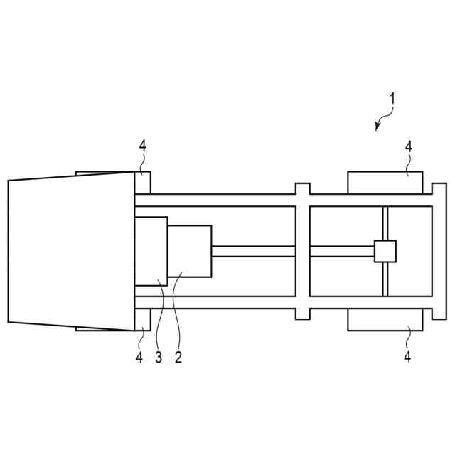
本発明の第1実施形態に係る車両を示す説明図。
本発明の第1実施形態に係るエンジンの概略構成を示す説明図。
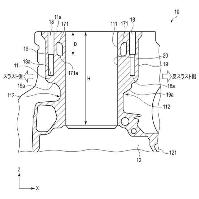
本発明の第1実施形態に係るシリンダブロックの断面図。
本発明の第1実施形態に係るシリンダブロックの平面図。
実施例1及び比較例1にかかるシリンダボアの実働時に起こる変形のシミュレーション結果を示す三次元グラフ。
実施例1及び比較例1にかかるシリンダボアの実働時に起こる変形のシミュレーション結果を示す三次元グラフ。
実施例1及び比較例1にかかるシリンダボアの実働時の形状を示すグラフ。
実施例1及び比較例1にかかるシリンダボアの実働時の形状を示す説明図。
実施例1及び比較例1のシリンダボアとピストンスカートの摺動によるFMEP(Friction Mean Effective Pressure)を示すグラフ。
実施例1及び比較例1に係るシリンダブロックの騒音特性を示すグラフ。
実施例2に係るシリンダブロックの形状と実働時の変形を示す説明図。
比較例2に係るシリンダブロックの形状と実働時の変形を示す説明図。
比較例1に係るシリンダブロックの実働時に起こる変形のシミュレーション結果を示す三次元グラフ。
【発明を実施するための形態】
【0009】
以下、本開示の一実施形態に係る車両1、シリンダ部材としてのシリンダブロック10の構成について図面を参照しながら説明する。図1は、本開示の一実施形態に係る車両を示す説明図であり、図2はエンジンの概略構成を示す説明図である。図3及び図4はシリンダブロックの断面図及び平面図である。図中X、Y、Zは互いに直交または交差する3方向をそれぞれ示す。なお、各図において説明のため、適宜構成を拡大、縮小または省略して示している。本実施形態において、ピストン13の往復動の方向に沿う第1方向がZ軸、シリンダの並列方向となる第2方向がY軸、スラスト及び反スラスト側に沿う第3方向がX軸にそれぞれ沿う姿勢でシリンダブロック10が配置された例を示す。
【0010】
図1に示すように、車両1は、エンジン2と、トランスミッション3と、例えば4つ以上の車輪4と、を備える。車両1は、車両1のエンジン2のピストン13を駆動させると、トランスミッション3を介して車輪4に駆動力が伝達される。
(【0011】以降は省略されています)
この特許をJ-PlatPat(特許庁公式サイト)で参照する
関連特許
いすゞ自動車株式会社
出力システム
5日前
いすゞ自動車株式会社
ピストン、エンジン、及び車両
1日前
株式会社ニフコ
車載機器用保持装置
13日前
いすゞ自動車株式会社
シリンダブロック、エンジン、及び車両
1日前
いすゞ自動車株式会社
詰まり判定装置及び詰まり判定システム
5日前
いすゞ自動車株式会社
詰まり判定装置及び詰まり判定システム
5日前
個人
バンケル型内燃機関の改良
8日前
スズキ株式会社
車両の制御装置
5日前
本田技研工業株式会社
車両
12日前
本田技研工業株式会社
車両
12日前
トヨタ自動車株式会社
電磁弁
8日前
本田技研工業株式会社
内燃機関
12日前
株式会社クボタ
作業車両
13日前
本田技研工業株式会社
内燃機関
13日前
個人
流体式推力方向制御装置
23日前
本田技研工業株式会社
始動制御装置
12日前
本田技研工業株式会社
始動制御装置
12日前
トヨタ自動車株式会社
閾値の設定装置
23日前
トヨタ自動車株式会社
電磁弁の制御装置
8日前
トヨタ自動車株式会社
エンジン制御装置
19日前
株式会社デンソートリム
エンジン制御装置
19日前
日産自動車株式会社
内燃機関
19日前
本田技研工業株式会社
可変ファンネル装置
12日前
日産自動車株式会社
内燃機関
19日前
大阪瓦斯株式会社
エンジンシステム
12日前
トヨタ自動車株式会社
V型8気筒エンジン
8日前
本田技研工業株式会社
内燃機関の吸気構造
13日前
マツダ株式会社
エンジン
13日前
トヨタ自動車株式会社
インジェクタの制御装置
21日前
株式会社SUBARU
車両
8日前
トヨタ自動車株式会社
内燃機関の燃料供給装置
19日前
トヨタ自動車株式会社
エンジン制御装置
23日前
トヨタ自動車株式会社
内燃機関の燃料供給装置
23日前
ヤンマーホールディングス株式会社
エンジン装置
21日前
本田技研工業株式会社
内燃機関の制御装置
13日前
三菱重工業株式会社
動力装置
1日前
続きを見る
他の特許を見る