TOP
|
特許
|
意匠
|
商標
特許ウォッチ
Twitter
他の特許を見る
10個以上の画像は省略されています。
公開番号
2025159616
公報種別
公開特許公報(A)
公開日
2025-10-21
出願番号
2024062328
出願日
2024-04-08
発明の名称
ピストン、エンジン、及び車両
出願人
いすゞ自動車株式会社
代理人
弁理士法人鈴榮特許綜合事務所
主分類
F02F
3/00 20060101AFI20251014BHJP(燃焼機関;熱ガスまたは燃焼生成物を利用する機関設備)
要約
【課題】ピストンの騒音を抑制するとともにフリクションを改善できる、ピストン、エンジン、及び車両の提供。
【解決手段】本開示の一実施形態にかかるピストンは、シリンダ内に配されるピストンであって、第1方向の一端側における外周面が、反スラスト側よりもスラスト側に大きく張り出す外面形状を有する。
【選択図】図3
特許請求の範囲
【請求項1】
シリンダ内に配されるピストンであって、
第1方向の一端側における外周面が、反スラスト側よりもスラスト側に大きく張り出す外面形状を有する、ピストン。
続きを表示(約 220 文字)
【請求項2】
請求項1に記載の複数のピストンと、
前記ピストンが配される複数のシリンダ部が形成されるシリンダブロックと、
を備える、エンジン。
【請求項3】
前記シリンダ部は複数並んで形成され、
複数の前記シリンダ部が並ぶ方向と交差する方向の一方側が前記スラスト側、他方側が前記反スラスト側である、請求項2に記載のエンジン。
【請求項4】
請求項3に記載のエンジンを備える、車両。
発明の詳細な説明
【技術分野】
【0001】
本開示は、ピストン、エンジン、及び車両に関する。
続きを表示(約 1,800 文字)
【背景技術】
【0002】
自動車やトラックなどの車両に用いられるエンジンにおいてシリンダブロック等のシリンダ部に形成されるシリンダボアは、ヘッドボルトの締付や熱負荷により大きく変形する。この変形により、シリンダ部内に配されるピストンとのフリクションロスが増大し、燃費の悪化を招くことがある。
【先行技術文献】
【特許文献】
【0003】
特開2018-145861号公報
【発明の概要】
【発明が解決しようとする課題】
【0004】
一般的に、ピストンのスカートのプロファイルはスラスト側と反スラスト側で対称な形状となっている。ピストンの上昇行程ではピストンの姿勢の影響により反スラスト側に油膜が形成されづらく、下降行程よりも上昇工程の方がピストンスカートに生じる摩擦損失が大きくなる。そのため、摩擦損失の増大を回避すべくピストンスカートの上部のプロファイルを内側に入れ、径を小さくすると、ピストンの二次運動が増大し、スラップによる騒音性能が悪化する。
【0005】
本開示は、上記の課題に鑑みてなされたものであり、ピストンの騒音を抑制するとともにフリクションを改善できる、ピストン、エンジン、及び車両の提供を目的とする。
【課題を解決するための手段】
【0006】
本開示の一実施形態にかかるピストンは、シリンダ内に配されるピストンであって、第1方向の一端側における外周面が、前記第1方向から見て、反スラスト側よりもスラスト側に大きく張り出す外面形状を有する。
【発明の効果】
【0007】
本開示によれば、ピストンの騒音を抑制するとともにフリクションを改善できる、ピストン、エンジン、及び車両の提供が可能となる。
【図面の簡単な説明】
【0008】
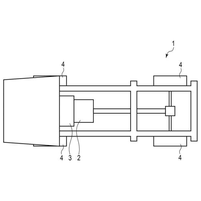
本発明の第1実施形態に係る車両を示す説明図。
本発明の第1実施形態に係るエンジンの概略構成を示す説明図。
本発明の第1実施形態に係るピストンの形状を示す説明図。
本発明の第1実施形態と比較例のピストンスカートのプロファイルを示すグラフ。
比較例にかかるピストンスカートの摩擦損失のシミュレーション結果を示すグラフ。
比較例にかかるピストンスカートの油膜の状態を示す説明図。
比較例にかかるピストンのクランク角とスカート上で摺動により高い剪断応力が作用する面積の関係のシミュレーション結果を示すグラフ。
実施形態にかかるピストンの熱膨張時の首振り動作と油膜の関係を示す説明図。
実施形態にかかるピストンスカートの摩擦損失のシミュレーション結果を示すグラフ。
実施形態にかかるピストンスカートの油膜の状態を示す説明図。
実施形態及び比較例のシリンダボアとピストンスカートの摺動によるFMEP(Friction Mean Effective Pressure)を示すグラフ。
実施形態及び比較例に係るシリンダブロックの騒音特性を示すグラフ。
【発明を実施するための形態】
【0009】
以下、本開示の一実施形態に係る車両1、エンジン2及びピストン13の構成について図面を参照しながら説明する。図1は、本開示の一実施形態に係る車両を示す説明図であり、図2はエンジンの概略構成を示す説明図である。図3は本実施形態のピストンの形状を示す説明図であり、図4は本実施形態と比較例のピストンスカートのプロファイルを示すグラフである。図中X、Y、Zは互いに直交または交差する3方向をそれぞれ示す。なお、各図において説明のため、適宜構成を拡大、縮小または省略して示している。本実施形態において、ピストン13の往復動の方向に沿う第1方向がZ軸、シリンダ部11の並列方向となる第2方向がY軸、スラスト及び反スラスト側に沿う第3方向がX軸にそれぞれ沿って配置される例を示す。
【0010】
図1に示すように、車両1は、エンジン2と、トランスミッション3と、例えば4つ以上の車輪4と、を備える。車両1は、車両1のエンジン2のピストン13を駆動させると、トランスミッション3を介して車輪4に駆動力が伝達される。
(【0011】以降は省略されています)
この特許をJ-PlatPat(特許庁公式サイト)で参照する
関連特許
いすゞ自動車株式会社
出力システム
5日前
いすゞ自動車株式会社
ピストン、エンジン、及び車両
1日前
株式会社ニフコ
車載機器用保持装置
13日前
いすゞ自動車株式会社
シリンダブロック、エンジン、及び車両
1日前
いすゞ自動車株式会社
詰まり判定装置及び詰まり判定システム
5日前
いすゞ自動車株式会社
詰まり判定装置及び詰まり判定システム
5日前
個人
バンケル型内燃機関の改良
8日前
スズキ株式会社
車両の制御装置
5日前
本田技研工業株式会社
車両
12日前
本田技研工業株式会社
車両
12日前
トヨタ自動車株式会社
電磁弁
8日前
株式会社クボタ
作業車両
13日前
本田技研工業株式会社
内燃機関
13日前
本田技研工業株式会社
内燃機関
12日前
本田技研工業株式会社
始動制御装置
12日前
本田技研工業株式会社
始動制御装置
12日前
トヨタ自動車株式会社
エンジン制御装置
19日前
トヨタ自動車株式会社
電磁弁の制御装置
8日前
株式会社デンソートリム
エンジン制御装置
19日前
大阪瓦斯株式会社
エンジンシステム
12日前
本田技研工業株式会社
内燃機関の吸気構造
13日前
本田技研工業株式会社
可変ファンネル装置
12日前
日産自動車株式会社
内燃機関
19日前
トヨタ自動車株式会社
V型8気筒エンジン
8日前
日産自動車株式会社
内燃機関
19日前
マツダ株式会社
エンジン
13日前
株式会社SUBARU
車両
8日前
トヨタ自動車株式会社
内燃機関の燃料供給装置
19日前
本田技研工業株式会社
内燃機関の制御装置
13日前
三菱重工業株式会社
動力装置
1日前
本田技研工業株式会社
内燃機関の制御装置
13日前
愛三工業株式会社
燃料供給装置
13日前
三菱重工業株式会社
ガスタービン制御方法
5日前
マツダ株式会社
エンジンの制御装置
13日前
三菱自動車工業株式会社
内燃機関
13日前
三菱自動車工業株式会社
内燃機関
13日前
続きを見る
他の特許を見る