TOP
|
特許
|
意匠
|
商標
特許ウォッチ
Twitter
他の特許を見る
公開番号
2025159643
公報種別
公開特許公報(A)
公開日
2025-10-21
出願番号
2024062372
出願日
2024-04-08
発明の名称
圧縮機、冷凍装置、及び圧縮機の組立方法
出願人
ダイキン工業株式会社
代理人
弁理士法人新樹グローバル・アイピー
主分類
F04B
39/12 20060101AFI20251014BHJP(液体用容積形機械;液体または圧縮性流体用ポンプ)
要約
【課題】ケーシングの胴部と蓋部との溶接時に発生する引張応力によって、胴部及び蓋部が特定の方向に引っ張られ、組立後の寸法のバラツキが発生する可能性がある。
【解決手段】スクロール圧縮機101のケーシング10は、胴部11と下側蓋部13と溶接部14とを有する。胴部11は、第1端面11aと切り欠き部21と切り欠き端面21aと第1端部11dとを有する。切り欠き部21は、第1端面11aの外周側に形成される。切り欠き端面21aは、切り欠き部21の内側の面である。下側蓋部13は、傾斜面13b2と第3端面13aとを有する。傾斜面13b2は、軸方向に対して傾斜する内周側の面である。第1端部11dは、傾斜面13b2と接触する。切り欠き端面21aは、第3端面13aと接触する。第3端面13aの外周縁は、切り欠き端面21aの外周縁よりも、外周側に位置する。溶接部14は、胴部11の外周面と第3端面13aとを接合する。
【選択図】図4
特許請求の範囲
【請求項1】
冷媒を圧縮する圧縮機構(15)と、
前記圧縮機構を駆動するモータ(16)と、
前記圧縮機構及び前記モータを収容するケーシング(10)と、
を備え、
前記ケーシングは、
円筒形状を有する胴部(11)と、
円蓋形状を有する蓋部(13)と、
前記胴部と前記蓋部とを接合する溶接部(14)と、
を有し、
前記胴部は、
前記円筒形状の軸方向の第1端面(11a)と、
前記第1端面の外周側に形成される切り欠き部(21)と、
前記切り欠き部の内側の面であって、前記円筒形状の径方向に沿う第2端面(21a)と、
前記軸方向において前記第1端面から前記第2端面までの第1端部(11d)と、
を有し、
前記蓋部は、
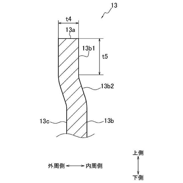
前記軸方向に対して傾斜する内周側の面である第1側面(13b2)と、
前記径方向に沿う第3端面(13a)と、
を有し、
前記第1端部は、前記第1側面と接触し、
前記第2端面は、前記第3端面と接触し、
前記第3端面の外周縁は、前記第2端面の外周縁よりも、外周側に位置し、
前記溶接部は、前記胴部の外周面と、前記第3端面と、を接合する、
圧縮機(101)。
続きを表示(約 710 文字)
【請求項2】
前記第1端部の前記軸方向の寸法と、前記第1端部の前記径方向の寸法と、の比は、3:2乃至10:1である、
請求項1に記載の圧縮機。
【請求項3】
前記胴部は、前記軸方向の両側に形成される前記切り欠き部を有する、
請求項1又は2に記載の圧縮機。
【請求項4】
前記第1端部は、前記第1側面に沿う部分を有する、
請求項1又は2に記載の圧縮機。
【請求項5】
前記第1端部は、前記第1側面と接触する角部(11e)を有し、
前記角部は、面取りされる、
請求項1又は2に記載の圧縮機。
【請求項6】
前記蓋部は、前記軸方向において前記第3端面と前記第1側面との間に位置する内周側の面であって、前記切り欠き部の内側の面と対向する第2側面(13b1)を有する、
請求項1又は2に記載の圧縮機。
【請求項7】
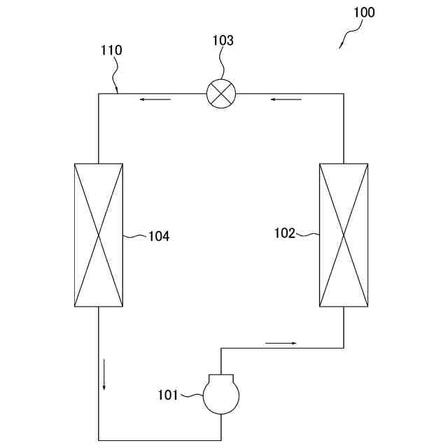
請求項1又は2に記載の圧縮機(101)と、
前記圧縮機で圧縮された冷媒が流れる冷媒回路(110)と、
を備える、
冷凍装置(100)。
【請求項8】
請求項1又は2に記載の圧縮機の組立方法であって、
前記胴部の前記第2端面と、前記蓋部の前記第3端面と、が接触し、かつ、前記胴部の前記第1端部と、前記蓋部の前記第1側面と、が接触するように、前記胴部及び前記蓋部の位置決めをする工程と、
前記胴部の外周面と、前記蓋部の前記第3端面と、を溶接により接合して前記溶接部を形成する工程と、
を含む、
圧縮機の組立方法。
発明の詳細な説明
【技術分野】
【0001】
圧縮機、冷凍装置、及び圧縮機の組立方法に関する。
続きを表示(約 1,600 文字)
【背景技術】
【0002】
従来、円筒形状の胴部と、円蓋形状の蓋部と、を溶接して形成されるケーシングを備える密閉型圧縮機が知られている。例えば、特許文献1(国際公開第2018/138772号)に開示される圧縮機では、蓋部の縁部の内周側に形成される切り欠き部の段差面に胴部の端面を接触させて、胴部の外周面と、蓋部の端面と、を溶接することでケーシングが形成される。この場合、溶接時に溶接部に発生する引張応力によって、胴部及び蓋部が溶接部に向かって引っ張られる。
【発明の概要】
【発明が解決しようとする課題】
【0003】
上記のような圧縮機の組立時において、溶接前の胴部と蓋部との間には、径方向において所定の隙間が形成される必要がある。しかし、溶接部に発生する引張応力によって、胴部及び蓋部が特定の方向に引っ張られると、組立後の胴部が傾いたり、組立後の寸法のバラツキが発生したりする可能性がある。また、バラツキを抑制するために溶接前の隙間を小さく設計すると、高い寸法精度が必要となりコストが増加する可能性がある。
【課題を解決するための手段】
【0004】
第1観点の圧縮機は、圧縮機構と、モータと、ケーシングと、を備える。圧縮機構は、冷媒を圧縮する。モータは、圧縮機構を駆動する。ケーシングは、圧縮機構及びモータを収容する。ケーシングは、胴部と、蓋部と、溶接部と、を有する。胴部は、円筒形状を有する。蓋部は、円蓋形状を有する。溶接部は、胴部と蓋部とを接合する。胴部は、第1端面と、切り欠き部と、第2端面と、第1端部と、を有する。第1端面は、胴部の円筒形状の軸方向の端面である。切り欠き部は、第1端面の外周側に形成される。第2端面は、切り欠き部の内側の面であって、円筒形状の径方向に沿う端面である。第1端部は、軸方向において第1端面から第2端面までの部分である。蓋部は、第1側面と、第3端面と、を有する。第1側面は、軸方向に対して傾斜する内周側の面である。第3端面は、径方向に沿う端面である。第1端部は、第1側面と接触する。第2端面は、第3端面と接触する。第3端面の外周縁は、第2端面の外周縁よりも、外周側に位置する。溶接部は、胴部の外周面と、第3端面と、を接合する。
【0005】
第1観点の圧縮機では、ケーシングの胴部及び蓋部は、溶接時に、胴部の端面(第2端面)と蓋部の端面(第3端面)との接触によって軸方向に位置決めされ、胴部の端部(第1端部)と蓋部の内側傾斜面(第1側面)との接触によって径方向に位置決めされる。これにより、組立後の圧縮機の寸法のバラツキが抑えられる。
【0006】
第2観点の圧縮機は、第1観点の圧縮機であって、第1端部の軸方向の寸法と、第1端部の径方向の寸法と、の比は、3:2乃至10:1である。
【0007】
第2観点の圧縮機では、胴部の端部(第1端部)の軸方向の寸法が径方向の寸法に比べて十分長い。そのため、胴部の端部(第1端部)と蓋部の内側傾斜面(第1側面)とが溶接時に接触する際に、胴部の端部(第1端部)は容易に変形できる。これにより、組立後の圧縮機の径方向寸法のバラツキが抑えられる。
【0008】
第3観点の圧縮機は、第1観点又は第2観点の圧縮機であって、胴部は、軸方向の両側に形成される切り欠き部を有する。
【0009】
第4観点の圧縮機は、第1乃至第3観点のいずれか1つの圧縮機であって、第1端部は、第1側面に沿う部分を有する。
【0010】
第4観点の圧縮機では、胴部の端部(第1端部)と蓋部の内側傾斜面(第1側面)とが溶接時に接触する際に、胴部の端部(第1端部)は、蓋部の内側傾斜面(第1側面)に沿って容易に変形できる。これにより、組立後の圧縮機の径方向寸法のバラツキが抑えられる。
(【0011】以降は省略されています)
この特許をJ-PlatPat(特許庁公式サイト)で参照する
関連特許
ダイキン工業株式会社
圧縮機及び冷凍装置
9日前
ダイキン工業株式会社
インバータ制御装置
9日前
ダイキン工業株式会社
正極合剤、正極および二次電池
今日
ダイキン工業株式会社
圧縮機、および冷凍サイクル装置
6日前
ダイキン工業株式会社
圧縮機、および冷凍サイクル装置
6日前
ダイキン工業株式会社
圧縮機、冷凍装置、及び圧縮機の組立方法
2日前
ダイキン工業株式会社
粒子、組成物、成形体、及び、粒子の製造方法
9日前
ダイキン工業株式会社
空調機
9日前
ダイキン工業株式会社
硬化性エポキシ樹脂組成物、硬化物及び硬化物の製造方法
9日前
ダイキン工業株式会社
シラン化合物
6日前
ダイキン工業株式会社
ノイズ抑制回路、空気調和機
9日前
ダイキン工業株式会社
制御システムおよび冷凍システム
9日前
ダイキン工業株式会社
虫駆除システム、および空気処理装置
9日前
個人
海流製造装置。
1か月前
株式会社スギノマシン
圧縮機
14日前
株式会社ツインバード
送風装置
1か月前
ダイニチ工業株式会社
空調装置
4か月前
株式会社ツインバード
送風装置
1か月前
カヤバ株式会社
電動ポンプ
2か月前
日機装株式会社
遠心ポンプ
6日前
株式会社不二越
蓄圧装置
2か月前
ビッグボーン株式会社
送風装置
1か月前
株式会社ノーリツ
ロータリ圧縮機
1か月前
個人
携帯型扇風機用の送風ノズル
4か月前
株式会社酉島製作所
ポンプ
3か月前
株式会社酉島製作所
ポンプ
5か月前
株式会社ニクニ
液封式ポンプ装置
4か月前
樫山工業株式会社
真空ポンプ
15日前
株式会社不二越
油圧ユニット
4か月前
サンデン株式会社
スクロール圧縮機
20日前
株式会社不二越
ベーンポンプ
2か月前
サンデン株式会社
スクロール圧縮機
20日前
小倉クラッチ株式会社
ルーツブロア
2か月前
株式会社ノーリツ
ロータリー圧縮機
3か月前
株式会社坂製作所
スクロール圧縮機
3か月前
サンデン株式会社
スクロール圧縮機
20日前
続きを見る
他の特許を見る