TOP
|
特許
|
意匠
|
商標
特許ウォッチ
Twitter
他の特許を見る
10個以上の画像は省略されています。
公開番号
2025158801
公報種別
公開特許公報(A)
公開日
2025-10-17
出願番号
2024061687
出願日
2024-04-05
発明の名称
圧縮機、および冷凍サイクル装置
出願人
ダイキン工業株式会社
代理人
弁理士法人新樹グローバル・アイピー
主分類
F04C
23/02 20060101AFI20251009BHJP(液体用容積形機械;液体または圧縮性流体用ポンプ)
要約
【課題】省エネのため、マグネットプルフォースを発生させるための電力は、できる限り削減することが望ましい。
【解決手段】圧縮機は、モータと、圧縮機構と、を備える。圧縮機構は、モータに固定されたシャフトを介して駆動される。モータは、固定子と、回転子124と、第1バランスウェイトBW1と、第2バランスウェイトと、を有する。回転子124は、固定子の径方向内側に配置される。第1バランスウェイトBW1は、回転子124の圧縮機構側の第1面81に配置される。第2バランスウェイトは、回転子124の圧縮機構とは反対側の第2面に配置される。第1バランスウェイトBW1は、回転子124が回転する際、冷媒の流れを利用して、回転子124に作用する回転軸A1の方向の力F2を発生させる形状を有する。
【選択図】図4
特許請求の範囲
【請求項1】
モータ(120)と、
前記モータに固定されたシャフト(140)を介して駆動される圧縮機構(130)と、
を備え、
前記モータは、
円筒状の固定子(122)と、
前記固定子の径方向内側に配置され、冷媒中を回転する、円筒状の回転子(124)と、
前記回転子の前記圧縮機構側の第1面(81)に配置される第1バランスウェイト(BW1)、または前記回転子の前記圧縮機構とは反対側の第2面(82)に配置される第2バランスウェイト(BW2)と、
を有し、
前記第1バランスウェイトまたは前記第2バランスウェイトは、前記回転子が回転する際、冷媒の流れを利用して、前記回転子に作用する回転軸(A1)の方向の力(F2,F3)を発生させる形状を有する、
圧縮機(100)。
続きを表示(約 1,200 文字)
【請求項2】
前記回転子は、前記回転子の内部を前記回転軸の方向に貫通する、第1冷媒流路(91)を有し、
前記第1バランスウェイトは、前記回転子が回転する際、衝突する冷媒を前記第1冷媒流路に誘導する形状を有する、
請求項1に記載の圧縮機(100)。
【請求項3】
前記第1バランスウェイトは、前記第1面に接合され、
前記第1バランスウェイトは、前記第1面の円周に沿った円弧上の形状を有し、
前記第1バランスウェイトの回転方向の前側の第3面(83)は、前記回転子の径方向に沿って見たときに、前記回転子の前記回転軸を含み前記回転子の径方向に延びる第1平面(P1)に対して、前記第1冷媒流路に向けて、前記回転子の逆回転方向に傾斜している、
請求項2に記載の圧縮機(100)。
【請求項4】
前記第1バランスウェイトは、前記第1面に接合され、
前記第1バランスウェイトは、前記第1面の円周に沿った円弧上の形状を有し、
前記第1バランスウェイトは、前記第1バランスウェイトの回転方向の前側の第3面(83)と、前記第1冷媒流路とを結ぶ、第2冷媒流路(92)を有する、
請求項2に記載の圧縮機(100)。
【請求項5】
前記第2冷媒流路は、前記第1バランスウェイトの内部を貫通する、
請求項4に記載の圧縮機(100)。
【請求項6】
前記第3面における前記第2冷媒流路の開口面積(S3)は、前記第1冷媒流路の断面積(S4)よりも大きい、
請求項5に記載の圧縮機(100)。
【請求項7】
前記第2冷媒流路は、前記第1面側が開口しているトンネル状の形状を有する、
請求項4に記載の圧縮機(100)。
【請求項8】
前記第1バランスウェイトは、支柱(99)を介して、前記第1面に設けられ、
前記第1バランスウェイトは、前記第1面の円周に沿った円弧上の形状を有し、
前記回転子の回転方向の断面における前記第1バランスウェイトの形状は、前記回転子に作用する前記回転軸の方向の揚力(F2)を発生させる翼型である、
請求項1に記載の圧縮機(100)。
【請求項9】
前記第2バランスウェイトは、支柱(98)を介して、前記第2面に設けられ、
前記第2バランスウェイトは、前記第2面の円周に沿った円弧上の形状を有し、
前記回転子の回転方向の断面における前記第2バランスウェイトの形状は、前記回転子に作用する前記回転軸の方向の揚力(F3)を発生させる翼型である、
請求項1から8のいずれか1つに記載の圧縮機(100)。
【請求項10】
請求項1から8のいずれか1つに記載の圧縮機(100)を有する冷媒回路(10)、
を備える、
冷凍サイクル装置(1)。
発明の詳細な説明
【技術分野】
【0001】
圧縮機、および冷凍サイクル装置に関する。
続きを表示(約 1,400 文字)
【背景技術】
【0002】
特許文献1(特開平11-093874号公報)に示されるように、回転子に、回転子の回転軸の方向のマグネットプルフォースを作用させて、回転子の回転を安定させる技術がある。
【発明の概要】
【発明が解決しようとする課題】
【0003】
省エネのため、マグネットプルフォースを発生させるための電力は、できる限り削減することが望ましい。
【課題を解決するための手段】
【0004】
第1観点の圧縮機は、モータと、圧縮機構と、を備える。圧縮機構は、モータに固定されたシャフトを介して駆動される。モータは、固定子と、回転子と、を有する。モータは、第1バランスウェイトまたは第2バランスウェイトを有する。言い換えると、モータは、第1バランスウェイトと第2バランスウェイトとの内のいずれか一方のみを有するか、第1バランスウェイトと第2バランスウェイトの両方を有するか、のいずれかである。固定子は、円筒状である。回転子は、固定子の径方向内側に配置される。回転子は、冷媒中を回転する。回転子は、円筒状である。第1バランスウェイトは、回転子の圧縮機構側の第1面に配置される。第2バランスウェイトは、回転子の圧縮機構とは反対側の第2面に配置される。第1バランスウェイトまたは第2バランスウェイトは、回転子が回転する際、冷媒の流れを利用して、回転子に作用する回転軸の方向の力を発生させる形状を有する。
【0005】
第1観点の圧縮機は、発生させた回転子の回転軸の方向の力を用いて、マグネットプルフォースを補助することにより、マグネットプルフォースを発生させるための電力を削減することができる。
【0006】
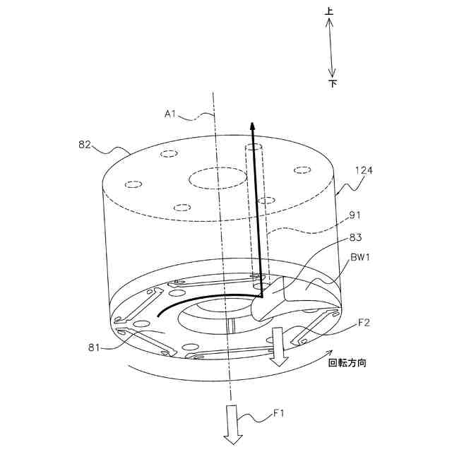
第2観点の圧縮機は、第1観点の圧縮機であって、回転子は、第1冷媒流路を有する。第1冷媒流路は、回転子の内部を回転軸の方向に貫通する。第1バランスウェイトは、回転子が回転する際、衝突する冷媒を第1冷媒流路に誘導する形状を有する。
【0007】
第2観点の圧縮機は、第1バランスウェイトに衝突する冷媒を第1冷媒流路に誘導する(回転子の回転軸の方向に押し出す)ことによる反作用により、回転子に作用する回転軸の方向の力を発生させることができる。
【0008】
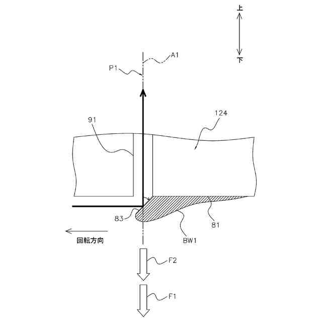
第3観点の圧縮機は、第2観点の圧縮機であって、第1バランスウェイトは、第1面に接合される。第1バランスウェイトは、第1面の円周に沿った円弧上の形状を有する。第1バランスウェイトの回転方向の前側の第3面は、回転子の径方向に沿って見たときに、回転子の回転軸を含み回転子の径方向に延びる第1平面に対して、第1冷媒流路に向けて、回転子の逆回転方向に傾斜している。
【0009】
第3観点の圧縮機は、このような構成により、第1バランスウェイトの第3面に衝突する冷媒を、第1冷媒流路に誘導することができる。
【0010】
第4観点の圧縮機は、第2観点の圧縮機であって、第1バランスウェイトは、第1面に接合される。第1バランスウェイトは、第1面の円周に沿った円弧上の形状を有する。第1バランスウェイトは、第2冷媒流路を有する。第2冷媒流路は、第1バランスウェイトの回転方向の前側の第3面と、第1冷媒流路とを結ぶ。
(【0011】以降は省略されています)
この特許をJ-PlatPat(特許庁公式サイト)で参照する
関連特許
個人
海流製造装置。
1か月前
株式会社スギノマシン
圧縮機
14日前
株式会社ツインバード
送風装置
1か月前
株式会社ツインバード
送風装置
1か月前
カヤバ株式会社
電動ポンプ
2か月前
日機装株式会社
遠心ポンプ
6日前
ビッグボーン株式会社
送風装置
1か月前
株式会社不二越
蓄圧装置
2か月前
株式会社酉島製作所
ポンプ
3か月前
株式会社ノーリツ
ロータリ圧縮機
1か月前
樫山工業株式会社
真空ポンプ
15日前
株式会社不二越
ベーンポンプ
2か月前
サンデン株式会社
スクロール圧縮機
20日前
小倉クラッチ株式会社
ルーツブロア
2か月前
サンデン株式会社
スクロール圧縮機
20日前
株式会社ノーリツ
ロータリー圧縮機
3か月前
株式会社坂製作所
スクロール圧縮機
3か月前
サンデン株式会社
スクロール圧縮機
20日前
株式会社アイシン
ポンプケース
27日前
株式会社チロル
送風機、送風機付衣服
1か月前
株式会社島津製作所
真空ポンプ
1か月前
株式会社島津製作所
真空ポンプ
1か月前
エドワーズ株式会社
真空ポンプ
28日前
株式会社豊田自動織機
流体機械
1か月前
株式会社豊田自動織機
電動圧縮機
2か月前
株式会社豊田自動織機
電動圧縮機
1か月前
株式会社豊田自動織機
電動圧縮機
2か月前
株式会社豊田自動織機
電動圧縮機
2か月前
已久工業股ふん有限公司
空気圧縮機構造
2か月前
株式会社豊田自動織機
電動圧縮機
1か月前
株式会社豊田自動織機
電動圧縮機
1か月前
株式会社豊田自動織機
電動圧縮機
1か月前
NTN株式会社
電動オイルポンプ
21日前
株式会社豊田自動織機
電動圧縮機
2か月前
株式会社ナノバブル研究所
気液駆動装置
28日前
株式会社豊田自動織機
電動圧縮機
3か月前
続きを見る
他の特許を見る