TOP
|
特許
|
意匠
|
商標
特許ウォッチ
Twitter
他の特許を見る
公開番号
2025159806
公報種別
公開特許公報(A)
公開日
2025-10-22
出願番号
2024062579
出願日
2024-04-09
発明の名称
乾式メタン発酵システムおよび乾式メタン発酵方法
出願人
株式会社エネアグリ
代理人
個人
主分類
B09B
3/65 20220101AFI20251015BHJP(固体廃棄物の処理;汚染土壌の再生)
要約
【課題】
効率よくメタン発酵を行うことが可能な乾式メタン発酵システムおよび乾式メタン発酵方法を提供する。
【解決手段】
乾式メタン発酵システムは、有機系資源を酸生成菌の存在下で発酵させて、前記有機系資源の一次発酵物と、水素および二酸化炭素を含む気体とを生成させる酸生成発酵槽と、前記酸生成発酵槽において生じた前記気体を収容し、水素資化性メタン生成菌により発酵させる水素資化性発酵槽と、前記一次発酵物を収容し乾式メタン発酵を行うための乾式メタン発酵槽と、を備える。
【選択図】 図2
特許請求の範囲
【請求項1】
有機系資源を酸生成菌の存在下で発酵させて、前記有機系資源の一次発酵物と、水素および二酸化炭素を含む気体とを生成させる酸生成発酵槽と、
前記酸生成発酵槽において生じた前記気体を収容し、水素資化性メタン生成菌により発酵させる水素資化性発酵槽と、
前記一次発酵物を収容し乾式メタン発酵を行うための乾式メタン発酵槽と、を備える、乾式メタン発酵システム。
続きを表示(約 1,100 文字)
【請求項2】
前記水素資化性発酵槽は、多孔質無機培地を含む、請求項1に記載の乾式メタン発酵システム。
【請求項3】
前記多孔質無機培地は、多孔質無機粒状物を含む、請求項2に記載の乾式メタン発酵システム。
【請求項4】
前記多孔質無機粒状物は、ガラス発泡体粒状物、ゼオライト粒状物、セラミックス粒状物および活性炭からなる群から選択される1種以上を含む、請求項3に記載の乾式メタン発酵システム。
【請求項5】
さらに、前記有機系資源を混錬および爆砕して、有機系資源粉砕物を製造する混錬爆砕機を備え、
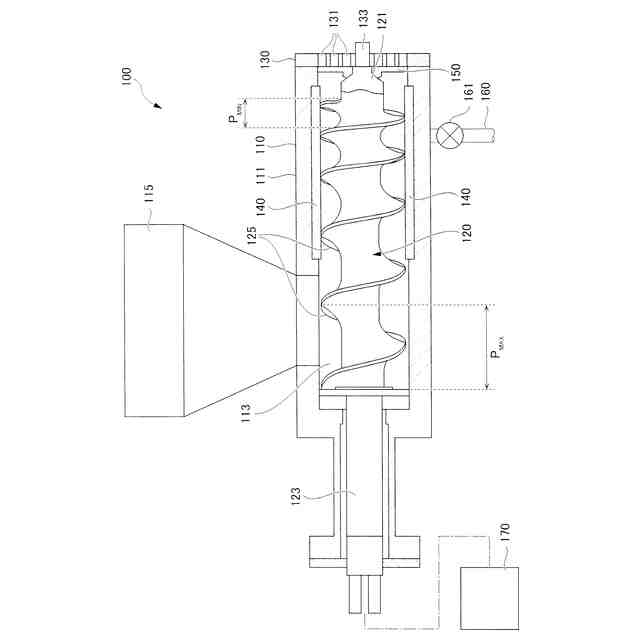
前記混錬爆砕機は、円筒状の空間を有する筐体と、前記空間内に配置されたアルキメディアン・スクリューとを有し、
前記筐体は、前記空間の一方の円筒端部側にある前記有機系資源を投入する投入口と、前記空間の他方の円筒端部側にある有機系資源粉砕物を取り出す取出口とを有し、
前記アルキメディアン・スクリューはそのピッチが前記投入口から前記取出口へ向けて漸減している、請求項1に記載の乾式メタン発酵システム。
【請求項6】
前記アルキメディアン・スクリューの最も前記取出口側のピッチは、前記投入口側のピッチの5.0%以上70%以下である、請求項5に記載の乾式メタン発酵システム。
【請求項7】
前記混錬爆砕機は、取出口付近の前記有機系資源に2.5×10
5
N/m
2
以上14.0×10
5
N/m
2
以下の圧力が負荷されるように前記アルキメディアン・スクリューの前記ピッチが調整されている、請求項5に記載の乾式メタン発酵システム。
【請求項8】
さらに、前記混錬爆砕機において前記有機系資源から生じた気体および液体について酢酸資化性メタン生成菌により酢酸を含む発酵物を生成させる酢酸資化性発酵槽を備え、
前記酢酸を含む発酵物は、前記乾式メタン発酵槽において乾式メタン発酵に供される、請求項5に記載の乾式メタン発酵システム。
【請求項9】
複数のバッチ式の前記乾式メタン発酵槽を備える、請求項1に記載の乾式メタン発酵システム。
【請求項10】
有機系資源を酸生成菌の存在下で発酵させて、前記有機系資源の一次発酵物と、水素および二酸化炭素を含む気体とを生成させる第1の工程と、
前記第1の工程において生じた前記気体を収容し、水素資化性メタン生成菌により発酵させる第2の工程と、
前記一次発酵物を収容し乾式メタン発酵を行う第3の工程と、を含む、乾式メタン発酵方法。
発明の詳細な説明
【技術分野】
【0001】
本発明は、乾式メタン発酵システムおよび乾式メタン発酵方法に関する。
続きを表示(約 1,400 文字)
【背景技術】
【0002】
限りある資源を有効に活用し、豊かな社会を創生するために、地球温暖化防止やエネルギーの安定供給等の多くの社会問題の解決方法が検討されている。これらの社会問題の中でも、近年、廃棄物の処理は解決すべき重要なテーマの一つである。食品廃棄物や農林水産物、家畜排泄物等の有機廃棄物は年間2億トンを超えており、埋設する場合には広大な敷地を要し、焼却する場合にも莫大な処分費用を要する。
【0003】
メタン発酵技術は、有機物についてメタン菌を利用してメタン、水素等の有用な気体を含むバイオガスを製造する技術である。メタンや水素は燃焼させることによりエネルギーとして利用できるとともに化学品の原料としても有用である。このようなメタン発酵技術を有機廃棄物について適用することにより、廃棄物を有効な資源に変換することが可能であり、廃棄に伴う負担や焼却に伴う二酸化炭素の排出を抑制することができる。さらに、有機廃棄物の発生場所付近でメタン発酵を行うと、資源の地産地消が可能となり、有機廃棄物や得られた資源の輸送に要する費用や負担を省略することができる。
【0004】
このメタン発酵技術には、比較的低い固形分濃度、例えば10%以下でメタン発酵を行う湿式メタン発酵と、比較的高い固形分濃度、例えば15%以上45%以下でメタン発酵を行う乾式メタン発酵とがある。
【0005】
湿式メタン発酵は、装置が簡便でありメンテナンスコストが低いというメリットが存在する半面、乾式メタン発酵と比較してガス発生量が少ない、排水量が多く処理コストが大きい等のデメリットが存在する。一方で、乾式メタン発酵は、バイオガスの発生量が多い反面、消費電力が大きい、装置が比較的複雑である等のデメリットが存在する。
【0006】
特許文献1には、投入されたバイオマス中の基質に対して微生物による反応を連続して1つの反応槽で実施するように構成されているバイオマス処理装置であって、前記反応槽は、一方向に前記バイオマスが流れるように構成され、前記反応槽中の前記バイオマスの流れ方向上流端に、前記バイオマスの主投入口が配置され、前記流れ方向における前記主投入口の下流側に、1つ以上の前記バイオマスの追加投入口が配置されているバイオマス処理装置が提案されている。
【先行技術文献】
【特許文献】
【0007】
特開2023-124021号公報
【発明の概要】
【発明が解決しようとする課題】
【0008】
ところで、乾式メタン発酵においては、当然ながら、有機系の原料からできる限り効率よく多くのメタンガスを得ることが好ましい。
【0009】
したがって、本発明の目的は、効率よくメタン発酵を行うことが可能な乾式メタン発酵システムおよび乾式メタン発酵方法を提供することにある。
【課題を解決するための手段】
【0010】
本発明者らは、上記目的を達成すべく鋭意検討した結果、乾式メタン発酵を行う前に前段として酸生成菌の存在下で発酵を行い、得られた気体については水素資化性メタン生成菌により発酵させるとともに、一次発酵物については乾式メタン発酵を行うことにより、効率よく乾式メタン発酵を行うことが可能であることを見出し、さらに検討した結果、本発明に至った。
(【0011】以降は省略されています)
この特許をJ-PlatPat(特許庁公式サイト)で参照する
関連特許
株式会社エネアグリ
乾式メタン発酵システムおよび乾式メタン発酵方法
1日前
株式会社エネアグリ
乾式メタン発酵システムおよび乾式メタン発酵方法
1日前
ダイハツ工業株式会社
発酵システム
2か月前
トヨタ自動車株式会社
空箱処理装置
2か月前
トヨタ自動車株式会社
空箱処理装置
2か月前
花王株式会社
焼却灰の処理方法
1か月前
花王株式会社
焼却灰の処理方法
1か月前
株式会社クボタ
嫌気性処理方法
4か月前
テクニカ合同株式会社
廃棄鶏の処理方法
1か月前
トヨタ自動車株式会社
バイオ炭製造方法
1か月前
株式会社トクヤマ
石膏粒体のか焼方法
1か月前
三菱マテリアル株式会社
被処理物の解体装置
4か月前
株式会社シーパーツ
自動車解体破砕方法
16日前
株式会社マクニカ
乾熱減容処理装置
2か月前
清水建設株式会社
汚染拡散防止構造
1か月前
清水建設株式会社
加熱井戸の設置方法
1か月前
学校法人東京農業大学
メタンガスの製造方法
2か月前
鹿島建設株式会社
土壌の浄化方法
2か月前
株式会社LIXIL
汚物処理装置
20日前
株式会社クボタ
メタン発酵装置およびメタン発酵処理方法
4か月前
極東開発工業株式会社
廃棄物処理装置
3か月前
国立大学法人東北大学
重金属の不溶化方法
21日前
株式会社クボタ
収穫残渣の保管方法およびメタン発酵処理方法
4か月前
九電産業株式会社
樹脂複合製品の製造方法
1か月前
トヨタ自動車株式会社
乾燥処理装置
2か月前
株式会社大林組
有機フッ素化合物の浄化方法
3か月前
株式会社エネアグリ
乾式メタン発酵システムおよび乾式メタン発酵方法
1日前
株式会社エネアグリ
乾式メタン発酵システムおよび乾式メタン発酵方法
1日前
王子ホールディングス株式会社
ベールの製造方法
14日前
株式会社神鋼環境ソリューション
メタン発酵装置、及び、メタン発酵方法
13日前
株式会社トクヤマ
廃石膏ボードから紙片と石膏粒体を回収する方法
1か月前
個人
フォーミング生成抑制材の製造方法及び廃タイヤのリサイクル処理方法
2か月前
光宇應用材料股ふん有限公司
環境にやさしい低炭素二酸化ケイ素の製造方法
1か月前
トヨタ自動車株式会社
電池の処理方法および電池の処理システム
3か月前
JFEエンジニアリング株式会社
焼却灰処理システム
24日前
トリニティ工業株式会社
使用済みフィルタ処理装置、使用済みフィルタ処理方法
1か月前
続きを見る
他の特許を見る