TOP
|
特許
|
意匠
|
商標
特許ウォッチ
Twitter
他の特許を見る
10個以上の画像は省略されています。
公開番号
2025159939
公報種別
公開特許公報(A)
公開日
2025-10-22
出願番号
2024062822
出願日
2024-04-09
発明の名称
ストレッチフィルム包装方法及びストレッチフィルム包装機
出願人
積水樹脂株式会社
代理人
主分類
B65B
11/04 20060101AFI20251015BHJP(運搬;包装;貯蔵;薄板状または線条材料の取扱い)
要約
【課題】加工フィルムを用いることなく、通気性を制御することができる、ストレッチフィルム包装方法を提供する。
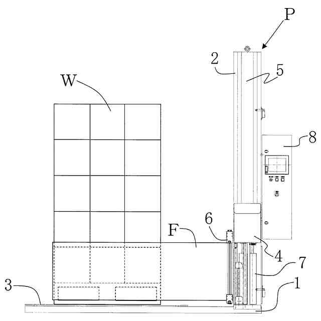
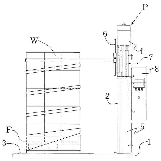
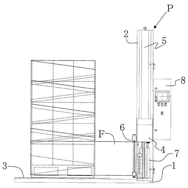
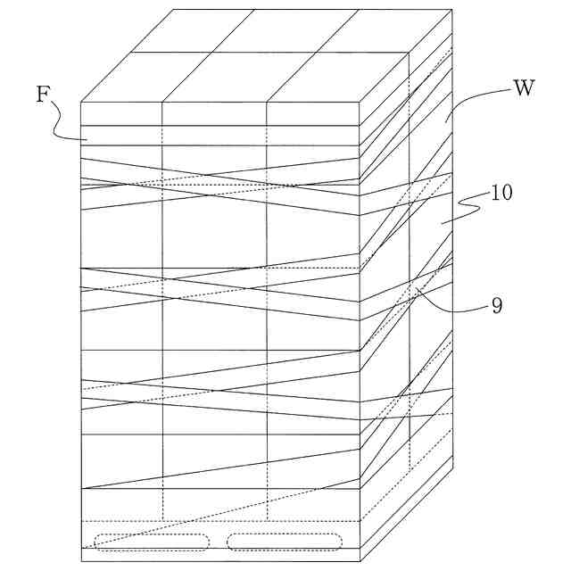
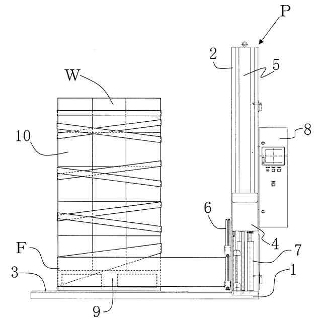
【解決手段】キャリッジ4と、複数段積み重なった被包装物Wとを相対的に回転させる回転機構3と、キャリッジ4を上下動させる昇降機構5と、回転機構3と、昇降機構5の各駆動を制御するコントローラー8とを備えた、被包装物WにフィルムFを巻き付ける包装機Pによる包装方法であって、フィルムFの上側縁と下側縁との少なくとも一方を上下方向に収縮させて、被包装物Wに巻き付け、包装部9と非包装部10を設けるようにする。
【選択図】 図1
特許請求の範囲
【請求項1】
フィルムが繰り出されるキャリッジと、前記キャリッジに対して複数段積み重なった被包装物を相対的に回転させる回転機構と、前記キャリッジを上下動させる昇降機構と、前記回転機構、昇降機構の各駆動を制御するコントローラーを備え、前記キャリッジに対して前記被包装物とを相対的に回転させながらフィルムを前記被包装物に繰り出すとともに、前記キャリッジを昇降させることにより前記被包装物に前記フィルムを巻き付ける包装機による包装方法であって、前記フィルムの上側縁と下側縁との少なくとも一方を上下方向に収縮させて、前記フィルムが巻き付けられた前記被包装物に、包装部と非包装部とを設けるストレッチフィルム包装方法。
続きを表示(約 520 文字)
【請求項2】
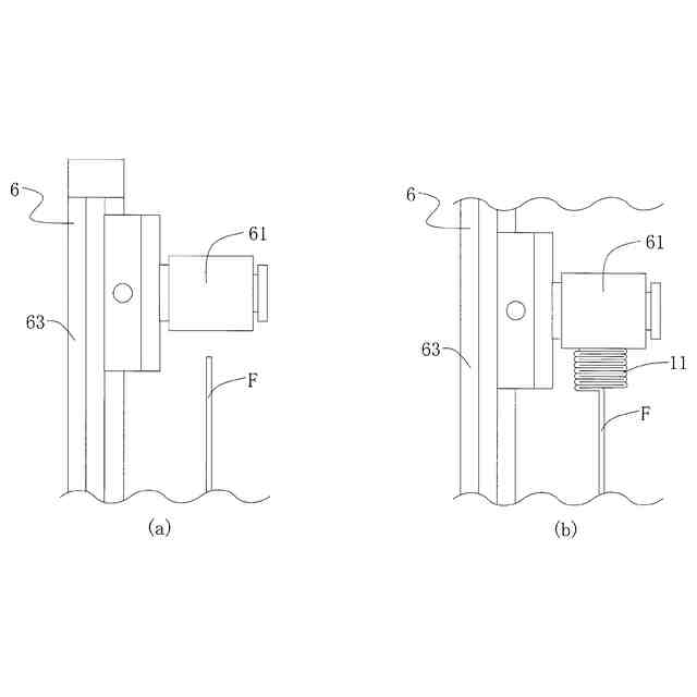
前記フィルムの上側縁と下側縁との少なくとも一方を上下方向に収縮させ、前記上側縁と下側縁との少なくとも一方に肉厚部を形成した請求項1記載のストレッチフィルム包装方法。
【請求項3】
前記回転機構上に載置された最下段の被包装物を、前記上側縁と下側縁と一方のみを上下方向に収縮させたフィルムで包装し、被包装物の中段部から上段部は、上側縁及び下側縁を上下方向に収縮させたフィルムで包装した請求項1記載のストレッチフィルム包装方法。
【請求項4】
フィルムが繰り出されるキャリッジと、前記キャリッジに対して複数段積み重なった被包装物を相対的に回転させる回転機構と、前記キャリッジを上下動させる昇降機構と、前記回転機構、昇降機構の各駆動を制御するコントローラーを備え、前記キャリッジに対して前記被包装物とを相対的に回転させながらフィルムを前記被包装物に繰り出すとともに、前記キャリッジを昇降させることにより前記被包装物に前記フィルムを巻き付ける包装機において、前記キャリッジに前記フィルムの上側縁と下側縁との少なくとも一方を上下方向に収縮させるフィルム巾変更機構を備えたストレッチフィルム包装機。
発明の詳細な説明
【技術分野】
【0001】
本発明は、パレット積みされた複数個の荷物に、プラスチックフィルムを延伸させながら巻き付けて包装するストレッチフィルム包装方法及びストレッチフィルム包装機に関する。
続きを表示(約 1,700 文字)
【背景技術】
【0002】
従来、ストレッチフィルム包装においては、複数段積み重なった被包装物が輸送中に荷崩れしないようにストレッチフィルムには、被包装物に応じたテンションを掛け、被包装物の外周に巻き付けている。
【0003】
フィルムの巻き方として、ストレッチフィルムを引き出しつつ、被包装物の外周に巻き付けるフィルム包装と、ストレッチフィルムの幅をひも状まで収縮させ、外周に巻き付けるロ―ピング包装とが知られている。
【0004】
前記被包装物として、野菜、果物等の青果物が含まれ、前記青果物は熟成を促進するエチレンガスを分泌している。エチレンガスは青果物の熟成に必要であるが、成熟が進むと過熟状態を経て劣化・腐敗が生じやすくなるため、エチレンガスを放出する必要がある。また、前記青果物は収穫後も呼吸活動を行うため、水分(水蒸気)の放出、酸素の供給が必要であり、通気性をもった包装方法が必要となる。
【先行技術文献】
【特許文献】
【0005】
実開昭52-44183号公報
特許第7127611号公報
【発明の概要】
【発明が解決しようとする課題】
【0006】
フィルム包装では、被包装物の外周全面を覆うように包装するため、通気性が低い包装となり、青果物の劣化につながり、ロ―ピング包装では、被包装物の外周全面を覆わないため、通気性が高くなるが、ひも状となったフィルムの位置が運搬中等の負荷によってずれることで、被包装物を固定できなくなり、荷崩れが発生する場合もある。また、フィルムずれを抑制するため、締め付けトルクを上げた場合、被包装物破損につながるため、被包装物のサイズ、材質によって包装の条件を変更する必要があった。
【0007】
フィルム包装での通気性を向上させるため、特許文献1、2のように、孔開け加工による通気性の高いフィルムが提案されている。しかし、包装時にフィルムに一定以上の力を加わることで、孔の部分から変形し、フィルムの断裂が生じる恐れがある。そのため、フィルムの特性に合わせ、巻取時のテンション、スピード等の設定をフィルム毎に変更する工数が必要であった。また、通気性が高いことで、悪影響を受ける被包装物もあるため、用途に合わせたフィルムを用意する必要があった。
【0008】
本発明のストレッチフィルム包装方法及び包装機では、被包装物によって、フィルムを変更することなく、通気性を確保した包装を行うことができる包装方法及び包装機を提供するものである。
【課題を解決するための手段】
【0009】
本発明に係るストレッチフィルム包装方法は、フィルムが繰り出されるキャリッジと、前記キャリッジに対して複数段積み重なった被包装物を相対的に回転させる回転機構と、前記キャリッジを上下動させる昇降機構と、前記回転機構、昇降機構の各駆動を制御するコントローラーを備え、前記キャリッジに対して前記被包装物とを相対的に回転させながらフィルムを前記被包装物に繰り出すとともに、前記キャリッジを昇降させることにより前記被包装物に前記フィルムを巻き付ける包装機による包装方法であって、前記フィルムの上側縁と下側縁との少なくとも一方を上下方向に収縮させて、前記フィルムが巻き付けられた前記被包装物に、包装部と非包装部とを設けるものである。
【0010】
また、本発明に係るストレッチフィルム包装機は、フィルムが繰り出されるキャリッジと、前記キャリッジに対して複数段積み重なった被包装物を相対的に回転させる回転機構と、前記キャリッジを上下動させる昇降機構と、前記回転機構、昇降機構の各駆動を制御するコントローラーを備え、前記キャリッジに対して前記被包装物とを相対的に回転させながらフィルムを前記被包装物に繰り出すとともに、前記キャリッジを昇降させることにより前記被包装物に前記フィルムを巻き付ける包装機において、前記キャリッジに前記フィルムの上側縁と下側縁との少なくとも一方を上下方向に収縮させるフィルム巾変更機構を備えたものである。
(【0011】以降は省略されています)
この特許をJ-PlatPat(特許庁公式サイト)で参照する
関連特許
株式会社ミライト・ワン
ボラード
10日前
積水樹脂株式会社
ストレッチフィルム包装方法及びストレッチフィルム包装機
10日前
積水樹脂株式会社
フェンス、フェンスの施工方法、外構製品、及び外構製品の施工方法
18日前
個人
収容箱
3か月前
個人
コンベア
5か月前
個人
容器
9か月前
個人
段ボール箱
7か月前
個人
段ボール箱
7か月前
個人
ゴミ収集器
7か月前
個人
角筒状構造体
5か月前
個人
土嚢運搬器具
8か月前
個人
宅配システム
7か月前
個人
楽ちんハンド
5か月前
個人
バンド
2か月前
個人
廃棄物収容容器
2か月前
個人
コード類収納具
8か月前
個人
包装容器
1か月前
個人
お薬の締結装置
6か月前
個人
閉塞装置
10か月前
個人
蓋閉止構造
4か月前
株式会社和気
包装用箱
9か月前
個人
蓋閉止構造
4か月前
個人
貯蔵サイロ
7か月前
株式会社和気
包装用箱
4日前
個人
積み重ね用補助具
2か月前
個人
ゴミ処理機
9か月前
株式会社コロナ
梱包材
5か月前
株式会社バンダイ
物品
24日前
個人
把手付米袋
4か月前
三甲株式会社
容器
8日前
株式会社KY7
封止装置
3か月前
個人
袋入り即席麺
7か月前
個人
搬送システム
6か月前
個人
コード折り畳み器具
4か月前
個人
包装箱
10か月前
個人
輸送積荷用動吸振器
6か月前
続きを見る
他の特許を見る