TOP
|
特許
|
意匠
|
商標
特許ウォッチ
Twitter
他の特許を見る
10個以上の画像は省略されています。
公開番号
2025160459
公報種別
公開特許公報(A)
公開日
2025-10-22
出願番号
2025130113,2021161789
出願日
2025-08-04,2021-09-30
発明の名称
撮像システム及びプログラム
出願人
富士フイルム株式会社
代理人
弁理士法人太陽国際特許事務所
主分類
H04N
23/73 20230101AFI20251015BHJP(電気通信技術)
要約
【課題】例えば、イメージセンサ又は撮像レンズに加わる揺れを、移動体に関する要因に応じて補正することができる制御方法及び撮像システムを提供する。
【解決手段】撮像システムは、移動体及び撮像装置を備えた撮像システムにおいて、プロセッサを備える。プロセッサは、移動体の位置に関する移動情報を取得し、移動情報に応じて、撮像装置のシャッタスピードを異ならせる。
【選択図】図10
特許請求の範囲
【請求項1】
移動体及び撮像装置を備えた撮像システムにおいて、
プロセッサを備え、
前記プロセッサは、
前記移動体の位置に関する移動情報を取得し、
前記移動情報に応じて、前記撮像装置のシャッタスピードを異ならせる、
撮像システム。
続きを表示(約 910 文字)
【請求項2】
前記移動情報は、前記移動体の速度又は加速度に関する情報を含む、
請求項1に記載の撮像システム。
【請求項3】
前記プロセッサは、前記速度又は前記加速度が高いほど、前記シャッタスピードを短くする、
請求項2に記載の撮像システム。
【請求項4】
前記プロセッサは、前記速度が予め定められた速度以上である場合に、前記シャッタスピードを撮像条件に基づいて設定された設定値よりも短い値に設定する、
請求項2に記載の撮像システム。
【請求項5】
前記移動情報は、前記撮像装置と被写体との距離に関する情報を含む、
請求項1から請求項4の何れか一項に記載の撮像システム。
【請求項6】
前記プロセッサは、前記距離が短いほど、前記シャッタスピードを短くする、
請求項5に記載の撮像システム。
【請求項7】
前記プロセッサは、前記距離が予め定められた距離以下である場合に、前記シャッタスピードを撮像条件に基づいて設定された設定値よりも短い値に設定する、
請求項5に記載の撮像システム。
【請求項8】
前記プロセッサは、
前記撮像装置の焦点距離に関する焦点距離情報を取得し、
前記焦点距離が望遠側になるほど、前記シャッタスピードを短くする、
請求項1から請求項7の何れか一項に記載の撮像システム。
【請求項9】
前記プロセッサは、
前記撮像装置の焦点距離に関する焦点距離情報を取得し、
前記焦点距離が予め定められた焦点距離以上である場合に、前記シャッタスピードを撮像条件に基づいて設定された設定値よりも短い値に設定する、
請求項1から請求項7の何れか一項に記載の撮像システム。
【請求項10】
コンピュータに、
移動体の位置に関する移動情報を取得すること、及び、
前記移動情報に応じて、撮像装置のシャッタスピードを異ならせること、
ことを含む処理を実行させるためのプログラム。
発明の詳細な説明
【技術分野】
【0001】
本開示の技術は、撮像システム及びプログラムに関する。
続きを表示(約 2,400 文字)
【背景技術】
【0002】
特許文献1には、撮像画像に基づいて、被写体角速度を算出する算出手段と、算出された被写体角速度に基づいて、補正手段を駆動することにより、流し撮り時の被写体に係る像ブレを補正する制御手段と、を有し、制御手段は、撮影シーンを含む被写体情報に基づいて、撮影シーンに応じた被写体に係る像ブレの補正位置を決定し、像ブレの補正位置に基づき算出される被写体角速度に基づいて、補正手段を駆動する光学機器が開示されている。
【0003】
特許文献2には、流し撮りが可能な撮像装置であって、時間的に連続した画像に基づいて被写体の動きベクトルと撮像装置の動きとに基づいて、撮像装置に対する被写体の角速度を算出する第1の算出手段と、第1の算出手段により算出された複数の角速度に基づいて、撮像装置に対する被写体の角加速度を算出する第2の算出手段と、第2の算出手段により算出された角加速度に応じて露光時の撮像装置に対する被写体の角速度を決定する決定手段と、決定手段により決定された角速度に基づいて補正素子を移動させ、被写体の像ブレを補正する補正手段と、を備え、決定手段は、第1の算出手段により算出された角速度に応じた値域に第2の算出手段により算出される角加速度が含まれるか否かに応じて、露光時の撮像装置に対する被写体の角速度の決定に用いる角加速度を変更する撮像装置が開示されている。
【0004】
特許文献3には、イメージセンサの出力に基いて画像のブレを検出する画像ブレ検出手段と、カメラ内部に設けられたメカセンサの出力に基いてブレを検出し、それによる画像のブレを演算するメカブレ検出手段と、上記画像ブレ検出手段の出力と上記メカブレ検出手段とから被写体の移動速度に関する情報を検出する被写体移動速度検出手段と、上記被写体の移動速度と露出時間とから露出中のブレ補正量を演算するブレ補正量演算手段と、上記ブレ補正量に基いて上記カメラのブレ補正機構の初期位置をプリセットする初期位置設定手段と、上記画像ブレ検出手段と上記メカブレ検出手段の出力に基いて上記ブレ補正機構の制御を行うブレ補正制御手段と、を具備するカメラのブレ防止装置が開示されている。
【先行技術文献】
【特許文献】
【0005】
特開2021-082932号公報
特開2019-092037号公報
特開平04-163535号公報
【発明の概要】
【0006】
本開示の技術に係る一つの実施形態は、例えば、イメージセンサ又は撮像レンズに加わる揺れを、移動体に関する要因に応じて補正することができる撮像システム及びプログラムを提供する。
【課題を解決するための手段】
【0007】
本開示の技術に係る第1態様は、移動体及び撮像装置を備えた撮像システムにおいて、プロセッサを備え、前記プロセッサは、前記移動体の位置に関する移動情報を取得し、前記移動情報に応じて、前記撮像装置のシャッタスピードを異ならせる、撮像システムである。
【0008】
本開示の技術に係る第2態様は、コンピュータに、移動体の位置に関する移動情報を取得すること、及び、前記移動情報に応じて、撮像装置のシャッタスピードを異ならせること、ことを含む処理を実行させるためのプログラムである。
【図面の簡単な説明】
【0009】
撮像システムの一例を示す平面図である。
撮像装置及び飛行体の一例を示す側面図である。
飛行体のハードウェア構成の一例を示すブロック図である。
撮像装置のハードウェア構成の一例を示すブロック図である。
撮像装置に搭載されたCPUの機能的な構成の一例を示すブロック図である。
取得部の動作の一例を説明するブロック図である。
推測部の動作の一例を説明するブロック図である。
設定部の第1動作の一例を説明するブロック図である。
設定部の第2動作の一例を説明するブロック図である。
調整処理部の第1動作の一例を説明するブロック図である。
調整処理部の第2動作の一例を説明するブロック図である。
撮像処理部の動作の一例を説明するブロック図である。
補正処理部の第1動作の一例を説明するブロック図である。
調整処理部の第2動作の一例を説明するブロック図である。
データ出力部の動作の一例を説明するブロック図である。
撮像支援処理の流れの一例を示すフローチャートである。
取得部の第1変形例を示すブロック図である。
取得部の第2変形例を示すブロック図である。
取得部の第3変形例を示すブロック図である。
上記推測部とは別の推測部を追加した変形例を示すブロック図である。
撮像支援処理の流れの変形例を示すフローチャートである。
別の推測部の変形例を示すブロック図である。
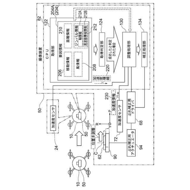
撮像装置の防振機能及び調整処理部の変形例を示すブロック図である。
撮像装置の防振機能及び補正処理部の変形例を示すブロック図である。
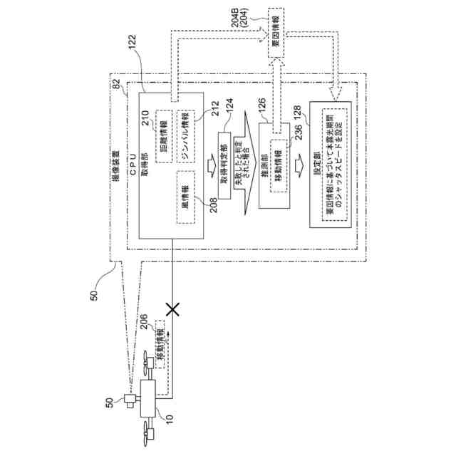
撮像システム、取得部、及び調整処理部の変形例を示すブロック図である。
撮像システム、取得部、及び補正処理部の変形例を示すブロック図である。
撮像システムの変形例を示すブロック図である。
【発明を実施するための形態】
【0010】
以下、添付図面に従って本開示の技術に係る制御方法及び撮像装置の実施形態の一例について説明する。
(【0011】以降は省略されています)
この特許をJ-PlatPat(特許庁公式サイト)で参照する
関連特許
個人
イヤーマフ
1日前
個人
監視カメラシステム
10日前
キーコム株式会社
光伝送線路
11日前
WHISMR合同会社
収音装置
1か月前
サクサ株式会社
中継装置
17日前
サクサ株式会社
中継装置
16日前
個人
スキャン式車載用撮像装置
10日前
キヤノン株式会社
撮像装置
1か月前
アイホン株式会社
電気機器
1か月前
キヤノン電子株式会社
画像読取装置
1か月前
サクサ株式会社
無線システム
15日前
個人
ワイヤレスイヤホン対応耳掛け
1か月前
株式会社リコー
画像形成装置
2か月前
キヤノン電子株式会社
画像読取装置
9日前
株式会社リコー
画像形成装置
1か月前
株式会社リコー
画像形成装置
1か月前
サクサ株式会社
無線通信装置
16日前
サクサ株式会社
無線通信装置
16日前
株式会社リコー
画像形成装置
3日前
日本電気株式会社
海底分岐装置
11日前
ブラザー工業株式会社
読取装置
2か月前
個人
発信機及び発信方法
15日前
キヤノン株式会社
撮像システム
1か月前
株式会社ニコン
撮像装置
2か月前
国立大学法人電気通信大学
小型光学装置
2か月前
パテントフレア株式会社
水中電波通信法
2か月前
株式会社JVCケンウッド
通信システム
22日前
パテントフレア株式会社
超高速電波通信
1か月前
有限会社フィデリックス
マイクロフォン
22日前
株式会社NTTドコモ
端末
10日前
株式会社NTTドコモ
端末
10日前
キヤノン電子株式会社
画像処理システム
9日前
沖電気工業株式会社
画像形成装置
26日前
株式会社NTTドコモ
端末
10日前
大日本印刷株式会社
写真撮影装置
1か月前
株式会社NTTドコモ
端末
11日前
続きを見る
他の特許を見る