TOP
|
特許
|
意匠
|
商標
特許ウォッチ
Twitter
他の特許を見る
公開番号
2025161451
公報種別
公開特許公報(A)
公開日
2025-10-24
出願番号
2024064640
出願日
2024-04-12
発明の名称
情報処理装置及びシステム
出願人
トヨタ自動車株式会社
代理人
弁理士法人秀和特許事務所
主分類
G08G
1/017 20060101AFI20251017BHJP(信号)
要約
【課題】通信量の増加を抑制しつつ盗難車両を検知する。
【解決手段】検知の対象となる第一車両の属性に関する第一情報を取得することと、第一車両と同一の属性を有する第二車両であって、検知の対象とならない第二車両に関する第二情報を取得することと、自車両の周囲の他車両に関する第三情報を自車両のセンサにより取得することと、他車両が第二車両に該当しないことに応じて第三情報をサーバに送信し、他車両が第二車両に該当することに応じて第三情報をサーバに送信しないことと、を実行するように構成された制御部を備える。
【選択図】図5
特許請求の範囲
【請求項1】
検知の対象となる第一車両の属性に関する第一情報を取得することと、
前記第一車両と同一の前記属性を有する第二車両であって、前記検知の対象とならない第二車両に関する第二情報を取得することと、
自車両の周囲の他車両に関する第三情報を前記自車両のセンサにより取得することと、
前記他車両が前記第二車両に該当しないことに応じて前記第三情報をサーバに送信し、前記他車両が前記第二車両に該当することに応じて前記第三情報を前記サーバに送信しないことと、
を実行するように構成された制御部を備える情報処理装置。
続きを表示(約 780 文字)
【請求項2】
前記第一情報及び前記第二情報を記憶する記憶部を備え、
前記制御部は、前記サーバから前記第一情報及び前記第二情報を取得して、前記記憶部に記憶させるように構成される、
請求項1に記載の情報処理装置。
【請求項3】
前記制御部は、前記センサにより取得した画像の解析により、前記他車両の型式、色、及び車両ナンバーを前記第三情報として取得するように構成される、
請求項1に記載の情報処理装置。
【請求項4】
複数の車両と、
前記複数の車両と通信するサーバと、
を備えるシステムであって、
前記サーバは、
検知の対象となる第一車両の属性に関する第一情報を生成して前記複数の車両に送信することと、
前記第一車両と同一の前記属性を有する第二車両であって、前記検知の対象とならない第二車両に関する第二情報を生成して前記複数の車両に送信することと、
を実行するように構成された第一制御部を備え、
前記複数の車両は、夫々、
前記第一情報を取得することと、
前記第二情報を取得することと、
自車両の周囲の他車両に関する第三情報を前記自車両のセンサにより取得することと、
前記他車両が前記第二車両に該当しないことに応じて前記第三情報を前記サーバに送信し、前記他車両が前記第二車両に該当することに応じて前記第三情報を前記サーバに送信しないことと、
を実行するように構成された第二制御部を備える、
システム。
【請求項5】
前記第三情報を受信した前記サーバの制御部は、前記第一車両のユーザの端末に、前記他車両の位置情報を送信するように構成される、
請求項4に記載のシステム。
発明の詳細な説明
【技術分野】
【0001】
本開示は、情報処理装置及びシステムに関する。
続きを表示(約 1,900 文字)
【背景技術】
【0002】
車車間通信が可能な他車両のナンバープレート情報を含む第1の他車両情報及び対応する位置情報と、車車間通信が不可能な他車両の撮像画像を含む第2の他車両情報及び対応する位置情報とをサーバに送信し、サーバで受信された第1の他車両情報及び位置情報と、第2の他車両情報及び位置情報とに基づき、盗難車両を追跡することが知られている(例えば、特許文献1を参照。)。
【先行技術文献】
【特許文献】
【0003】
特開2019-079330号公報
【発明の概要】
【発明が解決しようとする課題】
【0004】
本開示の目的は、通信量の増加を抑制しつつ盗難車両を検知することにある。
【課題を解決するための手段】
【0005】
本開示の態様の1つは、検知の対象となる第一車両の属性に関する第一情報を取得することと、前記第一車両と同一の前記属性を有する第二車両であって、前記検知の対象とならない第二車両に関する第二情報を取得することと、自車両の周囲の他車両に関する第三情報を前記自車両のセンサにより取得することと、前記他車両が前記第二車両に該当しないことに応じて前記第三情報をサーバに送信し、前記他車両が前記第二車両に該当することに応じて前記第三情報を前記サーバに送信しないことと、を実行するように構成された制御部を備える情報処理装置である。
【0006】
本開示の態様の1つは、複数の車両と、前記複数の車両と通信するサーバと、を備えるシステムであって、前記サーバは、検知の対象となる第一車両の属性に関する第一情報を生成して前記複数の車両に送信することと、前記第一車両と同一の前記属性を有する第二車両であって、前記検知の対象とならない第二車両に関する第二情報を生成して前記複数の車両に送信することと、を実行するように構成された第一制御部を備え、前記複数の車両は、夫々、前記第一情報を取得することと、前記第二情報を取得することと、自車両の周囲の他車両に関する第三情報を前記自車両のセンサにより取得することと、前記他車両が前記第二車両に該当しないことに応じて前記第三情報を前記サーバに送信し、前記他車両が前記第二車両に該当することに応じて前記第三情報を前記サーバに送信しないことと、を実行するように構成された第二制御部を備える、システムである。
【0007】
本開示は、上記情報処理装置の処理をコンピュータが実行する情報処理方法として捉えることもできる。また、本開示は、上記情報処理方法をコンピュータに実行させるための情報処理プログラム又は該情報処理プログラムを格納する非一時的記憶媒体として捉えることもできる。
【発明の効果】
【0008】
本開示によれば、通信量の増加を抑制しつつ盗難車両を検知することができる。
【図面の簡単な説明】
【0009】
実施形態に係るシステムを構成する車両、ユーザ端末、及びサーバのそれぞれの構成の一例を概略的に示すブロック図である。
車両情報DB及び盗難車両情報DBのテーブル構成を例示した図である。
検知車両情報及び除外情報の構成を例示した図である。
実施形態に係るサーバにおける処理を示したフローチャートである。
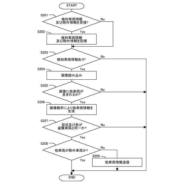
実施形態に係る車両における処理を示したフローチャートである。
【発明を実施するための形態】
【0010】
各車両に取り付けられたカメラで撮影した画像に基づいて、盗難車両を検知することが考えられる。自車両の周囲の他車両をカメラで撮影し、この画像を解析してナンバープレートに記載されているナンバー(以下、車両ナンバーともいう。)、車両型式、及び色などに関する情報をサーバに送信することが考えられる。この場合、サーバにおいて、各車両から取得した車両ナンバー、車両型式、及び色などを、盗難車両の車両ナンバー、車両型式、及び色などと比較して、盗難車両であるか否か判定できる。しかし、盗難車両では、不正なナンバープレートが付けられている場合もある。この場合、サーバが、車両型式とナンバープレートとが整合しているか否かを判定することが考えられる。しかし、自車両の周囲の全ての他車両について例えば車両ナンバー、車両型式、及び色などの情報をサーバに送信すると、通信量が膨大になり得る。本開示はかかる問題を解決する。
(【0011】以降は省略されています)
この特許をJ-PlatPat(特許庁公式サイト)で参照する
関連特許
トヨタ自動車株式会社
方法
13日前
トヨタ自動車株式会社
方法
4日前
トヨタ自動車株式会社
方法
5日前
トヨタ自動車株式会社
方法
13日前
トヨタ自動車株式会社
方法
3日前
トヨタ自動車株式会社
車体
6日前
トヨタ自動車株式会社
椅子
13日前
トヨタ自動車株式会社
車両
5日前
トヨタ自動車株式会社
車両
3日前
トヨタ自動車株式会社
車両
18日前
トヨタ自動車株式会社
電池
3日前
トヨタ自動車株式会社
方法
4日前
トヨタ自動車株式会社
車両
17日前
トヨタ自動車株式会社
電池
19日前
トヨタ自動車株式会社
車両
4日前
トヨタ自動車株式会社
車両
12日前
トヨタ自動車株式会社
電池
10日前
トヨタ自動車株式会社
車両
10日前
トヨタ自動車株式会社
電磁弁
13日前
トヨタ自動車株式会社
モータ
11日前
トヨタ自動車株式会社
電動車
13日前
トヨタ自動車株式会社
モータ
5日前
トヨタ自動車株式会社
電動機
3日前
トヨタ自動車株式会社
固定子
18日前
トヨタ自動車株式会社
自動車
4日前
トヨタ自動車株式会社
正極層
3日前
トヨタ自動車株式会社
加熱器
17日前
トヨタ自動車株式会社
モータ
今日
トヨタ自動車株式会社
サーバ
今日
トヨタ自動車株式会社
ケース
19日前
トヨタ自動車株式会社
飛行体
10日前
トヨタ自動車株式会社
蓄電装置
3日前
トヨタ自動車株式会社
二次電池
18日前
トヨタ自動車株式会社
駆動装置
10日前
トヨタ自動車株式会社
搬送装置
10日前
トヨタ自動車株式会社
端末装置
10日前
続きを見る
他の特許を見る