TOP
|
特許
|
意匠
|
商標
特許ウォッチ
Twitter
他の特許を見る
10個以上の画像は省略されています。
公開番号
2025163660
公報種別
公開特許公報(A)
公開日
2025-10-29
出願番号
2025006398
出願日
2025-01-16
発明の名称
シート折り装置、後処理装置、画像形成装置、及び画像形成システム
出願人
株式会社リコー
代理人
弁理士法人武和国際特許事務所
主分類
B65H
45/30 20060101AFI20251022BHJP(運搬;包装;貯蔵;薄板状または線条材料の取扱い)
要約
【課題】様々な折り方の折り目をシートに付与できるシート折り装置を提供する。
【解決手段】シート折り装置は、搬送ローラ対と、第一折りローラと、第一折りローラと第一のニップを形成する第二折りローラと、第一折りローラと第二のニップを形成する第三折りローラと、シートを第一のニップに案内する第一姿勢、及びシートを第二のニップに案内する第二姿勢に切り替え可能なガイド部材と、搬送ローラ対を制御するコントローラとを備える。コントローラは、第一のニップでシートを挟んだ状態で、ガイド部材を第一姿勢から第二姿勢に切り替えて、シートを第二のニップで折り込む、または、第二のニップでシートを挟んだ状態で、ガイド部材を第二姿勢から第一姿勢に切り替えて、シートを第一のニップで折り込み、第一のニップまたは第二のニップにシートが折り込まれた状態で、第一折りローラの搬送速度を、搬送ローラ対の搬送速度より速くする。
【選択図】図3
特許請求の範囲
【請求項1】
シートを搬送方向に搬送する搬送ローラ対と、
前記搬送ローラ対よりも前記搬送方向の下流側に配置される第一折りローラと、
前記第一折りローラと第一のニップを形成し、前記第一折りローラの回転に伴って従動する第二折りローラと、
前記第一折りローラと第二のニップを形成し、前記第一折りローラの回転に伴って従動する第三折りローラと、
前記搬送方向において前記搬送ローラ対と前記第一のニップとの間に配され、前記シートを前記第一のニップに案内する第一姿勢、及び前記シートを前記第二のニップに案内する第二姿勢に切り替え可能なガイド部材と、
前記搬送ローラ対を制御するコントローラとを備え、
前記コントローラは、
前記第一のニップで前記シートを挟んだ状態で、前記ガイド部材を前記第一姿勢から前記第二姿勢に切り替えて、前記シートを前記第二のニップで折り込む、または、前記第二のニップで前記シートを挟んだ状態で、前記ガイド部材を前記第二姿勢から前記第一姿勢に切り替えて、前記シートを前記第一のニップで折り込み、
前記第一のニップまたは前記第二のニップに前記シートが折り込まれた状態で、前記第一折りローラの搬送速度を、前記搬送ローラ対の搬送速度より速くすることを特徴とするシート折り装置。
続きを表示(約 2,600 文字)
【請求項2】
請求項1に記載のシート折り装置において、
前記コントローラは、前記第一のニップまたは前記第二のニップに前記シートが折り込まれた状態で、前記搬送ローラ対と前記第一折りローラとを逆方向に回転させることを特徴とするシート折り装置。
【請求項3】
請求項1に記載のシート折り装置において、
前記搬送ローラ対は、前記シートを前記搬送方向に搬送する順回転が可能であり、
前記第二折りローラは、主搬送路を挟んで前記第一折りローラに対向して配置され、
前記第三折りローラは、前記第一折りローラよりも前記搬送方向の上流側の分岐部で前記主搬送路から分岐し且つ前記分岐部よりも前記搬送方向の上流側の合流部で前記主搬送路に合流する還流搬送路を挟んで前記第一折りローラに対向して配置され、
前記第一折りローラは、
前記第一のニップにニップされた前記シートを前記搬送方向に搬送し、前記第二のニップにニップされた前記シートを前記還流搬送路から前記主搬送路に送り出す順回転と、
前記第一のニップにニップされた前記シートを前記搬送方向と逆方向に搬送し、前記第二のニップにニップされた前記シートを前記還流搬送路に引き込む逆回転とが可能に構成されているシート折り装置。
【請求項4】
請求項3に記載のシート折り装置において、
前記コントローラは、
前記シートの先端が前記第一のニップを通過し且つ折り位置が所定位置に到達するまで、前記ガイド部材を前記第一姿勢にして、前記搬送ローラ対及び前記第一折りローラを同一の搬送速度で順回転させ、
前記折り位置が前記所定位置に到達したことに応じて、前記ガイド部材を前記第一姿勢から前記第二姿勢に切り替え、前記折り位置が前記第二のニップを通過するまで前記第一折りローラを逆回転させることによって、前記折り位置で前記シートを折り込み、
前記折り位置が前記第二のニップを通過したことに応じて、前記ガイド部材を前記第二姿勢から前記第一姿勢に切り替えながら、前記搬送ローラ対を順回転させ且つ前記搬送ローラ対より速い搬送速度で前記第一折りローラを順回転させることによって、前記折り位置の折り目を拡げて前記シートを排出することを特徴とするシート折り装置。
【請求項5】
請求項4に記載のシート折り装置において、
前記コントローラは、前記搬送方向にズレた複数の前記折り位置で前記シートを折り、且つ複数の前記折り位置それぞれの折り目を拡げて、前記シートを排出することを特徴とするシート折り装置。
【請求項6】
請求項3に記載のシート折り装置において、
前記コントローラは、
前記シートの先端が前記第二のニップを通過し且つ折り位置が所定位置に到達するまで、前記ガイド部材を前記第二姿勢にし、前記搬送ローラ対を順回転させ、前記第一折りローラを逆回転させ、
前記折り位置が前記所定位置に到達したことに応じて、前記ガイド部材を前記第二姿勢から前記第一姿勢に切り替え、前記折り位置が前記第一のニップを通過するまで前記第一折りローラを順回転させることによって、前記折り位置で前記シートを折り込み、
前記折り位置が前記第一のニップを通過したことに応じて、前記ガイド部材を前記第一姿勢から前記第二姿勢に切り替えながら、所定時間が経過するまで前記搬送ローラ対を順回転させ且つ前記搬送ローラ対より速い搬送速度で前記第一折りローラを逆回転させることによって、前記折り位置の折り目を拡げて前記シートを前記還流搬送路に進入させ、
前記所定時間が経過したことに応じて、前記ガイド部材を前記第二姿勢から前記第一姿勢に切り替えて、前記搬送ローラ対及び前記第一折りローラを同一の搬送速度で順回転させることによって、前記シートを排出することを特徴とするシート折り装置。
【請求項7】
請求項1に記載のシート折り装置において、
前記コントローラは、前記シート折り装置に順番に供給される複数の前記シートそれぞれの折り位置を、前記搬送方向にずらすことを特徴とするシート折り装置。
【請求項8】
請求項1に記載のシート折り装置と、
前記シート折り装置で折り目が付与された複数の前記シートを束ねて綴じる綴じ装置とを備えることを特徴とする後処理装置。
【請求項9】
シートに画像を形成する画像形成部と、
前記画像形成部によって画像が形成された前記シートに折り目を付与する請求項1に記載のシート折り装置とを備えることを特徴とする画像形成装置。
【請求項10】
シートに画像を形成する画像形成部と、
前記画像形成部を通過した前記シートを搬送方向に搬送する搬送ローラ対と、
前記搬送ローラ対よりも前記搬送方向の下流側に配置される第一折りローラと、
前記第一折りローラと第一のニップを形成し、前記第一折りローラの回転に伴って従動する第二折りローラと、
前記第一折りローラと第二のニップを形成し、前記第一折りローラの回転に伴って従動する第三折りローラと、
前記搬送方向において前記搬送ローラ対と前記第一のニップとの間に配され、前記シートを前記第一のニップに案内する第一姿勢、及び前記シートを前記第二のニップに案内する第二姿勢に切り替え可能なガイド部材と、
前記搬送ローラ対を制御するコントローラとを備え、
前記コントローラは、
前記第一のニップで前記シートを挟んだ状態で、前記ガイド部材を前記第一姿勢から前記第二姿勢に切り替えて、前記シートを前記第二のニップで折り込む、または、前記第二のニップで前記シートを挟んだ状態で、前記ガイド部材を前記第二姿勢から前記第一姿勢に切り替えて、前記シートを前記第一のニップで折り込み、
前記第一のニップまたは前記第二のニップに前記シートが折り込まれた状態で、前記第一折りローラの搬送速度を、前記搬送ローラ対の搬送速度より速くするように制御することを特徴とする画像形成システム。
発明の詳細な説明
【技術分野】
【0001】
本発明は、シート折り装置、後処理装置、画像形成装置、及び画像形成システムに関する。
続きを表示(約 2,300 文字)
【背景技術】
【0002】
特許文献1には、シートを搬送するローラの回転を切り替えることでシートを折って重ね合わせ、重ね合わせたシートを排出するシート折り装置が開示されている
【0003】
特許文献2には、シートに一方向の折り目を付けて排出し、排出されたシートを、ユーザが形成された折り目で折ることによって、ブックレットを形成することができる装置が開示されている。
【発明の概要】
【発明が解決しようとする課題】
【0004】
しかしながら、特許文献1は1回で折ることができるシートの枚数に制限があり、特許文献2は、様々な折り方の折り目を付与することができないという課題がある。
【0005】
本発明は、様々な折り方の折り目をシートに付与できるシート折り装置を提供することを目的とする。
【課題を解決するための手段】
【0006】
上記技術的課題を解決するため、本発明の一態様は、シートを搬送方向に搬送する搬送ローラ対と、前記搬送ローラ対よりも前記搬送方向の下流側に配置される第一折りローラと、前記第一折りローラと第一のニップを形成し、前記第一折りローラの回転に伴って従動する第二折りローラと、前記第一折りローラと第二のニップを形成し、前記第一折りローラの回転に伴って従動する第三折りローラと、前記搬送方向において前記搬送ローラ対と前記第一のニップとの間に配され、前記シートを前記第一のニップに案内する第一姿勢、及び前記シートを前記第二のニップに案内する第二姿勢に切り替え可能なガイド部材と、前記搬送ローラ対を制御するコントローラとを備え、前記コントローラは、前記第一のニップで前記シートを挟んだ状態で、前記ガイド部材を前記第一姿勢から前記第二姿勢に切り替えて、前記シートを前記第二のニップで折り込む、または、前記第二のニップで前記シートを挟んだ状態で、前記ガイド部材を前記第二姿勢から前記第一姿勢に切り替えて、前記シートを前記第一のニップで折り込み、前記第一のニップまたは前記第二のニップに前記シートが折り込まれた状態で、前記第一折りローラの搬送速度を、前記搬送ローラ対の搬送速度より速くすることを特徴とする。
【発明の効果】
【0007】
本発明によれば、様々な折り方の折り目をシートに付与することができる。
【図面の簡単な説明】
【0008】
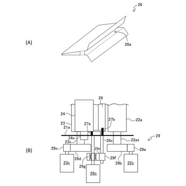
画像形成装置の外観図。
シート折りユニット及びシート綴じユニットの内部構成を示す図。
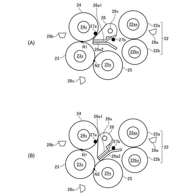
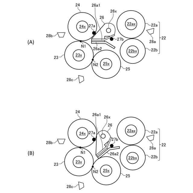
ガイド板が第一姿勢(A)及び第二姿勢(B)のときのシート折りユニットの構成を示す図。
ガイド板の斜視図(A)及び主搬送路上のシートの厚み方向からシート折りユニットを見た図(B)。
折り位置のバリエーションを示す図。
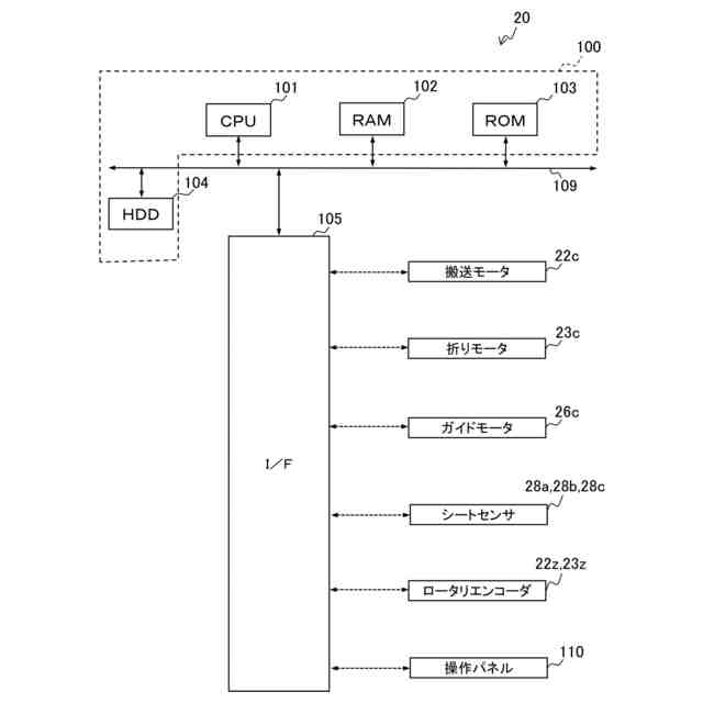
シート折りユニットのハードウェア構成図。
二つ折り目処理のフローチャート。
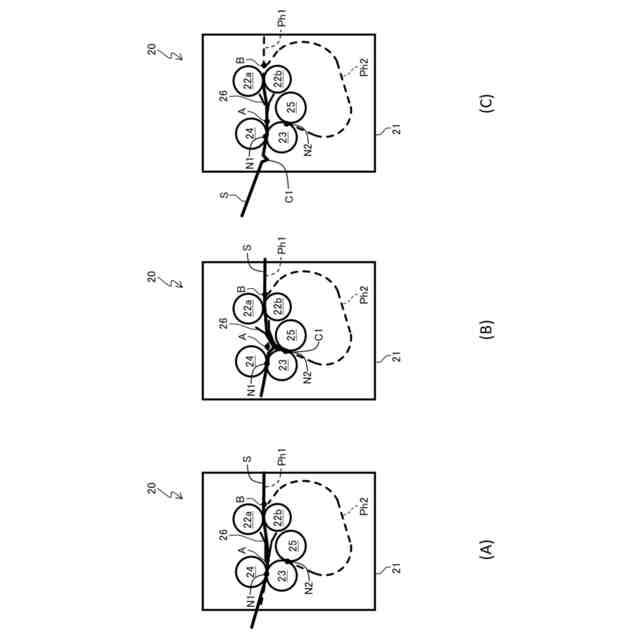
二つ折り目処理におけるシート折りユニットの動きを示す図。
ガイド板の姿勢を切り替える際のシートの挙動を示す図。
内三つ折り目処理のフローチャート。
内三つ折り目処理におけるシート折りユニットの動きを示す図。
外三つ折り目処理のフローチャート。
綴じ位置を外折りするときのシート折りユニットの動きを示す図。
綴じ位置を内折りするときのシート折りユニットの動きを示す図。
ガイド板を第一姿勢から第二姿勢に切り替える際のシートの挙動を示す図。
シートが搬送ローラ対に到達するまでのシート綴じユニットの状態を示す図。
綴じ処理を施さずにシートを排出トレイに排出する場合のシート綴じユニットの状態を示す図。
綴じ処理を行うシート綴じユニットの状態を示す図。
図18(B)のときのシート綴じユニットをシートの厚み方向から見た図。
綴じ処理が施されたシート束を排出トレイに排出する場合のシート綴じユニットの状態を示す図。
ガイド板の可動範囲を制限する他の例を示す図。
パンチ孔穿設ユニットの内部構成を示す図。
画像形成装置のハードウェア構成図の他の例。
画像形成システムの外観図。
画像形成システムのハードウェア構成図。
【発明を実施するための形態】
【0009】
[画像形成装置10の構成]
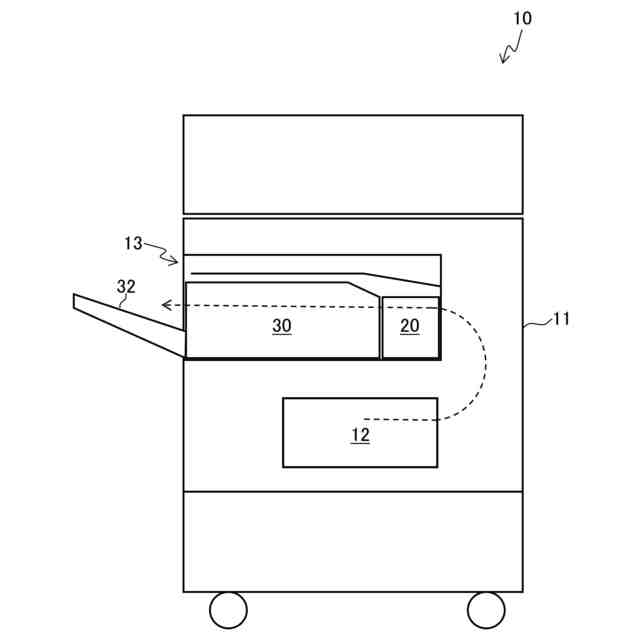
以下、本発明に係る画像形成装置10について、図面を参照しながら説明する。図1は、画像形成装置10の外観図である。画像形成装置10は、シートS(典型的には、用紙)に画像を形成する装置である。図1に示すように、画像形成装置10は、筐体11と、画像形成部12とを備える。
【0010】
筐体11は、画像形成装置10の構成部品を収容する内部空間が形成された箱状である。また、筐体11には、画像形成装置10の外部からアクセス可能な胴内空間13が形成されている。胴内空間13は、例えば、筐体11の上下方向の中央よりやや上方に位置している。また、胴内空間13は、筐体11の外側壁が切り欠かれて、外部に露出されている。さらに、胴内空間13には、シート折りユニット20(シート折り装置)、シート綴じユニット30(後処理部、綴じ装置)、及び後述するパンチ孔穿設ユニット50(図22参照)が取り付け可能になっている。
(【0011】以降は省略されています)
この特許をJ-PlatPat(特許庁公式サイト)で参照する
関連特許
株式会社リコー
移動体
28日前
株式会社リコー
画像形成装置
9日前
株式会社リコー
画像形成装置
14日前
株式会社リコー
画像形成装置
6日前
株式会社リコー
画像形成装置
今日
株式会社リコー
画像形成装置
6日前
株式会社リコー
機器及び異常判定方法
14日前
株式会社リコー
画像形成装置及びシステム
12日前
株式会社リコー
延長トレイ及び画像形成装置
9日前
株式会社リコー
定着装置、及び画像形成装置
14日前
株式会社リコー
画像読取装置及び画像読取方法
8日前
株式会社リコー
表示装置、切替方法、プログラム
19日前
株式会社リコー
加熱装置、定着装置、画像形成装置
1日前
株式会社リコー
媒体処理装置及び画像形成システム
9日前
株式会社リコー
樹脂粒子、及び樹脂粒子の製造方法
6日前
株式会社リコー
加熱装置、定着装置及び画像形成装置
13日前
株式会社リコー
シート給送装置及び画像形成システム
15日前
株式会社リコー
通信装置、通信方法、及びプログラム
12日前
株式会社リコー
読取装置、読取方法およびプログラム
9日前
株式会社リコー
通信端末、通信方法、及びプログラム
12日前
株式会社リコー
光源装置、画像投影装置および調整方法
19日前
株式会社リコー
通信装置、状態制御方法、及びプログラム
15日前
株式会社リコー
ノード、データ共有方法、及びプログラム
26日前
株式会社リコー
画像形成装置、及び、プロセスカートリッジ
19日前
株式会社リコー
画像形成装置、情報処理方法及びプログラム
12日前
株式会社リコー
画像形成装置、情報処理方法およびプログラム
13日前
株式会社リコー
画像読取装置、画像判定方法およびプログラム
12日前
株式会社リコー
画像形成装置、画像処理方法およびプログラム
7日前
株式会社リコー
モノクロ用光走査装置及びモノクロ画像形成装置
12日前
株式会社リコー
表示装置、表示方法、プログラム、表示システム
27日前
株式会社リコー
表示装置、表示方法、プログラム、表示システム
1日前
株式会社リコー
画像読取装置、用紙斜行防止装置及び画像形成装置
7日前
株式会社リコー
対話装置、対話システム、対話方法及びプログラム
26日前
株式会社リコー
電気機器、画像形成装置、制御方法、及びプログラム
22日前
株式会社リコー
情報処理装置、情報処理システムおよび情報処理方法
26日前
株式会社リコー
情報処理システム、情報処理装置および情報処理方法
26日前
続きを見る
他の特許を見る