TOP
|
特許
|
意匠
|
商標
特許ウォッチ
Twitter
他の特許を見る
公開番号
2025163872
公報種別
公開特許公報(A)
公開日
2025-10-30
出願番号
2024067468
出願日
2024-04-18
発明の名称
画像形成装置
出願人
株式会社リコー
代理人
個人
主分類
G03G
15/08 20060101AFI20251023BHJP(写真;映画;光波以外の波を使用する類似技術;電子写真;ホログラフイ)
要約
【課題】廃トナー容器の交換頻度を下げることができる画像形成装置を提供する。
【解決手段】特定のタイミングで、トナー補給手段たるトナー補給装置によるトナー補給を停止した状態で記録材たる転写紙に転写する画像を形成するトナー補給禁止画像形成制御たるトナー補給なし作像動作を実施する。このトナー補給なし作像動作時は、トナー濃度検知手段たるトナー濃度センサーの検知結果に基づいて、現像バイアス、帯電バイアスおよび露光量を設定する作像条件の調整を行う(S24)。そして、トナー濃度センサーの検知結果が、規定トナー濃度以下(S20、S29のNO)、または、帯電バイアス、現像バイアスおよび露光量のうちの一つが上限値以上(S23のNO)となったら、トナー補給なし作像動作を終了してトナー補給制御を再開する(S21,S24,S30)。
【選択図】図8
特許請求の範囲
【請求項1】
帯電バイアスが印加される帯電装置によって一様帯電された後に露光装置により表面を露光されて表面に潜像が形成される潜像担持体と、
トナーとキャリアとを含む現像剤を内部に収容する現像剤収容部内の現像剤を現像剤担持体の表面に担持して前記潜像担持体と対向する現像領域へ搬送し、前記現像剤担持体に現像バイアスを印加して前記現像領域に前記潜像担持体の前記潜像へトナーを移動させる現像電界を形成する現像装置と、
前記現像剤収容部内における現像剤中のトナー濃度を検知するトナー濃度検知手段と、
前記現像装置へトナーを補給するトナー補給手段と、
前記トナー濃度検知手段の検知結果に基づいて、前記現像剤収容部内における現像剤中のトナー濃度が目標トナー濃度となるように前記トナー補給手段を制御するトナー補給制御手段とを備え、
前記現像装置により前記潜像を現像して得られるトナー像を、最終的に記録材へ転写して画像を形成する画像形成装置において、
特定のタイミングで、前記トナー補給手段によるトナー補給を停止した状態で前記記録材に転写する画像を形成するトナー補給禁止画像形成制御を実施し、
前記トナー補給禁止画像形成制御時は、前記トナー濃度検知手段の検知結果に基づいて、前記現像バイアス、前記帯電バイアスおよび前記露光装置により前記潜像担持体の表面を露光するときの露光量を設定し、
前記トナー濃度検知手段の検知結果が、前記現像装置内の現像剤中のトナー濃度が前記目標トナー濃度も低く設定された規定トナー濃度以下、または、前記帯電バイアス、前記現像バイアスおよび前記露光量のうちの一つが上限値以上となったら、前記トナー補給禁止画像形成制御を終了することを特徴とする画像形成装置。
続きを表示(約 540 文字)
【請求項2】
請求項1に記載の画像形成装置において、
前記特定のタイミングは、前記現像装置の単位走行距離当たりの平均トナー消費量が閾値よりも少なくなったタイミングであることを特徴とする画像形成装置。
【請求項3】
請求項2に記載の画像形成装置において、
前記平均トナー消費量は、前記現像装置が所定の走行距離を走行した期間における前記記録材に形成した画像の画素数に基づいて算出することを特徴とする画像形成装置。
【請求項4】
請求項1に記載の画像形成装置において、
前記規定トナー濃度は、前記目標トナー濃度として設定可能な範囲の下限値であることを特徴とする画像形成装置。
【請求項5】
請求項1に記載の画像形成装置において、
前記規定トナー濃度は、環境に応じて変更することを特徴とする画像形成装置。
【請求項6】
請求項1に記載の画像形成装置において、
前記トナー補給禁止画像形成制御の実行時、前記トナー濃度検知手段の検知結果に基づいて、前記現像バイアスを決定し、決定した現像バイアスに基づいて、前記帯電バイアスおよび前記露光量を設定することを特徴とする画像形成装置。
発明の詳細な説明
【技術分野】
【0001】
本発明は、画像形成装置に関するものである。
続きを表示(約 2,900 文字)
【背景技術】
【0002】
従来、次の画像形成装置が知られている。すなわち、画像形成装置は、帯電バイアスが印加される帯電装置によって一様帯電された後に露光装置により表面を露光されて表面に潜像が形成される潜像担持体と、トナーとキャリアとを含む現像剤を内部に収容する現像剤収容部内の現像剤を現像剤担持体の表面に担持して潜像担持体と対向する現像領域へ搬送し、現像剤担持体に現像バイアスを印加して潜像担持体の潜像へトナーを移動させる現像電界を現像領域に形成する現像装置とを備えている。また、現像装置内における現像剤中のトナー濃度を検知するトナー濃度検知手段と、現像装置へトナーを補給するトナー補給手段と、トナー濃度検知手段の検知結果に基づいて、現像装置内における現像剤中のトナー濃度が目標トナー濃度となるようにトナー補給手段を制御するトナー補給制御手段とを備えている。そして、現像装置により潜像を現像して得られるトナー像を、最終的に記録材へ転写して画像を形成する画像形成装置である。
【0003】
特許文献1には、電源投入時、画質調整制御(プロセスコントロール)の実行時、操作表示部がトナーリフレッシュ制御の実行を指示する操作を受け付けた時などの特定のタイミングで、トナー補給手段によるトナー補給を停止した状態で記録材には転写されないトナー強制消費パターンを形成するトナー強制消費制御を実施するものが記載されている。これによれば、トナー補給を停止してトナー強制消費制御を実施することで、現像装置内の劣化トナーを効率よく消費できる旨が記載されている。
【発明の概要】
【発明が解決しようとする課題】
【0004】
しかしながら、廃トナーを収容する廃トナー容器の交換頻度が高くなるおそれがあった。
【課題を解決するための手段】
【0005】
上述した課題を解決するために、本発明は、帯電バイアスが印加される帯電装置によって一様帯電された後に露光装置により表面を露光されて表面に潜像が形成される潜像担持体と、トナーとキャリアとを含む現像剤を内部に収容する現像剤収容部内の現像剤を現像剤担持体の表面に担持して潜像担持体と対向する現像領域へ搬送し、前記現像剤担持体に現像バイアスを印加して前記現像領域に前記潜像担持体の前記潜像へトナーを移動させる現像電界を形成する現像装置と、前記現像剤収容部内における現像剤中のトナー濃度を検知するトナー濃度検知手段と、前記現像装置へトナーを補給するトナー補給手段と、前記トナー濃度検知手段の検知結果に基づいて、前記現像剤収容部内における現像剤中のトナー濃度が目標トナー濃度となるように前記トナー補給手段を制御するトナー補給制御手段とを備え、前記現像装置により前記潜像を現像して得られるトナー像を、最終的に記録材へ転写して画像を形成する画像形成装置において、特定のタイミングで、前記トナー補給手段によるトナー補給を停止した状態で前記記録材に転写する画像を形成するトナー補給禁止画像形成制御を実施し、前記トナー補給禁止画像形成制御時は、前記トナー濃度検知手段の検知結果に基づいて、前記現像バイアス、前記帯電バイアスおよびよび前記露光装置により前記潜像担持体表面を露光するときの露光量を設定し、前記トナー濃度検知手段の検知結果が、前記現像装置内の現像剤中のトナー濃度が前記目標トナー濃度も低く設定された規定トナー濃度以下、または、前記帯電バイアス、前記現像バイアスおよび前記露光量のうちの一つが上限値以上となったら、前記トナー補給禁止画像形成制御を終了することを特徴とするものである。
【発明の効果】
【0006】
本発明によれば、廃トナー容器の交換頻度を下げることができる。
【図面の簡単な説明】
【0007】
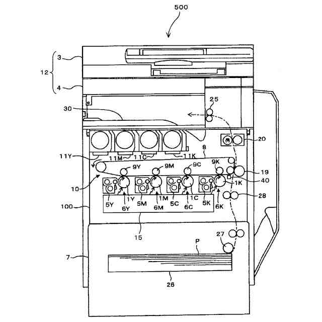
複写機の概略構成図。
本発明を適用可能な四つの作像ユニットのうちの一つの拡大説明図。
中間転写ベルト上の画質調整用パターンを説明する模式図。
印刷動作と平行して画像調整を行う場合の中間転写ベルトに形成される画質調整用パターンの一例を示す模式図。
トナー補給装置にトナーボトルが設置された状態を示す模式図。
実施形態に係る複写機の機能ブロック図。
従来実施されているトナーリフレッシュ制御の制御フロー図。
本実施形態の制御フロー図。
現像装置内のトナー濃度と現像能力の関係を示すグラフ。
画像濃度と現像バイアスとの関係を示す図。
(a)は、低温低湿環境のときの画像に不具合が生じないトナー濃度と現像バイアスとの条件を示すグラフであり、(b)は、高温高湿環境のときの画像に不具合が生じないトナー濃度と現像バイアスとの条件を示すグラフ
図8に示す制御フロー図で転写紙に転写する作像を行ったときの現像装置内のトナー濃度の変化示すグラフ。
【発明を実施するための形態】
【0008】
以下に、本発明を実施するための最良の形態を図面に基づいて説明する。なお、いわゆる当業者は特許請求の範囲内における本発明を変更・修正をして他の実施形態をなすことは容易であり、これらの変更・修正はこの特許請求の範囲に含まれるものである。以下の説明はこの発明における最良の形態の例であって、この特許請求の範囲を限定するものではない。
【0009】
以下、本発明を適用可能な画像形成装置としてのタンデム型カラー複写機(以下、複写機500という)の実施形態について説明する。図1は、複写機500の概略構成図である。複写機500は、画像形成装置の本体部としてのプリンタ部100の上方に、画像読取部12を備え、プリンタ部100の下方に給紙部7を備える。画像読取部12は、原稿読込部4及び原稿搬送部3を備え、原稿搬送部3は、原稿読込部4に原稿を搬送し、原稿読込部4は搬送されてきた原稿の画像情報を読み込む。給紙部7は、記録媒体である転写紙Pが収容される給紙カセット26、給紙カセット26内の転写紙Pをプリンタ部100に向けて送り出す給紙ローラ27を備える。図1中の一点鎖線は、複写機500内での転写紙Pの搬送経路を示す。
【0010】
プリンタ部100の上部は、出力画像が形成された転写紙Pが積載される排紙トレイ30となっている。プリンタ部100は、各色(イエロー、マゼンタ、シアン、ブラック)のトナー像を形成する作像部としての四つの作像ユニット6(Y,M,C,K)と、中間転写ユニット10とを備える。各作像ユニット6(Y,M,C,K)は、各色トナー像が形成される像担持体としてのドラム状の感光体1(Y,M,C,K)、各感光体1(Y,M,C,K)の表面上に静電潜像を書き込む露光装置などの書き込み部15、および、各感光体1(Y,M,C,K)の表面上に静電潜像を現像する現像装置5(Y,M,C,K)を備える。
(【0011】以降は省略されています)
この特許をJ-PlatPat(特許庁公式サイト)で参照する
関連特許
株式会社リコー
移動体
23日前
株式会社リコー
画像形成装置
4日前
株式会社リコー
画像形成装置
1日前
株式会社リコー
画像形成装置
1日前
株式会社リコー
画像形成装置
9日前
株式会社リコー
機器及び異常判定方法
9日前
株式会社リコー
画像形成装置及びシステム
7日前
株式会社リコー
延長トレイ及び画像形成装置
4日前
株式会社リコー
定着装置、及び画像形成装置
9日前
株式会社リコー
画像読取装置及び画像読取方法
3日前
株式会社リコー
表示装置、切替方法、プログラム
14日前
株式会社リコー
媒体処理装置及び画像形成システム
4日前
株式会社リコー
樹脂粒子、及び樹脂粒子の製造方法
1日前
株式会社リコー
読取装置、読取方法およびプログラム
4日前
株式会社リコー
通信端末、通信方法、及びプログラム
7日前
株式会社リコー
シート給送装置及び画像形成システム
10日前
株式会社リコー
加熱装置、定着装置及び画像形成装置
8日前
株式会社リコー
通信装置、通信方法、及びプログラム
7日前
株式会社リコー
光源装置、画像投影装置および調整方法
14日前
株式会社リコー
ノード、データ共有方法、及びプログラム
21日前
株式会社リコー
通信装置、状態制御方法、及びプログラム
10日前
株式会社リコー
画像形成装置、情報処理方法及びプログラム
7日前
株式会社リコー
画像形成装置、及び、プロセスカートリッジ
14日前
株式会社リコー
画像形成装置、画像処理方法およびプログラム
2日前
株式会社リコー
画像読取装置、画像判定方法およびプログラム
7日前
株式会社リコー
画像形成装置、情報処理方法およびプログラム
8日前
株式会社リコー
モノクロ用光走査装置及びモノクロ画像形成装置
7日前
株式会社リコー
表示装置、表示方法、プログラム、表示システム
22日前
株式会社リコー
画像読取装置、用紙斜行防止装置及び画像形成装置
2日前
株式会社リコー
対話装置、対話システム、対話方法及びプログラム
21日前
株式会社リコー
情報処理装置、情報処理システムおよび情報処理方法
21日前
株式会社リコー
情報処理システム、情報処理装置および情報処理方法
21日前
株式会社リコー
電気機器、画像形成装置、制御方法、及びプログラム
17日前
株式会社リコー
情報処理装置、設定システム、プログラム、情報処理方法
1日前
株式会社リコー
情報処理装置、画像形成装置、情報処理方法及びプログラム
1日前
株式会社リコー
障害物検出システム、移動体、プログラムおよび障害物検出方法
28日前
続きを見る
他の特許を見る