TOP
|
特許
|
意匠
|
商標
特許ウォッチ
Twitter
他の特許を見る
10個以上の画像は省略されています。
公開番号
2025165103
公報種別
公開特許公報(A)
公開日
2025-11-04
出願番号
2024068982
出願日
2024-04-22
発明の名称
加熱装置、定着装置、画像形成装置
出願人
株式会社リコー
代理人
個人
,
個人
,
個人
主分類
G03G
15/20 20060101AFI20251027BHJP(写真;映画;光波以外の波を使用する類似技術;電子写真;ホログラフイ)
要約
【課題】本発明では、保持部材の傾きを抑制することを課題とする。
【解決手段】定着ベルト21と、接触式のサーミスタ27と、サーミスタ27を保持するサーミスタホルダ29と、方向Xに延びるハーネス270と、サーミスタホルダ29を介してサーミスタ27を均熱板24の側へ付勢する付勢バネ31と、を備えた定着装置20であって、サーミスタホルダ29は、方向Yに並んで設けられ、方向Zにわたって設けられる一対の支持部29bと、それぞれの支持部29bによって支持され、方向Yにわたって設けられる一対の被支持部29cと、一対の支持部29bおよび一対の被支持部29cによって囲まれ、ハーネス270を配線する配線空間29dとを有し、一対の被支持部29cの間に、方向Xにわたって設けられ、配線空間29dに連通するスリット29hを備えたことを特徴とする。
【選択図】図6
特許請求の範囲
【請求項1】
回転部材と、
接触式の温度検知部材と、
前記温度検知部材を保持する保持部材と、
第1方向に延びる電線と、
前記保持部材を介して前記温度検知部材を被検知部材の側へ付勢する付勢部材と、を備えた加熱装置であって、
前記温度検知部材が付勢される方向およびその反対方向で、前記第1方向に交差する方向を第2方向、前記第1方向に直交する方向で、前記第2方向に交差する方向を第3方向とすると、
前記保持部材は、前記第3方向に並んで設けられ、前記第2方向にわたって設けられる一対の支持部と、それぞれの前記支持部によって支持され、前記第3方向にわたって設けられる一対の被支持部と、一対の前記支持部および一対の前記被支持部によって囲まれ、前記電線を配線する配線空間とを有し、
一対の前記被支持部の間に、前記第1方向にわたって設けられ、前記配線空間に連通するスリットを備えたことを特徴とする加熱装置。
続きを表示(約 650 文字)
【請求項2】
前記スリットの延在方向が、前記第1方向に対して傾斜している請求項1記載の加熱装置。
【請求項3】
前記スリットが蛇行して設けられる請求項1記載の加熱装置。
【請求項4】
前記保持部材に前記付勢部材が取り付けられ、
前記付勢部材を前記保持部材に取り付けない状態で、前記スリットの幅が前記電線の径よりも大きい請求項1記載の加熱装置。
【請求項5】
前記スリットの幅が前記電線の径よりも小さい請求項1記載の加熱装置。
【請求項6】
前記付勢部材はコイルバネであり、
前記保持部材は、前記被支持部に設けられ、前記付勢部材を取り付ける一対の付勢部材取付部を有し、
前記付勢部材を前記付勢部材取付部に取り付けない状態で、前記付勢部材取付部の外径が、前記付勢部材の内径よりも大きく設けられる請求項1記載の加熱装置。
【請求項7】
前記付勢部材を前記付勢部材取付部に取り付けない状態で、前記スリットの幅が前記電線の径よりも大きく、
前記付勢部材を前記付勢部材取付部に取り付けた状態で、前記スリットの幅が前記電線の径よりも小さい請求項6記載の加熱装置。
【請求項8】
請求項1から7いずれか1項に記載の加熱装置を用いて記録媒体を加熱し、記録媒体上の画像を前記記録媒体に定着させる定着装置。
【請求項9】
請求項8記載の定着装置を備えた画像形成装置。
発明の詳細な説明
【技術分野】
【0001】
本発明は、加熱装置、定着装置および画像形成装置に関する。
続きを表示(約 2,800 文字)
【背景技術】
【0002】
加熱装置としての定着装置では、定着ベルト(回転部材)の温度を適切に制御するために、定着装置内の加熱体等に温度検知素子を接触させてその温度を検知する温度検知部材や温度検知部材を保持する保持部材、保持部材を介して温度検知部材を被検知部材側へ付勢する付勢部材などが設けられる。
【0003】
保持部材には、定着装置内の他の温度検知部材に取り付けられる電線などを通すための配線空間が設けられる。
【0004】
このような定着装置として、例えば特許文献1(特開2014-186308号公報)の定着装置は、図43に示すように、温度センサ500を保持するセンサ保持部材501を有する。センサ保持部材501と温度センサ500との間に設けられた付勢部材503の付勢力が、センサ保持部材501を介して温度センサ500を付勢し、温度センサ500をヒータ504に押し当てている。これにより、温度センサ500がヒータ504の温度を検知する。またヒータ504を保持するヒータ保持部材505は、溝形状の位置決め部505a1および505b1が設けられた板状凸部505a、505bを有する。センサ保持部材501が、係合部分501a、501bを位置決め部505a1および505b1に係合させることで、センサ保持部材501の図43の上下方向の位置決めがなされる。温度センサ500のケーブルは、板状凸部505a、505bの間を図43の紙面垂直方向に通される。
【発明の概要】
【発明が解決しようとする課題】
【0005】
配線空間を設ける保持部材の構造によっては、付勢部材による付勢力によって保持部材が傾く。これにより、温度検知部材を被検知部材に正しく当接させることができず、温度検知部材の検知精度が悪化するという問題がある。
【0006】
本発明では、保持部材の傾きを抑制することを課題とする。
【課題を解決するための手段】
【0007】
上記の課題を解決するため、本発明は、回転部材と、接触式の温度検知部材と、前記温度検知部材を保持する保持部材と、第1方向に延びる電線と、前記保持部材を介して前記温度検知部材を被検知部材の側へ付勢する付勢部材と、を備えた加熱装置であって、前記温度検知部材が付勢される方向およびその反対方向で、前記第1方向に交差する方向を第2方向、前記第1方向に直交する方向で、前記第2方向に交差する方向を第3方向とすると、前記保持部材は、前記第3方向に並んで設けられ、前記第2方向にわたって設けられる一対の支持部と、それぞれの前記支持部によって支持され、前記第3方向にわたって設けられる一対の被支持部と、一対の前記支持部および一対の前記被支持部によって囲まれ、前記電線を配線する配線空間とを有し、一対の前記被支持部の間に、前記第1方向にわたって設けられ、前記配線空間に連通するスリットを備えたことを特徴とする。
【発明の効果】
【0008】
本発明では、保持部材の傾きを抑制できる。
【図面の簡単な説明】
【0009】
本発明の第一実施形態に係る画像形成装置の概略構成図である。
本発明の第一実施形態に係る定着装置の概略構成図である。
本発明の第一実施形態に係るヒータの平面図である。
本発明の第一実施形態に係るヒータの温度制御機構のブロック図である。
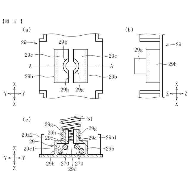
(a)~(c)はサーミスタホルダの特に特にサーミスタを保持する部分を示す図で、(a)図は平面図、(b)図は側面図、(c)図は(a)図のA-A線断面図である。
上記実施形態のサーミスタ、サーミスタホルダ、ヒータホルダを示す断面図である。
上記実施形態のサーミスタを示す図で、(a)図が平面図、(b)図が背面図、(c)図が側面図である。
ヒータホルダの背面側を示す斜視図である。
ヒータホルダにサーミスタを取り付けた状態の背面図である。
サーミスタホルダの斜視図である。
サーミスタホルダをヒータホルダに取り付けた状態の斜視図である。
サーミスタホルダをヒータホルダに取り付けた状態の背面図である。
サーミスタホルダと付勢バネを示す断面図である。
スリットの変形例を示す平面図である。
スリットの別の変形例を示す平面図である。
抵抗発熱体の変形例を示す図である。
抵抗発熱体の他の変形例を示す図である。
弾性層を有しない定着ベルトの断面図である。
本発明を適用可能な他の定着装置の構成を示す図である。
本発明を適用可能な別の定着装置の構成を示す図である。
本発明を適用可能なさらに別の定着装置の構成を示す図である。
本発明を適用可能なさらに別の定着装置の構成を示す図である。
本発明を適用可能なさらに別の定着装置の構成を示す図である。
本発明を適用可能な他の画像形成装置の構成を示す図である。
図24に示される定着装置の構成を示す図である。
図25に示されるヒータの平面図である。
図25に示されるヒータ、均熱板及びヒータホルダの斜視図である。
図25に示されるヒータホルダに対するコネクタの取付方法を示す図である。
図25に示される温度センサの配置を示す図である。
図28に示されるフランジの溝部を示す図である。
均熱板の他の配置例を示す図である。
均熱板のさらに別の配置例を示す図である。
ヒータの拡大分割領域を示す図である。
本発明を適用可能なさらに別の定着装置の構成を示す図である。
図34に示されるヒータ、第一均熱板、第二均熱板、ヒータホルダの斜視図である。
第一均熱板及び第二均熱板の配置を示す図である。
第一均熱板及び第二均熱板の他の配置例を示す図である。
第二均熱板のさらに別の配置例を示す図である。
第一均熱板とヒータホルダとの間に隙間を設けた例を示す図である。
グラフェンの原子結晶構造を示す図である。
グラファイトの原子結晶構造を示す図である。
本発明を適用可能なさらに別の定着装置の構成を示す図である。
従来の定着装置の断面図である。
【発明を実施するための形態】
【0010】
以下、本発明に係る実施の形態について、図面を参照して説明する。なお、各図中、同一又は相当する部分には同一の符号を付しており、その重複説明は適宜に簡略化ないし省略する。以下、本発明の一実施形態に係る加熱装置として、画像形成装置に設けられた定着装置を説明する。
(【0011】以降は省略されています)
この特許をJ-PlatPat(特許庁公式サイト)で参照する
関連特許
株式会社リコー
画像形成装置
今日
株式会社リコー
加熱装置、定着装置、画像形成装置
1日前
株式会社リコー
表示装置、表示方法、プログラム、表示システム
1日前
株式会社リコー
情報処理装置、表示装置、情報処理方法、およびプログラム
今日
株式会社リコー
トナー、現像剤、現像剤収容容器、画像形成方法、及び画像形成装置
今日
株式会社リコー
画像形成装置、画像形成装置の制御方法及び画像形成装置の制御プログラム
1日前
株式会社リコー
評価システム、評価方法およびプログラム
今日
株式会社リコー
トナー、トナー収容ユニット、トナーセット、プロセスカートリッジ、画像形成装置、画像形成方法、及び、転写シート
今日
個人
表示装置
21日前
個人
雨用レンズカバー
19日前
株式会社シグマ
絞りユニット
1か月前
キヤノン株式会社
撮像装置
1か月前
キヤノン株式会社
撮像装置
1か月前
平和精機工業株式会社
雲台
2か月前
キヤノン株式会社
撮像装置
2か月前
キヤノン株式会社
撮像装置
12日前
キヤノン株式会社
撮像装置
12日前
日本精機株式会社
車両用投射装置
27日前
キヤノン株式会社
撮像装置
12日前
株式会社リコー
画像形成装置
9日前
株式会社リコー
画像形成装置
2か月前
株式会社リコー
画像形成装置
6日前
株式会社リコー
画像形成装置
2か月前
株式会社リコー
画像形成装置
1か月前
株式会社リコー
画像形成装置
1か月前
株式会社リコー
画像形成装置
6日前
株式会社リコー
画像形成装置
2か月前
株式会社リコー
画像形成装置
今日
シャープ株式会社
画像形成装置
2か月前
キヤノン株式会社
トナー
2か月前
株式会社オプトル
プロジェクタ
1か月前
キヤノン株式会社
画像形成装置
8日前
キヤノン株式会社
画像形成装置
2か月前
キヤノン株式会社
画像形成装置
22日前
キヤノン株式会社
トナー
1か月前
キヤノン株式会社
トナー
15日前
続きを見る
他の特許を見る