TOP
|
特許
|
意匠
|
商標
特許ウォッチ
Twitter
他の特許を見る
公開番号
2025164864
公報種別
公開特許公報(A)
公開日
2025-10-30
出願番号
2025138176,2021206541
出願日
2025-08-21,2021-12-20
発明の名称
安全装置、および、安全装置を備えた飛行体
出願人
日本化薬株式会社
代理人
個人
主分類
B64U
70/83 20230101AFI20251023BHJP(航空機;飛行;宇宙工学)
要約
【課題】作動時の射出性能の低下を防止できるだけでなく、初期状態における射出物の早期劣化又は破損を防止できる安全装置、および、安全装置を備えた飛行体を提供する。
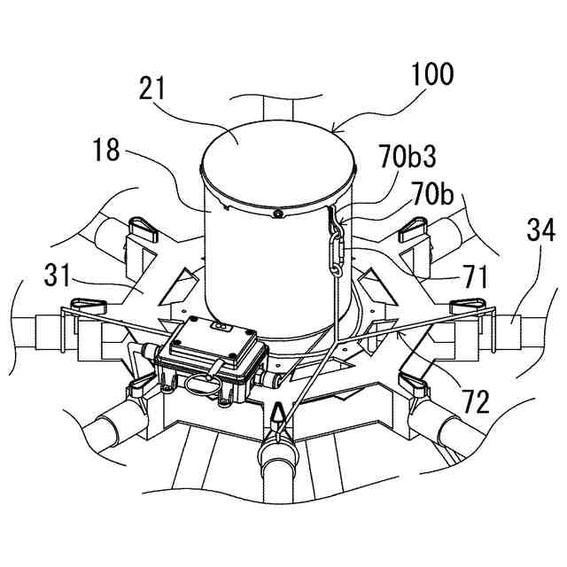
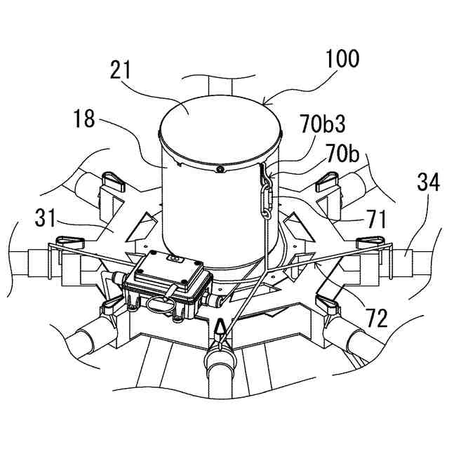
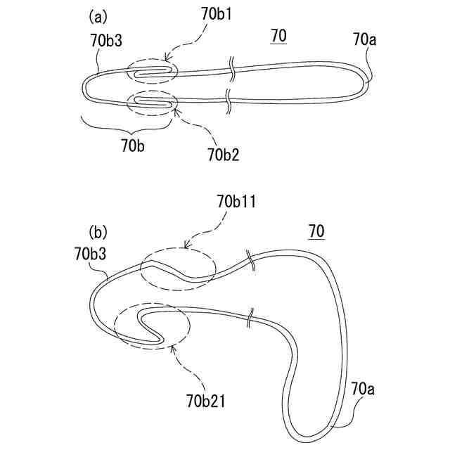
【解決手段】安全装置は、アクチュエータと、アクチュエータにより一方向に押し上げられる押し上げ部材と、押し上げ部材の支持部により支持されつつ押し上げられる射出物と、有底円筒状の収容器と、を備える。収容器は、切り欠き部を有しており、射出物に接続されているラインに連結されたブライドルラインの他端部70bが所定長さ分、切り欠き部から突出している。ブライドルラインの他端部70bの一部には留め部70b1、70b2が設けられ、ブライドルラインの他端部70bが収容器内に入り込むことがないようになっている。安全装置の作動時には、留め部70b1、70b2は解除された状態となる。
【選択図】図6
特許請求の範囲
【請求項1】
射出物を射出する射出部と、
前記射出部と前記射出部を内包する収容器と、
前記射出部に一端が連結されているラインと、
を備え、
前記収容器は、一端部に開口端部が形成されている有底筒状部材を有しており、
前記開口端部の少なくとも一部に切り欠き部が形成されており、
初期状態において、前記ラインの他端が前記切り欠き部を介して前記収容器内部から前記収容器外部に突出するように、前記ラインが配置され、
前記ラインの他端には、前記収容器内部から前記収容器外部に突出している突出部と、前記初期状態において前記収容器内部側に位置するように前記突出部に連設されており、前記ラインの前記突出部以外の部分が前記切り欠き部を介して前記収容器外部に出ることを防止する留め部と、が設けられていることを特徴とする安全装置。
続きを表示(約 490 文字)
【請求項2】
前記留め部が、前記ラインの他端のうち前記収容器内部から前記収容器外部に突出している部分の少なくとも一部を縫製または接着によって仮留めしてなるものであって、
作動時に、前記仮留めが解除されるものであることを特徴とする請求項1に記載の安全装置。
【請求項3】
前記留め部は、前記ラインの他端のうち前記収容器内部から前記収容器外部に突出している部分の少なくとも一部をZ字状に折り曲げた状態で形成されているものであることを特徴とする請求項2に記載の安全装置。
【請求項4】
前記留め部が、前記切り欠き部の幅よりも大きいものであって、前記ラインを挟み込むストッパー部材であることを特徴とする請求項1に記載の安全装置。
【請求項5】
機体と、
前記機体に結合される請求項1~4のいずれか1項に記載の安全装置と、
前記機体に結合され、前記機体を推進させる推進機構と、
前記ラインの他端に一端が連結され、他端が前記機体に連結されている別のラインと、
を備えていることを特徴とする飛行体。
発明の詳細な説明
【技術分野】
【0001】
本発明は、パラシュート又はパラグライダー等の射出物を射出する安全装置、および、当該安全装置を備えた飛行体に関する。
続きを表示(約 1,800 文字)
【背景技術】
【0002】
近年、自律制御技術および飛行制御技術の発展に伴って、例えばドローンと呼ばれる複数の回転翼を備えた飛行体の産業上における利用が加速しつつある。ドローンは、例えば複数の回転翼を同時にバランスよく回転させることによって飛行し、上昇および下降は回転翼の回転数の増減によって行い、前進および後進は回転翼の回転数の増減を介して機体を傾けることによって成し得る。このような飛行体は今後世界的に拡大することが見込まれている。
【0003】
一方で、上記のような飛行体の落下事故のリスクが危険視されており、飛行体の普及の妨げとなっている。こうした落下事故のリスクを低減するために、安全装置として飛行体用パラシュート装置が製品化されつつある。
【0004】
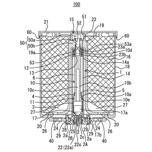
たとえば、上記パラシュート安全装置の一例として、出願人は、下記特許文献1に係る出願を行っている。この特許文献1の安全装置は、下記特許文献1の図1に示されるように、ピストン部材(摺動部材)と、ピストン部材を収容し、作動時に当該ピストン部材が外方に突出するための孔部が設けられたシリンダと、ピストン部材により一方向に押し上げられる押し上げ部材と、押し上げ部材により支持されつつ押し上げられる射出物と、ピストン部材をシリンダ内で移動させるガス発生器と、射出物などを収納する収容器と、を備え、押し上げ部材は、ピストン部材の移動方向における当該ピストン部材の先端を基準としてピストン部材の末端側に配置された支持部を有している。また、押し上げ部材の底部は、ピストン部材の先端部に固定されている。なお、射出物がパラシュートなどであった場合、パラシュートの一端に接続されるラインとよばれる紐状の連結部材の他端は、収容器または飛行体に連結される。
【先行技術文献】
【特許文献】
【0005】
特開2020-1680号公報
【発明の概要】
【発明が解決しようとする課題】
【0006】
特許文献1のような安全装置において、安全装置の収容器を飛行体に固定した後に、飛行体に上記ラインを連結する方が、取り付け作業がしやすい。このとき、さらに飛行体へのラインの取り付け作業をしやすくするために、予めラインの他端を収容器の外側に出しておくことが好ましいが、この場合、ラインの他端を収容器から外側に出す長さを所定の長さに維持しておくことがさらに望まれる。
【0007】
そこで、本発明は、収容器から外側に出すラインの他端の長さを所定の長さに維持できる安全装置、および、当該安全装置を備えた飛行体を提供することを目的とする。
【課題を解決するための手段】
【0008】
(1) 本発明に係る安全装置は、射出物を射出する射出部と、前記射出部と前記射出部を内包する収容器と、前記射出部に一端が連結されているラインと、を備え、前記収容器は、一端部に開口端部が形成されている有底筒状部材を有しており、前記開口端部の少なくとも一部に切り欠き部が形成されており、初期状態において、前記ラインの他端が前記切り欠き部を介して前記収容器内部から前記収容器外部に突出するように、前記ラインが配置され、前記ラインの他端には、前記収容器内部から前記収容器外部に突出している突出部と、前記初期状態において前記収容器内部側に位置するように前記突出部に連設されており、前記ラインの前記突出部以外の部分が前記切り欠き部を介して前記収容器外部に出ることを防止する留め部と、が設けられていることを特徴とする。
【0009】
(2) 上記(1)の安全装置においては、前記留め部が、前記ラインの他端のうち前記収容器内部から前記収容器外部に突出している部分の少なくとも一部を縫製または接着によって仮留めしてなるものであって、作動時に、前記仮留めが解除されるものであることが好ましい。
【0010】
(3) 上記(2)の安全装置においては、前記留め部は、前記ラインの他端のうち前記収容器内部から前記収容器外部に突出している部分の少なくとも一部をZ字状に折り曲げた状態で形成されているものであってもよい。
(【0011】以降は省略されています)
この特許をJ-PlatPat(特許庁公式サイト)で参照する
関連特許
日本化薬株式会社
ガス発生器
23日前
日本化薬株式会社
前処理組成物
22日前
日本化薬株式会社
インク組成物及び捺染方法
22日前
日本化薬株式会社
直鎖ブテン製造用触媒及びその使用
2日前
日本化薬株式会社
アクチュエータ、安全装置、および、飛行体
17日前
日本化薬株式会社
メタクロレイン及び/又はメタクリル酸の製造用触媒
22日前
日本化薬株式会社
画像表示システム及びヘッドアップディスプレイシステム
18日前
日本化薬株式会社
インクジェット捺染用白色顔料インク組成物、及びインクセット
18日前
日本化薬株式会社
インクジェット用インク、インクセット、インクジェット記録方法
18日前
日本化薬株式会社
安全装置、および、安全装置を備えた飛行体
2日前
日本化薬株式会社
縮合多環芳香族化合物、有機半導体材料、光電変換素子用材料、有機薄膜、及び有機光電変換素子
22日前
個人
人工台風
3か月前
個人
ドローン
7か月前
個人
着火ドローン
4か月前
個人
救難消防飛行艇
5か月前
個人
ドローンシステム
9か月前
個人
AERO JET
11日前
東レ株式会社
中空回転翼
4か月前
個人
無人空中移動体
22日前
個人
動力原付きグライダー
1か月前
個人
連続回転可能な飛行機翼
5か月前
個人
導風板付き垂直離着陸機
2か月前
個人
陸海空用の乗り物
6か月前
東レ株式会社
プロペラブレード
4か月前
個人
空飛ぶクルマ
4か月前
東レ株式会社
プロペラブレード
4か月前
東レ株式会社
飛翔体用ブレード
18日前
東レ株式会社
プロペラブレード
4か月前
個人
垂直離着陸機用エンジン改
8か月前
個人
ドローンを自動離着陸する方法
9か月前
個人
ドローン消音装置
11か月前
個人
空中移動システム
10か月前
個人
エアライナー全自動パラシュート
7か月前
トヨタ自動車株式会社
ドローン
7か月前
個人
搬送方法および搬送システム
4か月前
個人
ヘリコプター駆動装置
4か月前
続きを見る
他の特許を見る