TOP
|
特許
|
意匠
|
商標
特許ウォッチ
Twitter
他の特許を見る
公開番号
2025007165
公報種別
公開特許公報(A)
公開日
2025-01-17
出願番号
2023108382
出願日
2023-06-30
発明の名称
飲料サーバー
出願人
サッポロビール株式会社
代理人
個人
,
個人
,
個人
,
個人
主分類
B67D
1/08 20060101AFI20250109BHJP(びん,広口びんまたは類似の容器の開封または密封;液体の取扱い)
要約
【課題】飲料の注出時における泡立ちを抑制するとともに、コストの増大を抑え、構成を簡易にすることができる飲料サーバーを提供する。
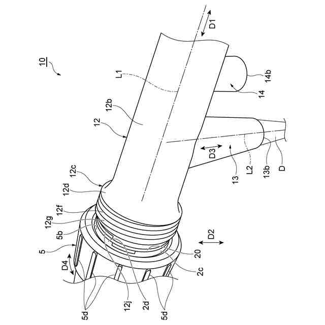
【解決手段】一実施形態に係る飲料サーバーは、飲料を収容する筐体2と、筐体2に取り付けられたカラン10とを備える。カラン10は、筐体2に取り付けられるとともに飲料の注出を操作するための操作レバー11が取り付けられており、筐体2から飲料が供給される筒状のカラン本体12と、カラン本体12から操作レバー11が延びる方向とは反対側に延びており、カラン本体12を通った飲料を注出する筒状の飲料注出ノズル13とを有する。カラン本体12が筐体2に取り付けられている状態において、カラン本体12および筐体2が並ぶ方向に沿って見たときに、飲料注出ノズル13の軸線方向D3が鉛直方向D2に対して傾斜している。
【選択図】図1
特許請求の範囲
【請求項1】
飲料容器に飲料を注出する飲料サーバーであって、
前記飲料を収容する筐体と、
前記筐体に取り付けられたカランと、
を備え、
前記カランは、
前記筐体に取り付けられるとともに前記飲料の注出を操作するための操作レバーが取り付けられており、前記筐体から前記飲料が供給される筒状のカラン本体と、
前記カラン本体から前記操作レバーが延びる方向とは反対側に延びており、前記カラン本体を通った前記飲料を注出する筒状の飲料注出ノズルと、
を有し、
前記カラン本体が前記筐体に取り付けられている状態において、前記カラン本体および前記筐体が並ぶ方向に沿って見たときに、前記飲料注出ノズルの軸線が鉛直方向に対して傾斜している、
飲料サーバー。
続きを表示(約 850 文字)
【請求項2】
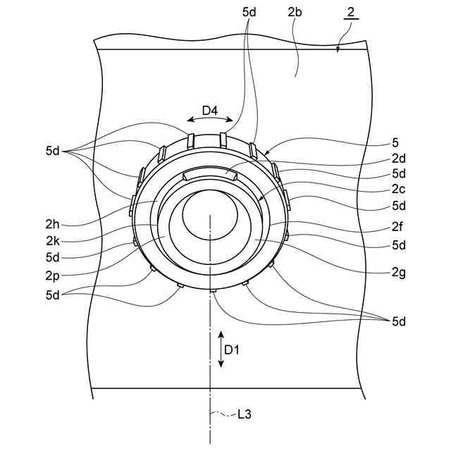
前記筐体および前記カラン本体の間に介在するパッキンを備える、
請求項1に記載の飲料サーバー。
【請求項3】
前記筐体は、第1凹凸部を有し、
前記カラン本体は、前記第1凹凸部に嵌合する第2凹凸部を有し、
前記第1凹凸部に前記第2凹凸部が嵌合したときに、前記カラン本体の軸線を中心とした前記筐体に対する前記カラン本体の回転が規制され、
前記パッキンは、前記第1凹凸部および前記第2凹凸部の間に介在する、
請求項2に記載の飲料サーバー。
【請求項4】
前記筐体は、前記カラン本体の軸線が延びる方向である軸線方向から見たときに前記第1凹凸部を囲むように配置される筒状部材の内側に形成された雌螺子を有し、
前記カラン本体は、前記雌螺子がねじ込まれる雄螺子を有し、
前記カラン本体は、前記筒状部材が前記雄螺子を覆うとともに前記雄螺子に前記雌螺子がねじ込まれることによって前記筐体に取り付けられる、
請求項3に記載の飲料サーバー。
【請求項5】
前記カランは、
前記カラン本体を通った前記飲料の発泡体が通る筒状の発泡体注出ノズルと、
前記発泡体注出ノズルに取り付けられるとともに前記発泡体注出ノズルを通った前記発泡体を注出する注出部材と、
を有し、
前記発泡体注出ノズルに取り付けられた状態において、前記注出部材は、前記飲料容器に向かって下方に延在している、
請求項1または請求項2に記載の飲料サーバー。
【請求項6】
前記注出部材は、前記発泡体注出ノズルに取り付けられる筒状部と、前記筒状部から延びるとともに前記飲料容器の側面に対向するガイド部と、を有し、
前記ガイド部が前記飲料容器の側面に対向することによって前記注出部材に対する前記飲料容器の位置決めがなされる、
請求項5に記載の飲料サーバー。
発明の詳細な説明
【技術分野】
【0001】
本開示は、飲料を注出する飲料サーバーに関する。
続きを表示(約 1,600 文字)
【背景技術】
【0002】
特許文献1には、飲料供給ユニットが記載されている。飲料供給ユニットはビールサーバーを備え、ビールサーバーは箱形形状の本体部とドラフトコックを有する。本体部は、その内部でビールを冷却する。ドラフトコックは、ビールの注出開始および注出停止を操作するレバーと、ビール注出口と、泡注出口とを有する。レバーを左側に倒すとビール注出口からビールが注出され、レバーを右側に倒すと泡注出口から泡が注出される。
【0003】
飲料供給ユニットは、ドラフトコックに取り付けられるとともにドラフトコックからのビールをピッチャーに導く飲料管と、ピッチャーに飲料管を固定する固定クリップとを有する。飲料管はドラフトコックに接続される接続部を有し、接続部は圧入が可能で抜けにくく十分な強度を有する肉厚のパイプ状を呈する。
【0004】
特許文献2には、生ビールディスペンサが記載されている。生ビールディスペンサは、ビール液注出ノズルと、ビール泡注出ノズルと、カップが載せられるカップテーブルと、カップテーブルを昇降させるテーブル昇降装置とを備える。ビール液注出ノズルは、先端がくの字状に屈曲しており、カップの内周側面に接近して向かい合うように配置されている。
【0005】
この生ビールディスペンサでは、カップがカップテーブルに搬出され、テーブル昇降装置の操作によってカップテーブルが待機位置から上昇位置に移動し、この上昇位置でビール液注出ノズルからビール液がカップの内面に注出される。このとき、ビール液注出ノズルの先端とカップ内の液面との間に空間が形成されるので、ノズルがカップ内の液面に浸ることはない。
【0006】
ビール液がカップの内面に注出された後には、テーブル昇降装置の操作によってカップテーブルが中間位置に下降し、この中間位置でビール泡注出ノズルからビール泡がカップの内部に注出される。その後、テーブル昇降装置の操作によってカップテーブルが待機位置に下降する。
【先行技術文献】
【特許文献】
【0007】
特開2022-126912号公報
特開平9-95395号公報
【発明の開示】
【発明が解決しようとする課題】
【0008】
前述した飲料供給ユニットおよび生ビールディスペンサでは、くの字等、飲料注出ノズルが特殊な形状とされている。この場合、特殊な形状の飲料注出ノズルを作製しなければならないので、飲料注出ノズルの作製に高いコストを要することがある。さらに、前述した生ビールディスペンサでは、飲料等の注出時に、カップ等の飲料容器を昇降させるテーブル昇降装置が必要である。したがって、飲料容器を昇降させるための構成が必要であるため、構成を簡易にすることが求められうる。
【0009】
本開示は、飲料の注出時における泡立ちを抑制するとともに、コストの増大を抑え、構成を簡易にすることができる飲料サーバーを提供することを目的とする。
【課題を解決するための手段】
【0010】
(1)本開示に係る飲料サーバーは、飲料容器に飲料を注出する飲料サーバーである。飲料サーバーは、飲料を収容する筐体と、筐体に取り付けられたカランと、を備える。カランは、筐体に取り付けられるとともに飲料の注出を操作するための操作レバーが取り付けられており、筐体から飲料が供給される筒状のカラン本体と、カラン本体から操作レバーが延びる方向とは反対側に延びており、カラン本体を通った飲料を注出する筒状の飲料注出ノズルと、を有する。カラン本体が筐体に取り付けられている状態において、カラン本体および筐体が並ぶ方向に沿って見たときに、飲料注出ノズルの軸線が鉛直方向に対して傾斜している。
(【0011】以降は省略されています)
この特許をJ-PlatPat(特許庁公式サイト)で参照する
関連特許
個人
万能シリコン漏斗。
3か月前
株式会社タツノ
給油装置
1か月前
澁谷工業株式会社
キャッパ
9か月前
株式会社タツノ
給油認証システム
11日前
澁谷工業株式会社
充填装置
5か月前
有限会社ユウアイ
内容物充填装置
1か月前
株式会社サイレック
キャッパー装置
12か月前
靜甲株式会社
キャップの巻締め機構
3か月前
個人
ボトルキャップ用開栓具
10か月前
個人
開封具
4か月前
富士電機株式会社
液体供給装置
11か月前
株式会社青木製作所
タンクローリの配管装置
11か月前
澁谷工業株式会社
キャッピング装置
8か月前
澁谷工業株式会社
キャッピング装置
3か月前
ホシザキ株式会社
飲料供給装置
7か月前
ホシザキ株式会社
飲料供給装置
8か月前
個人
液体注出補助具
3か月前
ホシザキ株式会社
飲料供給装置
8か月前
キリンホールディングス株式会社
飲料注出装置
3か月前
日本クロージャー株式会社
ボトルケース
11か月前
AW・ウォーター株式会社
液体供給装置
12か月前
株式会社吉野工業所
高温充填方法
8か月前
キリンホールディングス株式会社
容器の保管装置
2か月前
靜甲株式会社
キャップ保持機構並びにキャッパー
3か月前
サッポロビール株式会社
カラン
9か月前
アサヒ飲料株式会社
炭酸飲料製造ラインの制御方法
8か月前
澁谷工業株式会社
充填装置の洗浄・殺菌システム
1か月前
富士電機株式会社
飲料供給装置
9か月前
サッポロビール株式会社
飲料サーバー
9か月前
富士電機株式会社
飲料供給装置
3か月前
富士電機株式会社
飲料供給装置
9か月前
サッポロビール株式会社
飲料サーバー
3か月前
富士電機株式会社
飲料供給装置
9か月前
Kyopalab合同会社
詰替装置および詰替方法
1か月前
トキコシステムソリューションズ株式会社
給液装置
6か月前
富士電機株式会社
飲料提供装置
11か月前
続きを見る
他の特許を見る