TOP
|
特許
|
意匠
|
商標
特許ウォッチ
Twitter
他の特許を見る
公開番号
2025102244
公報種別
公開特許公報(A)
公開日
2025-07-08
出願番号
2023219574
出願日
2023-12-26
発明の名称
キャップの巻締め機構
出願人
靜甲株式会社
代理人
個人
主分類
B67B
3/20 20060101AFI20250701BHJP(びん,広口びんまたは類似の容器の開封または密封;液体の取扱い)
要約
【課題】
巻締め不良の発生を抑止し、精度を上げたキャッピングをすることができ、一般的なモータとカムを使用することで安価に機構を構成することができ、既存のメカ的なキャッピングの装置に搭載することも容易な伽キャップの巻締め機構を提供すること。
【解決手段】
チャック開閉機構4を、把持したキャップCを容器Bの口元部に巻締めるための駆動中、下降するキャッピングヘッド1に保持されたキャップCのねじ山が容器Bのねじ山と接触する直前高さまで下降したときに、一旦、チャック5を開いて把持しているキャップCを開放し、その後、下降するキャッピングヘッド1のキャップ押圧体16により下方へ押圧されたキャップCのねじ山が容器Bのねじ山を越えたところで、再び、チャック5を閉じてキャップCを把持するように、チャック5の開閉を調整するように構成する。
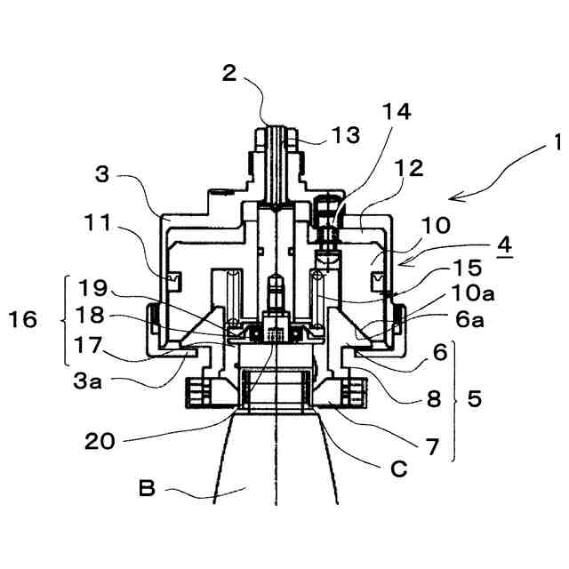
【選択図】 図1
特許請求の範囲
【請求項1】
把持したキャップを容器の口元部に巻締めるキャップの巻締め機構であって、
回転自在及び昇降自在に垂設された回転軸に固定されたヘッドケース内に配設され、チャック開閉機構の駆動によりキャップを把持し、あるいは、把持を開放するように移動可能とされたチャックと、
把持したキャップの上部に接触する下方回転盤と、前記下方回転盤とベアリングを介して配設された上方回転盤との一対とされ、前記ヘッドケース内に延出する回転軸の下端に連結されて、常には共に前記回転軸の回転駆動によって回転するキャップ押圧体と
を有するキャッピングヘッドを備え、
前記チャック開閉機構は、把持したキャップを容器の口元部に巻締めるための駆動中、下降するキャッピングヘッドに保持されたキャップのねじ山が容器のねじ山と接触する直前高さまでキャッピングヘッドが下降したときに、一旦、チャックを開いて把持しているキャップを開放し、その後、下降するキャッピングヘッドのキャップ押圧体により下方へ押圧されたキャップのねじ山が容器のねじ山を越えた高さまでキャッピングヘッドが下降したところで、再び、チャックを閉じてキャップを把持するように、チャックの開閉が調整されていることを特徴とするキャップの巻締め機構。
発明の詳細な説明
【技術分野】
【0001】
本発明は、キャッピングヘッドによって保持されたキャップを容器の口部に巻締めるキャップの巻締め機構に関する。
続きを表示(約 2,400 文字)
【背景技術】
【0002】
以前より、キャップの巻締め機構においては、モータの駆動により常に回転しているヘッド軸に設けられたキャッピングヘッドにキャップを把持させ、キャッピングヘッドを下降させて、内容物の充填済みの容器の口元に巻き締めることがなされている。このようにキャッピングヘッドを回転させながら下降させた状態での巻締めは、キャップに形成されたねじ山の開始点と容器の口元部に形成されたねじ山の開始点とが一致する合致点では、ねじ山の開始点同士の噛み合い不良(通称、バッティング)が発生しやすく、結果、容器に対して斜めにキャップが装着されるなどの正常な巻き締めが得られないトラブルが起こり易かった。
【0003】
特に、マヨネーズボトルのような軟質容器は容器自体に剛性がないことや、内容物がある程度高温であるような場合にキャップを巻締める際に容器が座屈し、ヘッド軸の進退方向に位置させた容器の口元部が傾いてしまうことなど原因として、前述の噛み合い不良が生じることが多くなる。また、軟質容器の口元部に内蓋としてアルミ箔のシール部材が貼設されているような場合には、そのシール部材の一部(矩形状のシール部材の角など)がねじ山の合致点に被さって、前述の噛み合い不良の原因となることもある。
【0004】
その対策として、近年はサーボモータをヘッド軸に搭載し、キャッピングヘッドに作用するトルクの監視などによりねじ山同士の合致点を検出するまでは逆回転を行い、ねじ山同士が合致点を超えたところで正転に切り替えて、キャップに形成されたねじ山の開始点と、容器の口元部に形成されたねじ山の開始点との噛み合わせがスムーズに行われるように、ヘッド軸の回転、すなわち、キャップの回転を制御することが行われている(特許文献1参照)。
【先行技術文献】
【特許文献】
【0005】
特開2014-37272号公報
【発明の概要】
【発明が解決しようとする課題】
【0006】
しかしながら、サーボモータ、トルク検出手段などの個々の機器はヘッド軸毎に必要であるため、これらを備える機構は高価なものとなる。また、配設のためのスペースや作業も要する為、特に、複数本のヘッド軸を搭載するロータリー式の巻締め装置などにおいては、その技術の採択を躊躇する原因ともなっていた。
【0007】
本発明は、このような問題点に鑑みてなされたものであり、高価なサーボモータや、配設スペースと作業を要する個々の機器とを削減し、メカ的な機構を採用することで、キャップに形成されたねじ山の開始点と容器の口元部に形成されたねじ山の開始点とをスムースに噛み合わせて、トラブルのない巻締めを行うことのできるキャップ巻き締め機構並びに巻締め方法を提供することを目的とする。
【課題を解決するための手段】
【0008】
前述した目的を達成するため、本発明のキャップ巻締め機構は、把持したキャップを容器の口元部に巻締めるキャップの巻締め機構であって、回転自在及び昇降自在に垂設された回転軸に固定されたヘッドケース内に配設され、チャック開閉機構の駆動によりキャップを把持し、あるいは、把持を開放するように移動可能とされたチャックと、把持したキャップの上部に接触する下方回転盤と、前記下方回転盤とベアリングを介して配設された上方回転盤との一対とされ、前記ヘッドケース内に延出する回転軸の下端に連結されて、常には共に前記回転軸の回転駆動によって回転するキャップ押圧体とを有するキャッピングヘッドを備え、前記チャック開閉機構は、把持したキャップを容器の口元部に巻締めるための駆動中、下降するキャッピングヘッドに保持されたキャップのねじ山が容器のねじ山と接触する直前高さまで下降したときに、一旦、チャックを開いて把持しているキャップを開放し、その後、下降するキャッピングヘッドのキャップ押圧体により下方へ押圧されたキャップのねじ山が容器のねじ山を越えた高さまで下降したところで、再び、チャックを閉じてキャップを把持するように、チャックの開閉が調整されていることを特徴とする。
【0009】
本発明のように、前記チャック開閉機構によりチャックの開閉が調整されるキャップ巻締め機構によれば、下降するキャッピングヘッドに保持されたキャップのねじ山が容器のねじ山と接触する際、チャックが開いており、しかも、キャップのねじ山と容器のねじ山との接触により発生する負荷(抵抗)と、キャップの上面に面接触しているキャップ押圧体の下方回転盤と上方回転盤との間にベアリングが配設されていることによって、キャップには回転軸の回転力が伝達されない。このキャップが無回転の状態において、キャッピングヘッドを下降させ、キャップ押圧体によりキャップを下方へ押圧してキャップのねじ山が容器のねじ山を越えさせたら、チャックを閉じてキャップを把持する。把持されたキャップには、チャックとキャップ押圧体とを介して回転軸の回転力が伝達されるので、所望のトルクの巻締めを施すことができる。
【発明の効果】
【0010】
上述の様に、本発明のキャップ巻締め機構によれば、回転軸の駆動中に、メカ的な機構でキャップの回転を一旦停止させ、キャップに形成されたねじ山の開始点と容器の口元部に形成されたねじ山の開始点とを噛合不良が生じにくい状態で嵌合させた後にキャップの巻締めを行うので、巻締め不良の発生を抑止し、精度を上げたキャッピングをすることができる。また、サーボモータのような高価な部品を使用せずに、一般的なモータとカムを使用することで安価に機構を構成することができ、既存のメカ的なキャッピングの装置に搭載することも容易である。
【図面の簡単な説明】
(【0011】以降は省略されています)
この特許をJ-PlatPat(特許庁公式サイト)で参照する
関連特許
靜甲株式会社
容器整列装置
1か月前
靜甲株式会社
容器搬送装置
1か月前
靜甲株式会社
容器整列装置
2か月前
靜甲株式会社
高圧損発生ユニット並びに充填装置
1か月前
靜甲株式会社
キャップ保持機構並びにキャッパー
3か月前
靜甲株式会社
モデル画像登録方法、画像処理方法、並びに、容器搬送装置
4日前
個人
万能シリコン漏斗。
3か月前
株式会社タツノ
給油装置
1か月前
澁谷工業株式会社
キャッパ
8か月前
株式会社タツノ
給油認証システム
10日前
澁谷工業株式会社
充填装置
5か月前
有限会社ユウアイ
内容物充填装置
1か月前
株式会社サイレック
キャッパー装置
12か月前
靜甲株式会社
キャップの巻締め機構
3か月前
個人
ボトルキャップ用開栓具
10か月前
個人
開封具
4か月前
富士電機株式会社
液体供給装置
11か月前
株式会社青木製作所
タンクローリの配管装置
11か月前
澁谷工業株式会社
キャッピング装置
8か月前
澁谷工業株式会社
キャッピング装置
3か月前
ホシザキ株式会社
飲料供給装置
7か月前
ホシザキ株式会社
飲料供給装置
8か月前
個人
液体注出補助具
3か月前
ホシザキ株式会社
飲料供給装置
8か月前
キリンホールディングス株式会社
飲料注出装置
3か月前
日本クロージャー株式会社
ボトルケース
11か月前
AW・ウォーター株式会社
液体供給装置
12か月前
株式会社吉野工業所
高温充填方法
8か月前
キリンホールディングス株式会社
容器の保管装置
2か月前
靜甲株式会社
キャップ保持機構並びにキャッパー
3か月前
サッポロビール株式会社
カラン
9か月前
アサヒ飲料株式会社
炭酸飲料製造ラインの制御方法
8か月前
澁谷工業株式会社
充填装置の洗浄・殺菌システム
1か月前
富士電機株式会社
飲料供給装置
8か月前
サッポロビール株式会社
飲料サーバー
8か月前
富士電機株式会社
飲料供給装置
3か月前
続きを見る
他の特許を見る